
感觉,丰田对电车的理解,多少是 有点问题 。基本上他们每一次公布和电车有关的专利或者设计,都会被大伙 当成笑话 来看。。。
就比如,新势力电车上常见的 对外放电功能, 在丰田的车上是这个画风的。

想在车外用电?easy ,只需要从车里接一个 插线板 出来就好了呢!别说,脖子哥上大学的时候给小电驴充电,就是从宿舍里飞一个插线板到楼下,就是突出一个朴素的违规。
给充电口做一个 对外放电 功能很难吗喂!

再比如,丰田自家的电车 “ 验证码 ” bz4x 因为 续航不太理想 所以老被吐槽,因此他们前一阵针对这个问题搞了一次 OTA 更新 。你以为内容是 通过 BMS 策略的调整优化充放电逻辑 ?不。
是把 每天两次的快充限制提升到四次 !

掉电快? 多充就完事了 !好一个解除封印,快充次数增加会 影响电池寿命是只字未提啊 。。。
还有这个需要花 两万 选装的太阳能充电板,一年算下来,竟然能省 三百多块 的电费呢!

也就是说你得开上 51 年才能把选装的钱省回来,真就 “ 一车传三代,人走车还在 ” 呗。。。
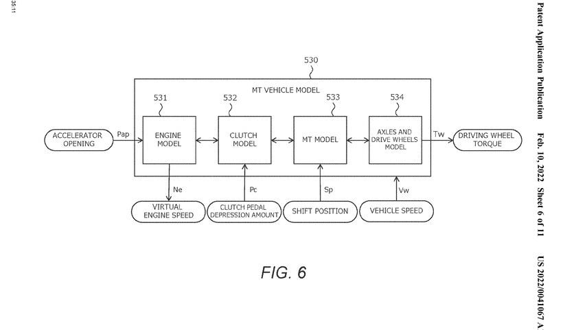
而就在最近,丰田为了让他们的混动车型 开着更有乐趣, 甚至搞出了个 混动车型的手动变速箱 。

原理呢,就是往自家的 THS 混动里加了个手挡的 离合器 ,不仅可以 切断发动机的动力传输 ,还能 绕过电控, 让驾驶员 控制车辆的动力输出 。

而用上这玩意以后,大概率会让混动车型 变得不那么省油 。因为混动省油,靠的是让发动机的转速 保持在效率最高的区间 。这事要让驾驶员自己定, 效率肯定没有电控来得高 。

所以说白了,这个混动手波就是 牺牲了效率,换来了乐趣 。
不过仔细想想,这玩意也不算特别离谱。毕竟像是 GR 雅力士和 GR86 上的手挡,也是公认的 顶级手感 。混动版本会有什么样的体验,我还真挺期待。

相比之下, 给电车做手动挡 这件事,就显得有些抽象了。
因为电车的一大特点,就是 tm 不需要变速箱也能输出峰值扭矩。可丰田在去年早些时候,愣是整了个 给纯电动车装手动变速箱 的专利。。

和混动版本不一样的是,纯电版本并 没有离合器的结构 , 只是通过电信号模拟出几个档位 。说白了,这个专利就和 电子表还得用旋钮调虚拟指针 一样,纯纯就是 图一乐 。
这还不是槽点最多的部分。为了让这个手动挡用起来真像个真家伙,丰田还想出了一系列 放眼整个车圈都极其炸裂 的点子。
就比如,油车上的手动变速箱,本质上就是通过不同的档位在 有动力 和 跑得快 之间做选择。 档位越高,在相同转速下车子就跑得越快,但力气越小。 反之亦然。

电机则不太一样,只要电压给足,它从一开始就可以输出 最高的扭矩 。当车速越来越快,在达到某个临界值后,扭矩会慢慢下降。也就是 前一段时间里贼有力,而后突然就泄了。
这也是电车 加速巨快但后劲不足 的最大原因。

乍一看,这功率曲线和手动挡 八竿子打不着。 所以在电机上硬加手挡肯定是行不通的。
于是,丰田就想出了一个鬼点子,那就是 通过控制电机的输入电压来控制电机的扭矩 , 模拟 出手挡的感觉。
也就是 故意不让电机达到最大扭矩, 像这样:

你别说,确实 和手动挡的曲线非常像啊。 。。
动力怎么输出的问题解决了,那手挡的另一个灵魂: 离合踏板 要咋办呢?
丰田的鬼才工程师此时再次上线,直接透过现象看到了本质。咱是不是在踩下离合踏板的时候踩油门车也不会走,那就是相当于 踩离合 = 车子没动力 。既然是这样,就只要做一个假离合踏板,然后在踩它的时候, 让电机没有动力好了!

只有在 踩下假离合、完成换挡、抬起假离合 以后,电机才会在不同档位的扭矩范围内工作。。。
这脑回路,直接给我干沉默了。。。 绝,真的绝。 不过,虽说想法非常 genius ,但脖子哥问了一圈身边的手挡车主,他们似乎都对这玩意 不太感冒 。其中一个老哥是这么说的:
“ 手波迷人的前提, 是能闻着汽油味 。 ”
想想也是,当我们在山上开着手挡车开心过弯时,最让人享受的部分其实 不是换挡本身 ,而是能听见爱车的发动机 在每个档位下不同的声音 ,能感受 每一次换挡顿挫以后性能的变化 ,甚至像降档补油这种小动作,都充满了乐趣。
说白了,开手动挡车,是一种能够感受到 爱车完全受到自己控制的 、 多感官的愉悦 。

可电车手波呢, 除了有换挡的动作,别的都没法实现 。甚至每次换挡,还得 限制电机的功率 。
而手挡最初,就是为了最大化发动机出力才诞生的,简单粗暴的给电车加上手波,不仅有种 只学到表面的可笑 ,更有种 舍本逐末 的别扭感。
所以,想让油车的乐趣延续固然是好事,但当电车*党**、油车*党**和手波*党**看了都沉默以后,我建议电车手波这玩意,丰田还是 再研究研究 吧。

看完这么多骚操作,脖子哥觉得,丰田对电车的理解,好像是一种 两眼一摸瞎,啥都乱搞 的状态。
可按理来说,丰田可是能够做出 LFA 、 LC500h 这种顶级汽车 的传统豪门啊,怎么就在电车这件事情上, 看得还没有国内大部分新势力品牌清楚呢 ?
我觉得主要原因,是丰田真的 急了, 急到只能用这些怪诞的设计来博人眼球了。丰田为啥要急?原因之一,是他从一开始就 赌错了。
一开始,丰田对新能源汽车的押宝是 氢燃料电池 ,并想借着自己起步早的优势成为领头羊。有一说一,他们在这方面也确实牛逼,牛逼到已经有 Mirai 这样的量产车型落地。
但可惜,因为发展氢燃料需要的基建成本太高,且车辆的碰撞安全性较低,除了霓虹以外,其他国家都选择了 锂离子电池作为发展方向 ,供应链也都是朝着这个路线发展。

这时候的丰田,就和 在高速路上逆行 差不多了。就算后来反应过来想和大家一块做锂电车,可最后出来的成果大家也都能看见,简直就是 临时抱佛脚,临时抱佛脚。。。

可让丰田更急的,是他们的电车 被自家的油车拖了后腿。 而这,也是 大部分油车巨人 正在面临的问题。
在电车发展以前,油车内卷到最后其实拼的就是谁能用更小的排量做出更高的性能,也就是在卷 热效率和经济性 。但在电车铺开以后,一夜之间就有无数 性能贼强但能耗贼低 的车型出现,油车卷了好几年的瓶颈,一下就被突破了。
10-20 万价位的家用车,直接就是一个变天。巧的是, 丰田的主战场 也在这。
这时候,那些油车底子薄的自主品牌和新势力们,很容易就能重新起号主攻电车。但像丰田这样的油车巨头,如果猛的一下推出啥啥都比油车好的电车,那就相当于是把自己经营了数十年的油车帝国 推向了生死边缘 。

所以不只是丰田,像 BBA 等车企,对待电车的产品线,无论是造型、性能还是价格,都会 刻意和油车保持一定的相似性 。不信大家可以去看看各家媒体对他们有车的测评,最多的评价就是,
开着很有油车的感觉。 所以说到底,他们就是想 逃避电车领域的直接竞争。
然而现在已经有迹象表明,这只是没啥作用的 缓兵之计 罢了。因为在去年全球卖的最好的汽车里,头几名中已经出现了 特斯拉 的身影。结合前一阵南北大众的国内销量首次被 比亚迪 超过,那些看似不可一世的油车巨人们,
现在已经站的不太稳了 。而留给他们的时间,大概率也确实不多了。

所以,听脖子哥一句劝。放弃昔日的荣光,放弃用油改电偷换概念,用 壮士断腕 的决心和新势力们好好打一仗。
不然,以后可能就只能在电车手波这种 乐子专利 的新闻里,看见你们的身影了。