精华
什么可能导致深圳赛格大厦晃动?我们可以从两个方面下手分析:外力(如地震、风等)或内在原因(结构破坏、荷载增加等)。但据现场反馈消息,当日深圳地区没有发生地震,可以排除;而大厦已经建成20余年,经受过台风吹袭,当日深圳微风,基本可以排除风荷载变动因素。利用排除法,赛格大厦的晃动极有可能出现在内部。
赛格大厦基本情况
建造位置:深南大道与华强北路交口
设计单位:主体工程由深圳华艺(香港)设计顾问有限公司设计
施工单位:中国建筑第二工程局有限公司南方建筑公司总承包
占地面积:9653平方米
建筑面积:16.4万平方米
开工日期:1996年1月桩基工程开工,1997年1月土建工程开工
竣工日期:1999年底
设计规模:地上72层,主体高291.6米,含顶部铁架高353.8米,地下4层,开挖深度21米
结构特点:钢管混凝土及型钢组合梁框架结构,在同期同类工程中建筑高度世界第一
获奖情况:获2002年国家科技进步二等奖

赛格大厦场地地质和基础情况
场地基岩分布起伏较大,东北深、西南浅,燕山期花岗岩微风化基岩埋深最低点约45米。场地范围无大断层和破碎带。地下水位约0.5~2.0米(自然地面下)。
基础全部采用桩基(人工挖孔灌注桩),主塔楼桩端落在微风化基岩上,嵌入0.5米;裙房桩端落在中风化基岩上,嵌入0.5米。
这样看地基和基础设计和施工不存在明显缺陷或隐患。

赛格大厦地震作用及风荷载
大厦设计地震基本设防烈度为7度。当日无地震报告。
设计基本风压0.77千牛/平方米,折合成风力等级约12级飓风,高于当时标准要求的0.55千牛/平方米。当日微风约3~5级。
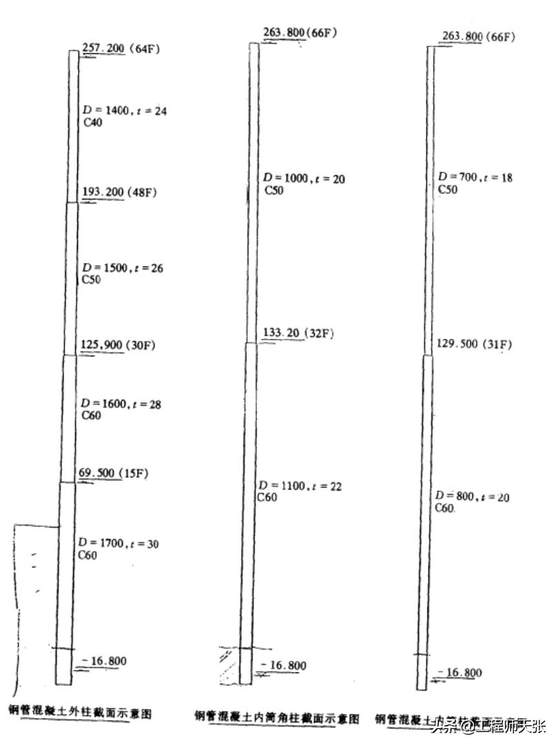
赛格大厦钢管混凝土结构
钢管混凝土就是把混凝土灌入钢管中并捣实以加大钢管的强度和刚度。既节省了钢材,还能减轻整体结构的重量。所用钢管柱最大直径1.6米,最小直径0.8米,最大壁厚28毫米,最小壁厚12毫米。赛格大厦结构、钢管混凝土断面及壁厚沿高度变化如下图所示。


塔楼分别在19层、34层、49层、64层和屋顶层设置了加强层,加强层在核心筒与外框柱之间,每边设置4榀钢桁架,并在周边柱之间设置周边桁架,增强了塔楼外框架和核心筒共同作用的性能。

不可忽视的重要消息
据赛格大厦的设计人陈世民回忆,最初设计时赛格大厦主体楼有78层,后因投资和时间关系减掉了6层,变成了现在的72层。赛格大厦最初设计的塔尖是60米,在1999年塔尖装上之后,陈世民坐在位于赛格大厦旁的电子科技大厦31楼的办公室里,突然发现塔尖在晃动,肉眼看得很清楚,他吓得不行,赶紧跑过去看。他说,其实这只是结构共振现象,并没有什么特别原因。此时工人们都已下班,只好打电话给吊装的人,由他们锯掉20米,只剩下40米。锯掉以后,第二天再看,塔尖就不晃了。

推测
我们没有查到赛格大厦是否设置了阻尼器,通过以上有限的信息,我们大胆推测大楼产生晃动的可能原因,要么在脚底下,要么在头顶上,比如:
(1)当日大楼附近地下有施工扰动地基,形成共振。
(2)楼顶铁架异常,带动大楼晃动。
(3)假如大楼靠上部的楼层中安装了阻尼器,如果阻尼器故障,导致楼体正常晃动不能被抵消,从而产生晃动。有关大楼阻尼器的相关知识,可以移步视频摩天大楼阻尼器查阅。

大楼抗震神器:阻尼器
不管怎样,请大家不要过度慌张,耐心等待专家调查结果。
关注@工程师天张,为你解读热点新闻背后的科学知识。
#全能创作家##科学燃计划##21图文打卡挑战##深圳赛格大厦摇晃#