
柱塞泵

柱塞泵的基本工作原理
是靠活塞的往复运动提供动力,轴驱动斜盘,斜盘驱动柱塞,轴通常是由动力源如电机等驱动。柱塞泵是变量泵,多用于高精度高压控制,柱塞泵,工作压力高,其工作压力一般为20~40MPa,最高可达1000MPa;

结构紧凑;效率高及流量调节方便等优点。柱塞泵压力高,性能稳定,成本高,脉动最小,可以变量,常用在高压系统和工程机械上。但它的自吸性能最差。

比如挖掘机主泵采用的一般都是双泵,额定压力为34MPA,瞬间最高压力可达39MPA。之所以柱塞泵的泵油压力比齿轮泵更高,是因为其做功和容积效率更高。

目前大量使用的液压挖掘机都采用斜盘式变量轴向柱塞泵。通常都采用双泵,用一根通轴将两个柱塞泵串联在一起,所以也称为通轴泵。使用在挖掘机上的通轴泵还可以再串一个小齿轮泵作为伺服泵(就是先导泵)使挖掘机的部局大为简化。
林德液压的柱塞泵(斜轴结构方式的静液压轴向活塞机)



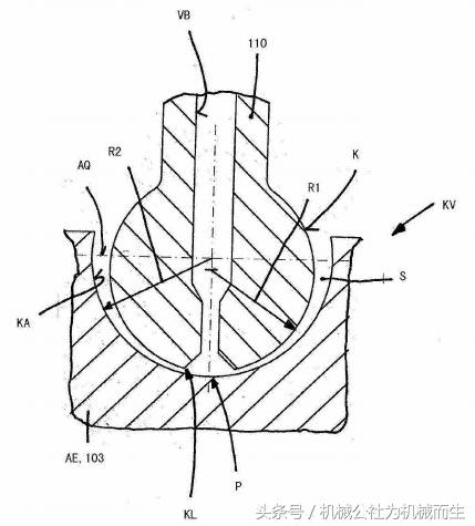
现有的技术 柱塞

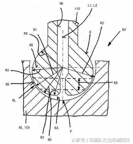
林德的柱塞




隔行如隔山,我是完全没搞懂有什么区别及先进性。你看懂了吗?
【机械公社】致力于提供机械的行业技术 ,为行业人士建立和拓展全技术能力提供技术服务,是机械行业第一个跨屏技术平台、第一个互动应用系统。更多行业技术请关注微 机械公社圈 。
