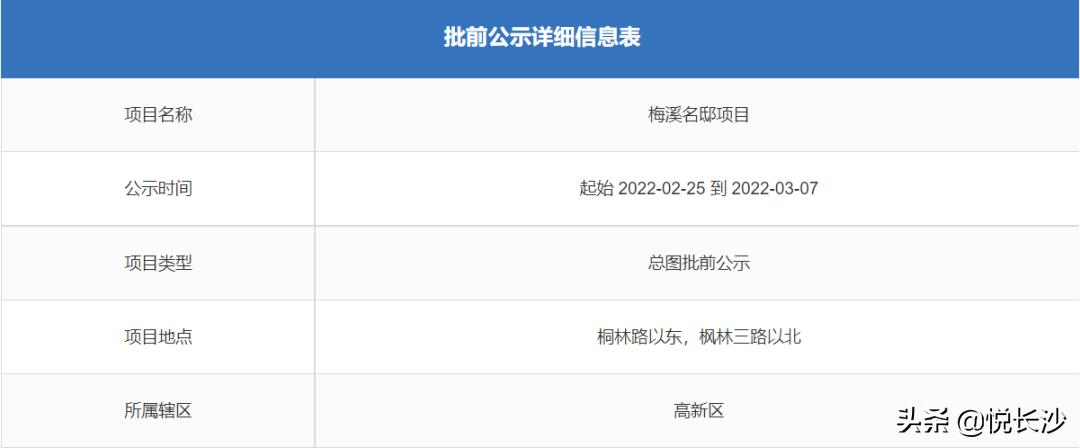
近日, 梅溪名邸 项目批前公示,位于桐林路以东,枫林三路以北。


根据公示,项目总建筑面积为33448.95㎡,容积率为2.9983,建筑密度为23.3585%,容绿地率为39.655%,规划住户158户,停车位175个。
共规划2栋住宅,建面在144㎡以下的户型共有105套,建面在144㎡以上的户型共有53套。

据悉,该项目就是湖南长城投资有限公司此前拿下的[2019]长沙市042号(重新挂牌)地块,纯住宅, 住宅毛坯限价9500元/㎡,成交楼面价约3500元/㎡。
根据地块出让条件,项目建设须符合安居型住宅管理有关要求, 144平方米以下的住宅户型不少于60%,优先首套刚需群体购买; 须配建配套义务教育学校和幼儿园。
项目效果图:


周边有岳麓二小、梅岭公园、金茂览秀城、华润欢乐颂奥特莱斯(在建)、湖南涉外经济学院等配套。
该项目名称带上了梅溪二字,实则是高新区,不在梅溪湖新城的控规范围内,这里可以称之为“大梅溪湖板块”,与之相似的有惠和梅溪峰汇、凯特梅溪紫郡、梅溪盛荟、地华梅溪湖畔、爱家梅溪府、东方红枫林梅溪、山水梅溪雅郡等。
距离梅溪湖挺近,商业、公园等配套还是可以享受到,与梅溪湖项目最大的不同是,他们不是在梅溪湖投资公司、金茂公司、振业公司手里拿的地,不能享受梅溪湖相关的教育配套入学政策。

项目拿地比较早,体量比较小,户型主要以刚需为主。
不过项目限价仅9字头!你觉得这个麓谷纯住宅项目怎么样?!