
在青岛有这样一所大学
它拥有国内大学中最完美的西洋风格建筑群
它是国内极少数拥有独立海上小岛研究中心的大学
它就是—中国海洋大学
中国海洋大学是颜值与实力并存的代表,坐拥中国最美高校TOP10,学校有崂山、鱼山和浮山三个校区,在建中国海洋大学黄岛校区、中国海洋大学深圳研究院、三亚研究生院,设有19个学院,1个基础教学中心。学校已有9个学科进入ESI全球科研机构前1%,居985工程高校第16位;2017年世界大学学术排名中,学校居全球第301-400位。下面小菁实带大家看看齐鲁第二高校——中国海洋大学。
历史延承
学校前身是创办于1924年的私立青岛大学。1930年,在省立山东大学和私立青岛大学基础上成立国立青岛大学。后历经国立山东大学、山东大学时期,1958年山东大学主体迁往济南,以留青的海洋系、水产系、地质系、生物系等为基础,于1959年3月成立山东海洋学院。1960年被国家确定为全国13所重点综合性大学之一。1988年更名为青岛海洋大学。2002年更名为中国海洋大学。

1988年青岛海洋大学校门
中国海洋大学是一所海洋和水产学科特色显著、学科门类齐全的教育部直属重点综合性大学,是国家“985工程”和“211工程”重点建设的高校,2017年9月入选国家“世界一流大学建设高校”(A类)。
教学建设
学校拥有教学和科学考察船舶3艘,包括5000吨级新型深远海综合科考实习船“东方红3”号、3500吨级海洋综合科学考察实习船“东方红2”号、300吨级的“天使1”号科考交通补给船,形成了自近岸、近海至深远海并辐射到极地的海上综合流动实验室系统,具备了一流的海上现场观测能力。

学校是青岛海洋科学与技术试点国家实验室的主要依托单位,主持其中“海洋动力过程与气候”“海洋药物与生物制品”2个功能实验室的工作,作为骨干力量参与其他6个功能实验室的建设。
学科实力
学校地球科学、植物学与动物学、工程技术、化学、材料科学、农学、生物学与生物化学、环境学与生态学、药理学与毒理学9个学科(领域)名列美国ESI全球科研机构排名前1%。获国家技术发明一等奖1项、二等奖3项,自然科学二等奖2项,科技进步二等奖9项;“十二五”以来,主持国家级各类项目1700余项,获省部级科技奖励59项、人文社科奖励68项,被 SCI、EI、ISTP等三大收录系统收录论文22000余篇,申请发明专利2586项,授权发明专利1245项,其中国际发明专利34项。
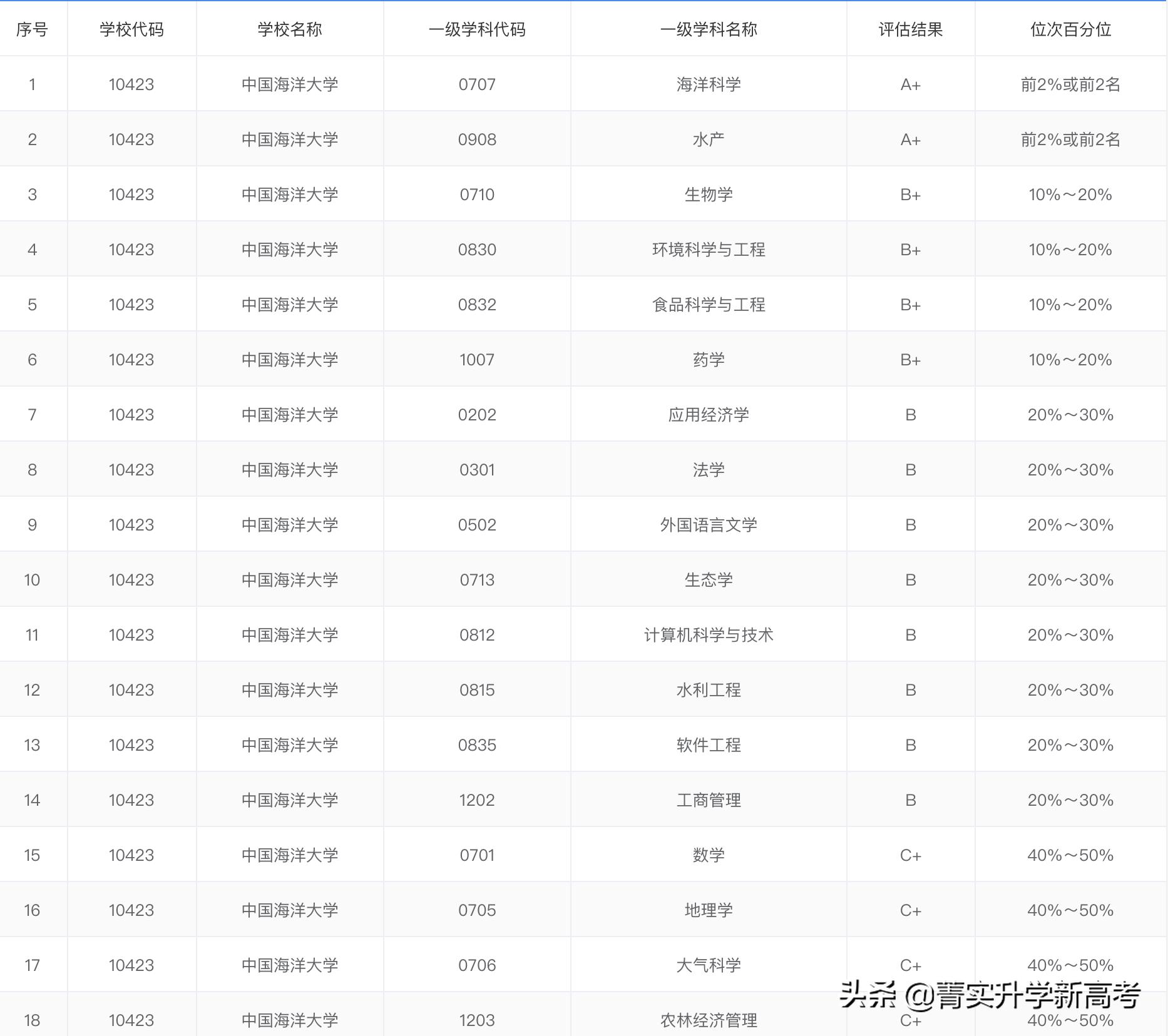
其中,王牌专业是海洋科学、水产,在全国第四轮学科评估中均为A+,这两个专业都与学校的校名非常的契合,所以说这种学校是一种非常有特色学校。除此之外,学校还有多个国家级重点学科,比如,海洋化学,水产养殖,海洋生物学,捕捞学等学科都是国家级重点学科。

数据来源:全国第四轮学科评估结果(最新)

数据来源:全国第四轮学科评估结果(最新)
近三年在鲁录取分数线


2020届保研率17.5%

数据来源:博雅数据库
根据中国海洋大学《关于推荐优秀应届本科毕业生免试攻读2020年研究生工作的通知》:
2020届普通推荐名额共计530人,分配到19个学院。另有不占推荐分配名额的科技竞赛推免生、特殊学术专长推免生和优秀学生标兵,约93个。
22届支教团:19名;国防科技大学补偿计划:8人;上述保研名额共计650人;保研率17.5%。
海大教务处、研究生院公示不全,保研本校人数无法整理。
目前已知保研去向如下:保研北京大学6人(医学部1人),共整理保研清华大学10人,保研中国科学院大学68人,保研*京大南**学21人,保研中国科学技术大学13人,保研中山大学13人,保研山东大学36人。,保研中南大学3人,保研国防科技大学11人,保研上海外国语大学4人,保研北京外国语大学3人,保研华东政法大学5人。
总的来说,中国海洋大学是一所实力非常强的大学,虽然它的整体综合水平并不如山东大学那么好,但是它也是山东实力排名第二的高校。热爱“海洋”,愿意投身科研的你,海大一定是不二选择!