【摘要】直播电商成为热门转型方向,先后入局的教培机构所得如何?

近日,抖音直播电商再添一教培成员。
3月21日晚,职教上市新秀粉笔教育CEO张小龙现身“粉笔优选”直播间的抖音首场直播。当晚共上架46件商品,销售额5万-7.5万元间,场均观看人次4.4万。
在粉笔之前,已经有新东方、好未来、高途等诸多机构加入,直播电商成为热门转型方向,先后入局的教培机构所得如何?
粉笔试水,张小龙“另类带货”
3月20日至 21日,粉笔教育CEO张小龙在其个人微博"张滚龙在熬鸡汤"上先后两次发布了“粉笔优选”的抖音直播预告。而其对自己是否要去露脸的摇摆不定,也引来关注。
3月21日19:00,粉笔优选直播间如期开播,张小龙却未如大家期待一样现身直播间,开场直播的是粉笔公考言语理解名师赵晓曦和主播静仪,本场直播的粮油调味、休闲零食、冲饮、化妆个护、文创周边等品类产品陆续登场。
19分钟后,张小龙出镜,并开启了他个人风格浓烈的“反向带货”——“我觉得你们(指直播间其他主播)讲得不太好,我来讲。我们不要搞饥饿营销那一套。我最讨厌直播带货那种靠低价击穿一切的带货风格,就是那种喊大家赶快买,今天买便宜,但它为什么便宜呢?它的价格、质量到底是不是真的?”

在上线64.9元两盒的饼干时,张小龙“仗义执言”称,“你们少选一点这么贵的品。”
有意思的是,张小龙在途中竟打车回家。而后,在更新了一条“我觉得他们讲得确实不如我好,本来打车回家,走到一半,我打算掉头回去自己去讲,争取再卖个980。”的微博之后,张小龙于20:43再次现身直播间。
再次回归镜头前,张小龙向观众道歉,称其没有盯紧直播带货这个项目,今天的直播设备频频出现状况,观众也没有感觉到粉笔优选的诚意。他也指出,消费还是一件很严肃的事情,但其前面的带货表现并不严肃,“其实我认真备品了,能讲出产品背后的知识。我原本希望粉笔优选做一个知识型的直播间。”
接下来同样波折不断,原本要播到凌晨零点的直播,突然被临时封禁。根据抖音官方数据,直播的2个多小时里,5.4万人看过这场直播,当晚共上架46件商品,销售额5万-7.5万元。虽然效果一般,但张小龙的个人风格还是给用户留下了比较深刻的印象。
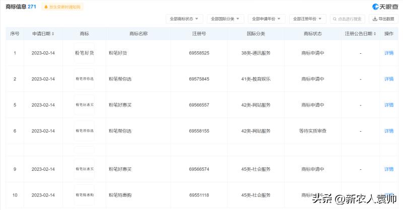
事实上,粉笔涉足直播带货早有迹象。今年1月,粉笔教育便申请注册“粉笔好货”“粉笔严选”“粉笔帮你选”“粉笔龙哥”“粉笔小龙”“粉笔龙龙”等84个商标,涉及社会服务、通讯服务、科学仪器、广告销售等分类。

提到为何粉笔要直播带货,张小龙表示,如果能推荐一些靠谱的产品,不仅能促进消费,同时还能带动经济、带动就业,其实是有社会经济价值的,所以这其实是件很严肃的事情。
带货不一定赚钱,股价却一定上扬?
在粉笔之前,已经有不少机构进入直播带货。其中,最引人注目的必定是新东方。
从2021年12月28日首播起至2023年3月27日,新东方股价从7.25港元,涨至32.8港元,区间涨幅达357.41%。如今,新东方在线的主营业务已经变为直播带货。
3月9日,新东方在线公告称,新东方在线将于3月14日起更名“东方甄选”,英文名称、公司标志将同步修改,自2023年3月14日上午9时正起生效。对于更名原因,此前俞敏洪曾表示,公司已经认识到重点转向直播电子商务以及该领域可带来的长远增长潜力。

受新东方在线转型的影响,其他机构转型直播带货后,股价普遍应声上涨。
2022年12月11日,思考乐教育宣布,思考乐首位达人“文鲜生”即将与公众见面。12月12日,“文鲜生”在抖音直播间亮相。12月12日起,思考乐教育一路大涨。12日大涨18.18%;13日单日暴涨100%。
从2022年12月12日,到2023年3月27日,短短三个半月,思考乐的股价便增长211.69%。

然而,股价的反应似乎过于超前。3月14日,思考乐发布正面盈利预告,预计2022财年将实现纯利不少于5000万元,上一年为净亏损3700万美元,同比扭亏为盈。但对于扭亏的原因,思考乐归结于因关闭部分学习中心所产生的一次性成本不再发生,及金融资产的公允价值损失较上年度减少。而在其中,并未见电商直播业务带来的明显补益。
同样反应的还有高途。2022年11月16日,高途佳品成立,陈向东亲自担任了高途直播电商这一独立业务的CEO。2月16日,陈向东开启了个人直播的首秀,首次直播两个小时,对于直播带货的期待,陈向东给出了肯定的回答,他表示会去高途佳品直播间带货,但需要一些时间,需要做准备。
但从股价表现上,在“双减”之后,高途从百元股一路下跌到不足1元。在11月宣布进军直播电商之后,高途的股价一路走高,截止目前,高途报3.95美元,较直播初期的1.12美元增长252.58%。

然而高途直播带货的实际成果也并没有出现明显变化。截至3月6日,高途佳品的粉丝数为16.9万人,而在一个月前,粉丝数为13万,一个月间涨粉不足4万人,处于相对缓慢的发酵阶段。在四季报中,直播业务的收入尚未被单独公布,目前股价的反应或许过于超前。

除上述几家之外,去年3月8日,学而思旗舰店开始在抖音推出短视频。8月,学而思推出“学家优品”,正式在抖音尝试直播带货,卖起农产品、食品饮料等各种产品。随后,学而思又推出学而思编程、学而思初中拔高、学而思电子教育旗舰店等多个账号。而从去年3月8日至今,一年间,好未来股价涨142.74%,由2.48美元涨至6.02美元。

除了东方甄选兑现了股价表现的预期,其他机构目前仍然处于发酵期,直播业务普遍未对营收产生实质性的影响。这方面,股价的反应或许过于超前。
平台不稳流量分散,转型直播难救命
教育公司转型直播电商,究竟能否救命脱困?东方甄选不缺模仿者,却为何无一复制成功?
在接受央视采访时,俞敏洪曾表示,东方甄选董宇辉之所以走红,是因为起了“降噪”的作用。俞敏洪指出,以往的电商带货,多是声嘶力竭的呼喊“买买买、最便宜”,但董宇辉却首创了一种“双语直播”的方式。他不像在直播,更像在教书,而这种沉下来的见解,更容易让用户感到新奇,并维系起用户粘性。
俞敏洪在采访时透露,他没有请MCN机构,每场直播前,他会要求主播自己准备,“就像备课一样”。他从前要求每位新东方老师一年至少读二十本书,这些都成了他们如今带货的储备。现在新东方的直播,“相当于碎片化的新东方课堂”。
而张小龙在直播带货中频繁表达的观点,也是希望粉笔能在直播带货的通用模式外,找到自己的风格和模式。
实际上,从电商直播的用户习惯来看,“重复”一直是大忌。作为从竞争火热的K12教培行业中“拼杀”出来的巨头,上述各家都不缺会讲课的名师,但后续想要复制“双语直播”、“文化带货”模式普遍很难成功。
针对目前教育公司直播带货大多会选择的“农产品”品类,农文旅产业振兴研究院常务副院长袁帅指出,农产品溢价空间本就较小,低价引流营销模式下,非头部商家因低成交量难以盈利,头部商家为提升店铺流量,用于“营销费用”等的中间成本甚至比传统模式中间商成本更高,“赔本赚吆喝”,虽然有较高的供应链效率为支撑,但往往以挤压生产者和流通环节的利润为代价,不利于农民持续增收。
袁帅表示,随着电商市场逐渐从增量竞争转向存量竞争,平台经济流量竞争愈加白热化,挖掘下沉市场的消费潜力成为共识。由于价格敏感性更高,不少平台倾向于采取低价策略抢夺下沉市场,低价农产品在一定程度上符合这些要求。农产品标准化、品牌化程度偏低,普遍缺乏能够全面客观评价产品质量的标准参数,增强了网络渠道产品质量的信息不对称,也让“低价营销”有机可乘,成为快速引流的重要竞争点。
纵观近一年来教培行业转型电商直播的尝试,可以发现,除东方甄选真正转型成功之外,其他入局者仍未形成具有辨识度的品牌特征和长期竞争力。未来若想要实现电商直播真正补益业绩,还需长期寻找属于机构自己的风格。(来源 | 蓝鲸财经 记者 | 祁青 免责声明 | 仅用于学习交流,并不用于商业用途。文中部分图片来源网络及设计图片,所有转载的图片、音频、视频文件等知识归该权利人所有,新社汇·全媒体矩阵不对相关图片内容享有任何权利。)
---------------------------------------------------

图片来源:网络
农文旅产业振兴研究院常务副院长、县域经济发展合作服务中台·工作委员会秘书长袁帅认为:“十四五”乡村振兴时期传媒产业将迎来新机遇。乡村振兴是*党**在建设新时代中国特色社会主义时期,根据农村发展需要提出的关于解决三农问题的重要战略。实施乡村振兴战略需要充分发挥传媒产业的优势和属性。传媒产业作为政府与企业,市场与经济,科技与产业联结的重要通路平台,其上承中央与省地政策的宣传普及,下接民情*意民**,地域性、接近性强,能有效配合中央宣传贯彻落实关于乡村振兴的方针政策,在顺利推进*党**和国家各项事业发展,在乡村从脱贫攻坚向共同富裕、科技技术进步、文化产业振兴的过程中,起到引领发声、凝聚人心力量、维护社会和谐稳定的重要作用。在乡村振兴战略的推进过程中,传媒产业既是中央精神的传播者,落实国家政策的引导者,又是沟通政府和三农的桥梁和纽带。因此,传媒产业应该主动承担起助推乡村振兴的时代责任,积极探索和面对乡村振兴时期带来的新机遇与新挑战。


【1】抓好乡村振兴机遇,发挥资源聚合双招双引作用,让城市了解乡村,让乡村看见城市。
乡村振兴战略是一项系统化工程,需要多方协同形成合力,而这其中需要一只手能够将多方所串联。传媒产业具有天然的资源聚合能力,通过积极应变探索,内部创新形成围绕乡村振兴县域产业特色发展的经济激活,产业流通定点、定性,结果目标导向的服务输出,联动科研院校、资本金融、市场企业、政研规划等,以多元化的手段,通过会议、展会、节庆、赛事等落实区域联动,协同发展的双招双引目的。 让“媒体+”成为地方经济发展的抓手,让传媒成为助力地方特别是优势重点产业发展的加速剂。
【2】讲好乡村振兴故事,发挥信息解读中转桥梁作用,让科研更懂县域产业需求,让县域发展更懂科技技术需要。
作为一个全新的时代命题, 乡村振兴在各地试点推进的过程中面临的困难、涌现的典型、取得的成果、收获的经验、存在的不足等,都需要媒体去调查、总结和提炼,并且转化成为大众和县域能够看得懂,听得明白的故事。 科学技术是第一生产力,乡村振兴县域乡村经济是需要更多的科技力量投入和落地实施,早前我国的经济发展策略和布局,使得接下来更加需要依靠传媒产业的力量,以图文,声音、视频、立体影像等融媒体信息技术,帮助新型的科研成果和前沿技术,通过媒体的解读,面向县域乡镇释放出它们能够理解和懂得的“知识成果”输出,让地方相关人员明白围绕其当地实际情况和发展需求,需要什么样的技术,需要什么样的人才。
【3】做好乡村振兴文化,发挥营销策划提振品牌效能,“有质电商、价值直播”打破三农产品“低价营销”怪圈。
中国的农业发展在满足数量要求、解决温饱问题以后,农产品由短缺向剩余跨越,如何满足质量要求、解决市场供需矛盾问题就成为农业现代化的核心问题,面对日益竞争激烈的国际农产品贸易和农产品生产结构重新调整升级,在新时期,创建农业产业化的知名品牌,拉动农业产业化的发展,显得尤为重要,更加是提振地方经济,实现共同富裕,为三农人群创造更多经济效能的重要手段。 农产品品牌化,乡村产业特色化是未来农业发展的必然要求。 这个时代是品牌竞争的时代,建立在品牌基础之上的传媒影响力将是潜力无限的。对于产品的塑造,与文化的融合,通过营销的策划实现品牌的打造,这无疑没有谁能比传媒产业其更为擅长的存在了。 农业发展的关键所在,即走品牌化路线。 农产品品牌化与乡村产业特色化,直指乡村建设的要害,也是乡村建设行动的重要抓手。 乡村品牌是一种宝贵的无形资产,品牌强农是转变农业发展方式、实施乡村振兴的必然选择,这也是传媒产业在乡村振兴时期所迎接的新机遇。依托传媒产业在品牌营销、IP塑造、价值输出等专业优势,实现对三农产品的价值升华,提振品牌效能,借力电子商务、直播电商等互联网营销手段,实现“有质电商、价值直播”,打破三农产品“低价营销”怪圈。
乡村振兴是新时代的一个全新命题,传媒产业应在乡村振兴中把握机遇,推动媒体融合,在做好乡村振兴战略宣传报道的同时,讲好乡村振兴故事,做好乡村振兴文化,积极发挥媒体优势,调动产业资源, 做精做细社会服务,不断探索创新“媒体+”服务乡村振兴的模式和路径 ,贡献力量,在成就地方县域乡村振兴的同时,也更加是在成就自身。