在《文明》、《帝国时代》等以“文明乱斗”为特点的电脑游戏中,往往都会为游戏中的各文明设置标志性的特色*器武**,作为本文明的“杀手锏”。而对于中国,各游戏往往会不约而同的选择“诸葛弩”这一拥有着传奇色彩的*器武**。那么,堪称中国名片的“诸葛弩”相比其他地区的弩,到底有什么特色呢?其历史发展又是如何呢?

▲现存最早的战国连弩的复原图
一般人传统意义上说的“诸葛弩”是连射弩,简称连弩。现存最早的连弩被发现于湖北省江陵县一座楚国墓穴中,这把连弩长27.8厘米、宽5.4厘米、通高17.2厘米,可以同时发射两支箭矢,靠后面的推拉弩臂,发射弩箭。

▲反映诸葛连弩的古代绘画和诸葛连弩的复原图
另一种远近驰名的连弩,就是相传由诸葛亮发明的“元戎”连弩了。这种连弩的历史记载很简短,“以铁为矢,矢长八寸,一弩十矢俱发”,并且没流传下具体的形制。明代时,也有这种连弩的记载,但是这种弩的威力并不大,被认为只有在箭头涂毒的情况下才能*伤杀**敌人。

宋明以后出现了一种“诸葛连弩”,被较多的用于水战和守城作战中,不过体积较大,不能单兵使用。

▲床弩3D模拟图
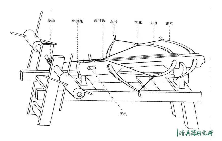
另外也有种说法,真正的诸葛弩,其实是一种床弩。中国床弩的历史也可以追溯到战国时期。在《墨子》中,明确记载了“两轴三轮”的“连弩之车”,这种弩车所用的箭矢长达十尺(230厘米左右),必是床弩无疑。

▲弩兵阵列
床弩的形制可以理解为单兵弩的放大版,也可以分为弓、弩臂、弩机三大部分,曾经在南京考古发现的一些长达39厘米的大型弩机,除了尺寸极大外与一般的弩机并无差别,推测便是用于床弩的。
床弩自战国时期发明出来后,便广泛的应用于各种作战中,其巨大的威力屡屡为使用这种*器武**的*队军**带来胜利。南北朝时宋武帝刘裕就曾用“万钧神弩”(一种床弩)大败卢循、徐道覆的水军,并感叹道:“军中多万钧神弩,所至莫不摧陷”。

▲三弓床弩示意图
床弩的大发展时期是唐宋时期。隋末唐初时,李世民就曾用八弓弩进攻洛阳城,史载八弓弩发射的箭“粗如车辐,镞如巨斧”。中唐时,幽州武将朱泚曾用百弮弩攻城,据说可以“百箭连射”。宋代时,出现了著名的三弓床弩。这种床弩的前端用三把弓互相串联,大大增加了射程。其除了可以发射传统的巨箭外,还可以在弓弦上系上一个铁斗(铁桶),在斗中装上数十支箭,发射时几十之箭同时射出,形成恐怖的箭雨。

▲即使是满清,在攻城作战时也大量运用火器
但是正如同火器的出现让单兵弩基本退出了*队军**的装备序列一样,床弩这类大型军械也因为火炮的普及而渐渐退出*队军**。因为相比火炮来说,床弩这种*器武**无论是在威力上还是成本上以及便携性上都无法与之相比,最终只能无奈的退出战争的舞台。
本文为冷兵器研究所原创稿件,主编原廓、作者 正义必胜 ,任何媒体或者公众号未经书面授权不得转载,违者将追究法律责任。
获取更多知识兵器知识请关注微信公众号:lbqyjs