

这两天药企马应龙药业集团股份有限公司(以下简称“马应龙”,证券代码:600993)出口红的新闻引起了不少媒体的关注和网友的吐槽,马应龙引发争议的不是跨界,而是卖痔疮膏的品牌适合做口红吗?
马应龙是以肛肠及下消化道领域为核心定位的药企,据中康资讯最新市场调研数据表明,马应龙在痔疮药品零售市场销售量的占有率高达48%,市场占有率稳居第一,是肛肠治痔领域领导品牌。
实际上马应龙口红用的是“马应龙八宝”的商标,但一般人分不清“马应龙”和“马应龙八宝”的区别,这是马应龙营销比较失败的地方。
马应龙官网显示该企业创于1582年,有400多年的历史。2011年,马应龙八宝古方及眼药制作技艺被国务院认定为国家级非物质文化遗产。
不过,马应龙的官网宣传和清扬君在中国非物质文化遗产网查询的结果有些出入。

中国非物质文化遗产官网显示,马应龙申请的是的“中医传统制剂方法(马应龙眼药制作技艺)”(2011第三批公布,项目序号443,项目编号Ⅸ-4),并非马应龙官网宣传的“马应龙八宝古方及眼药制作技艺”。

清扬君通过对比发现,文化部颁发给马应龙的《非物质文化遗产》铜牌证书和中国非物质文化遗产官网描述一致。
虽然马应龙申请的非物质文化遗产“马应龙眼药制作技艺”,比马应龙宣传的“马应龙八宝古方及眼药制作技艺”少了“八宝古方”四个字。但恰恰这四个字,让广大不明真相的社会大众误以为“马应龙八宝古方”和“马应龙眼药制作技艺”都是国家非物质文化遗产。
“马应龙八宝古方”是指马应龙眼药的“配方”,“马应龙眼药制作技艺”是指马应龙眼药的“工艺流程”。这是完全不同的事实和概念。
所以,消费者在购买的“马应龙八宝”产品,很有可能是被马应龙给忽悠了。
马应龙八宝商标主要是用于马应龙八宝眼粉、马应龙八宝眼膏和马应龙八宝眼霜。

1980年,马应龙第十三代传人马惠民将以“八宝古方”为基础制成的“八宝眼粉”,研制成“八宝眼膏”,改变了马应龙眼药沿用了四百年的剂型,极大方便了患者使用。食药总局2001年5月18日公布的《第二批国家非处方药目录》中就有马应龙八宝眼膏。
马应龙八宝眼霜主要是马应龙集团从2009年起自主经营的。
清扬君认为,马应龙跨界进入日化,也算是马应龙八宝眼膏向眼霜的深度延伸。

马应龙八宝中的八宝古方,是指马应龙八宝眼膏组方包括麝香、牛黄、琥珀、珍珠、冰片、炉甘石、硼砂、硇砂等八味中药。
但是马应龙八宝眼膏组方在马应龙申请国家非物质文化遗产时,并未在公布的结果上体现出来,公布结果只是对配方描述为“选材唯真唯优,忌劣忌假,且所采用的药材十分名贵。”
不得不说,这是马应龙的一大遗憾。
然而马应龙“出色的”营销手段,利用社会大众对“非物质文化遗产”不甚了解,广而告之的大范围宣传,不仅极大的弥补了这一不足,还成为跨界进入日化的重要资本。
马应龙这招“偷梁换柱”的手法确实高明,从2011年到现在9年的时间竟然没人发现。如果不是清扬君“多事”,估计马应龙可能将在几十年后成为药企巨无霸时才因为市场激烈竞争,会像贵州茅台酒股份有限公司注册“国酒茅台”商标被驳回、茅台获“巴拿马金奖”造假被扒一样引起社会关注。
马应龙利用马应龙八宝眼膏多年的市场知名度和“非物质文化遗产”的稀缺性,借助“药妆”概念(彼时药妆流行,没有被明文规定不能宣传)确实让马应龙八宝眼霜在短期炒作了一把。

百度百科显示:马应龙八宝眼膏,中成药名。为眼科制剂,具有清热退赤,止痒去翳之功效。主治风火上扰所致的眼睛红肿痛痒、流泪、眼睑红烂;沙眼见上述证候者。
试想,一个拥有400多年的知名药企,而且还以眼药闻名于世。在清末北京城甚至流传着“身穿瑞肤祥,脚踹内联升,头顶马聚源,眼看马应龙”的民谣。现在其眼药制作技艺还成为了国家非物质文化遗产。
这样有历史、有背景、有文化、有技术的企业,难道不值得信赖吗?眼药都可以做到全国知名,眼霜不就更简单了!
马应龙初期推广眼霜时是2009年,那时尚未进入国家非物质文化遗产名目,企业宣传还比较真实。
现在包括百度百科等网页是这样描述马应龙眼霜的。
近几年,网络和部分媒体大规模均报道马应龙主导产品麝香痔疮膏具有独特的去黑眼圈疗效。公司得到这个信息后,以治药严谨和对客户负责任的态度组织专门的技术班子对这则信息进行研究和论证,经过研究发现,公司主导产品所蕴含的配方是来源于400多年马应龙八宝眼粉的独特古方,它能活血化瘀、清热解毒,对于因血流不畅等原因引起的黑眼圈,水肿等原因引起的眼部浮肿和眼袋具有显著的功效。基于市场的大规模信息反馈,2006年公司决定,研制开发一款去黑眼圈的功效*药性**妆,满足消费者的需求。
经过马应龙药业博士后工作站数年的精心研制,马应龙八宝去黑眼圈眼霜系列终于问世,它植根祖国传统医学护肤养眼理论,深入研究眼部肌肤,萃取中华老字号马应龙古方精华,运用现代制备工艺精制而成的功能*药性**妆。
马应龙八宝去黑眼圈眼霜蕴含促进肌肤血液循环等多重成分,其独特中药成分能充分阻碍酪氨酸转化为黑色素,促进眼部血液循环。
马应龙八宝眼霜的研发,可以看出马应龙是十分看重消费者的反馈建议的。
在马应龙的发展史上,“马应龙麝香痔疮膏”的研发也是患者写信把“八宝眼膏”能治痔疮的情况反映给厂家。收到患者反馈后,马惠民带领科研人员在眼膏的基础上研发出来的痔疮类治疗药物。就是这款“马应龙麝香痔疮膏”30年来一直保持销售额和市场占有率第一,2005年被收进国家药典。
所以,媒体报道在影视圈,有不少化妆师都会在化妆箱内放上几支马应龙痔疮膏,用来解决主持人和明星们的黑眼圈时;在互联网上,越来越多的女性朋友互相交流着使用马应龙痔疮膏消除黑眼圈的心得时,马应龙难为情了。为了不让消费者把痔疮膏当眼霜使,于是,马应龙联合中国中医科学院、北京工商大学中国化妆品研究中心等机构历时三年半时间,让“马应龙八宝眼霜”面世。
不知道明星用马应龙痔疮膏急救的真实性如何,但马应龙八宝眼霜并没有像“马应龙麝香痔疮膏”一样风靡全国。
究其原因,清扬君认为有以下几点:
一方面,马应龙麝香痔疮膏的长期畅销,让马应龙成为了肛肠治痔领域名的代名词,以至于马应龙起家的八宝古方被消费者遗忘,马应龙治痔的形象取代了马应龙八宝眼膏的辉煌历史和非物质文化遗产的意义。
马应龙八宝眼霜的推出,只能满足少数人的需求。不能改变消费者的认知,就不能改变马应龙八宝眼霜及其他马应龙八宝系列化妆品,包括口红、面膜、洁面乳、精华霜、柔肤水等产品的命运。
这也是缘何2012年马应龙组建控股公司湖北马应龙八宝生物科技有限公司,注册“瞳话”商标,开创瞳话眼部护理品牌,并已经发展到了包括医用冷敷贴、眼部精油、眼膜、眼霜等系列产品。瞳话因为产品单一,且和控股股东马应龙的马应龙八宝化妆品在产品上有很多功效相同,有较为明显的市场竞争关系,这也会削弱马应龙八宝生物中小股东的积极性,影响企业招商、市场拓展和销售。
另一方面,化妆品的定义是清洁、保养、美容、修饰等基本功效,即便马应龙历史悠久,眼药效果不错,但对化妆品没有任何实质性的帮助。
因为化妆品定义决定了,任何产品不可能具有马应龙宣传的“马应龙八宝去黑眼圈眼霜蕴含促进肌肤血液循环等多重成分,促进眼部血液循环”功效。“促进肌肤血液循环等多重成分,促进眼部血液循环”属于医疗术语,广告法也不让虚假宣传。
第三,马应龙战略布局,尤其是对马应龙品牌和马应龙八宝品牌的规划不清晰。
马应龙希望通过马应龙品牌做药、马应龙八宝做大眼部市场,通过注册瞳话、马应龙典方、马应龙汉方、马应龙六福、马应龙七彩、马应龙八宝古方、马应龙八宝1852等品牌分开做化妆品或其他产品。
看起来,这些附属商标并不是简单的防御性商标,而是有规划的进军大健康产业。但如果做不好,会不会透支马应龙的品牌价值呢?
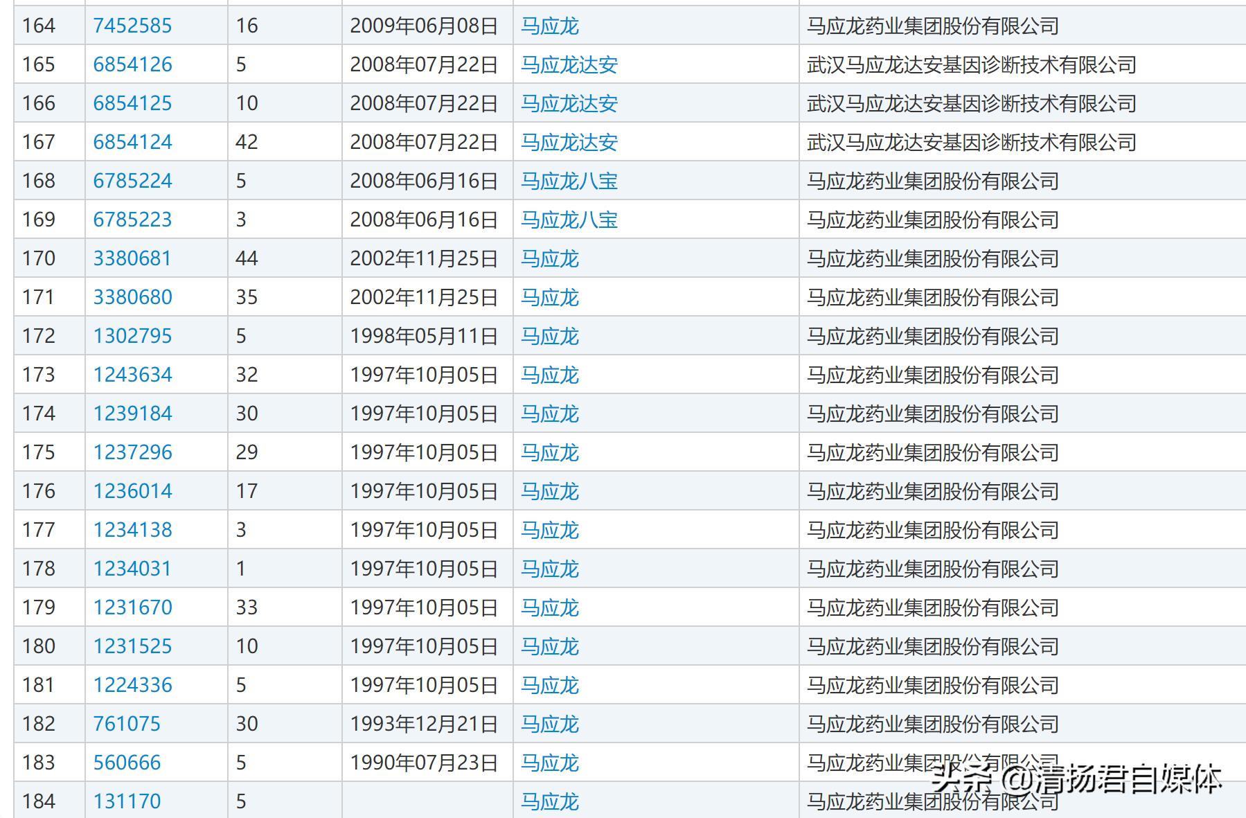
从商标注册的情况来看,马应龙对马应龙品牌重视程度,远远高于对马应龙八宝商标的重视程度。

马应龙的商标最早是1990年7月注册,而马应龙八宝的商标最早是2008年6月注册的。马应龙对外宣称马应龙八宝眼膏是1980年研制,为什么注册这么晚呢?
此外,马应龙注册的马应龙汉方、马应龙八宝古方、马应龙八宝1852商标,如果全部用于化妆品,是否会让广大消费者认为马应龙化妆品是汉方成分、八宝古方或1852年的八宝配方呢?
这或许会成为新的舆论焦点。

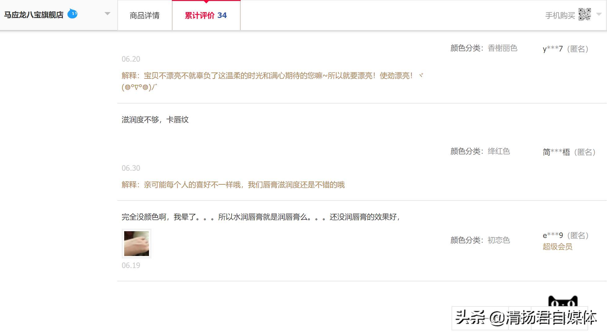
不管怎样,在争议中的马应龙已经省去了一大笔广告费,尽管销量不高,尽管马应龙八宝天猫旗舰店的34个评论中已经有人吐槽“滋润度不够,卡唇纹”、“完全没颜色啊,我晕了...所以水润唇膏就是润唇膏么...还没润唇膏的效果好”,但马应龙八宝口红很多人已经知道了。
最终买不买还是要看消费者自己的选择。