近日,潇湘晨报晨视频报料热线持续接到重庆多名市民反映称近几月来燃气费异常上涨,每月费用较以往几近翻了一倍。重庆燃气公布财务数据曾显示,重庆燃气2023年第四季度营业利润暴增11倍。
4月13日,重庆通报称已成立联合调查组,由市市场监督管理局牵头,市经济信息委、市发展改革委、市国资委、市公安局等相关部门组成,进驻重庆燃气集团、凯源燃气等相关燃气企业开展调查工作。
与此同时,成都多个区县也有市民在问政平台、社交平台上发声质疑燃气费用异常,有知名编剧称成都家中近两月无人居住却产生近千元燃气费。据4月17日成都市经济和信息化局工作人员回应媒体称,16日该局已成立多个专班,连夜组织核实。
4月18日下午,重庆市市场监督管理局向潇湘晨报记者表示,相关调查工作仍在进行。如若市民有燃气使用异常等相关问题,可致电12315进行投诉,会有工作人员进行处理。

4月18日,重庆市民李女士称燃气表几秒就转一立方,受访者供图
官方成立调查组后 , 重庆市民仍持续反映燃气表转速过快 , 求助解决方案
近日,重庆多名市民向潇湘晨报报料热线反映燃气收费异常。
市民小军(化名)住在涪陵区,其历史账单显示,2024年1月以前,每一期(两月一期)用气量均在30立方上下,缴纳的燃气费用在50元至70元左右,然而到2024年3月,其用气量飙升至60立方以上,燃气费用也高达150元,几近翻了一倍。

另一名住在渝北的李女士也反映,家中的燃气费用出现暴涨。李女士称,自2023年9月家里只剩自己一个人住后,每期燃气费用都只有几十元,202311期是近33元,202401期是近60元,到202403却用了63立方共138元。然而李女士只有不上班在家休息时偶尔做饭,平常用到燃气的地方主要就是热水。
李女士称,自家的燃气表是在2023年12月由物业统一更换,母亲3月份缴费时才发现异常,“我妈还以为我洗澡洗太久。”4月18日,李女士给记者拍燃气表视频称,自换表后燃气灶的火要比以前旺很多,而燃气表在开火后平均几秒便转动一立方。

上述市民均为重庆燃气集团供气。4月10日,重庆燃气集团曾就市民反映燃气计量问题,宣布开通燃气计量上门复核服务快速通道。4月12日晚,重庆燃气集团股份有限公司发布澄清公告回应称,截至目前未发现气表计量有问题。
4月13日,重庆宣布组建联合调查组进驻重庆相关燃气企业。4月18日,潇湘晨报记者就调查进展致电重庆市市场监督管理局,工作人员表示调查工作仍在进行。如果市民在使用燃气时觉得有问题,可以致电12315投诉,会有工作人员主动联系进行处理,比如说可以对燃气表进行检测等。
成都市民称换燃气表 20 天后欠费一万七 , 又是“错觉” ?
据中国新闻周刊报道,有成都市民称换燃气表20天后欠费一万七,其所在小区供气的四川联发天然气有限公司工作人员回应称,换表后费用上涨,可能与缴费方式变化有关。换表前是先用气后缴费,当月缴的是上个月的用气量;换表后为先缴费后用气,因此在启用预付阀值表的第一个月,客户将一次性缴纳上月和本月已经产生的气费,并预存后续气费,“所以造成本月计费超高的一个错觉。”该工作人员介绍,如果此前长时间未缴费,换表后将一并缴纳此前欠费。

四川问政平台上多地居民反映燃气费问题
而此前据中国经营报报道,针对重庆网络问政平台上的相关投诉,涉投诉区域天然气供应商重庆燃气集团方面解释称:一是旧表使用时间长了,老化了,计量不准确,导致换用新表后出现了“用气量剧增”的错觉;二是“旧表数据晚传了两个月,加上4月变动调价需要结算后的集中抄表,导致用户以为使用气量较以往增多”;三是上游中石化的供气价格上涨,重庆市发改委调高了气价;四是部分用户家的气管及接头处有轻微渗漏。
不过,上述解释随即遭到当地市民的进一步质疑:旧燃气表均在使用寿命年限内,即便“计量不准确”,大面积出现新旧表相差1倍左右误差的概率极低。
其次,旧表数据上传晚了2个月致4月份集中抄表,就意味着前几个月燃气费为零或巨幅降低,客观上会导致前几个月的费用会叠加至3—4月份,但事实上大部分投诉居民前几个月的燃气费不为零,仅未降低。
有关2023年11月重庆市发改委调高燃气费价格是导致本次重庆燃气费换表后价格暴增的原因,也遭到质疑:据该调价规定显示,“居民用气一、二、三阶梯最高销售价格仍按现行每立方米2.196元、2.366元、2.716元执行”。也就是说,该次调价,是调高了非居民用气价格,并未调整居民用气价格。
当地居民称,至于重庆燃气公司工作人员给出的“漏气”理由导致的说法更为荒唐:全市更换燃气表的管道及接头,在同一时间,大面积出现漏气,且漏气的比例均为原有用气量的1倍左右,同时达到这3个条件的可能性极小。

重庆居民在问政平台上质疑“漏气”解释
成都相关部门介入调查 ; 成都 、 重庆燃气背后股东涉同一家公司
4月18日,潇湘晨报记者就成都多地反馈燃气费用异常问题致电成都市经济和信息化局,工作人员表示此事将由宣传部统一回复。另据极目新闻报道,4月17日,成都市经济和信息化局工作人员回应称已关注到市民反映的有关燃气的相关情况,12345热线反映的情况等都已关注到,16日该局已成立多个专班,连夜组织核实。
有媒体曾指出,重庆燃气的财务数据显示2023年第四季度,重庆燃气营业收入同比增长23.59%,营业利润同比增长1127%,归属上市公司股东净利润同比增长824%。
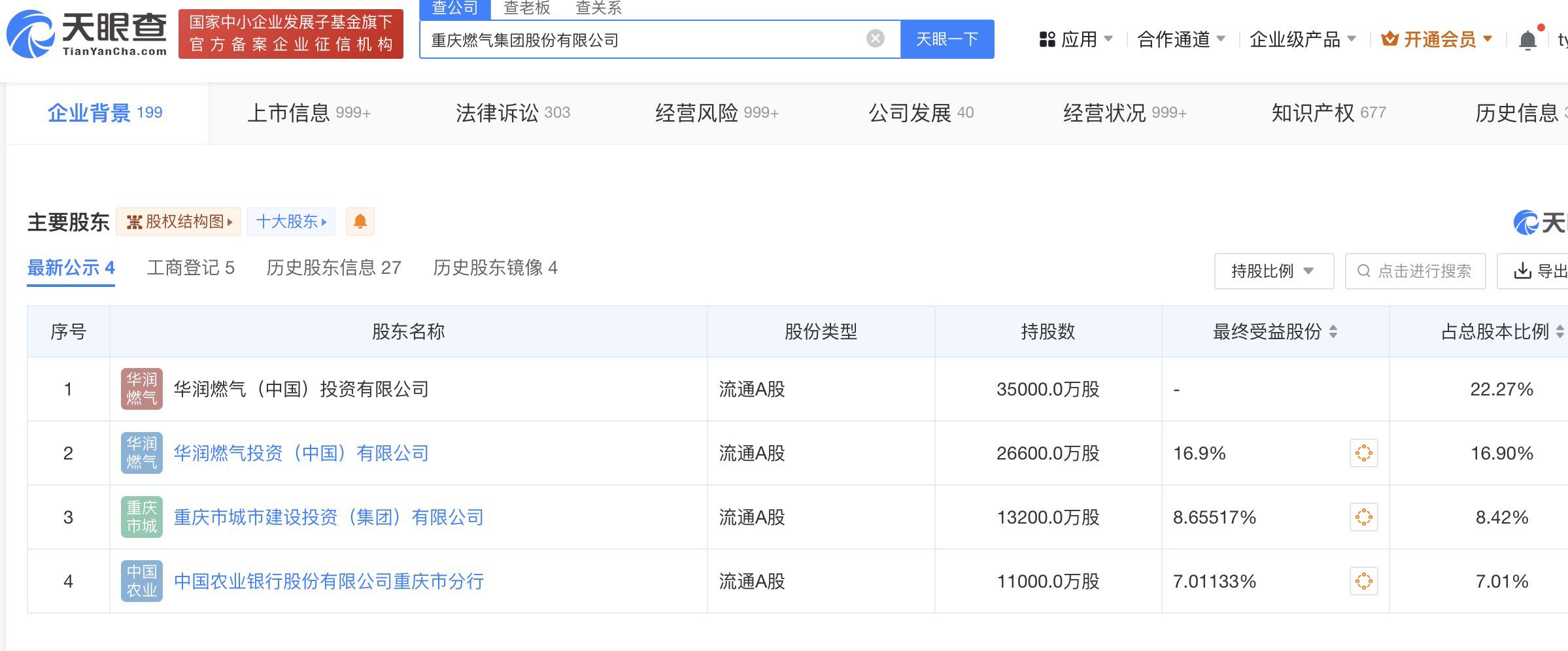
另据天眼查显示,华润公司旗下的两家公司,华润燃气(中国)投资有限公司和华润燃气投资(中国)有限公司,分别是重庆燃气集团股份有限公司的第一大股东和第二大股东,持股比共约为39.17%。据媒体梳理,2023年1月18日,重庆燃气曾发布公告显示,重庆市能源投资集团有限公司所持有的重庆燃气41.07%股权,将抵偿给相应债权人,重庆能源不再是公司控股股东。华润集团随后成为重庆燃气大股东。

而在成都燃气费用问题中被提及的四川联发天然气有限责任公司,其股东包括四川川港燃气有限责任公司和成都燃气集团股份有限公司。天眼查显示,华润燃气投资(中国)有限公司是成都燃气集团股份有限公司的第二大股东,占总股比例32.4%,仅次于第一大股东成都城建投资管理集团有限责任公司36.9%的占股比例。

有媒体指出,受到舆论风波影响,华润燃气的股价自4月12日以来出现连日下跌。
潇湘晨报记者吴陈幸子综合报道
爆料、维权通道:应用市场*载下**“晨视频”客户端,搜索“帮忙”一键直达“晨意帮忙”平台;或拨打热线0731-85571188。政企内容服务专席19176699651。