
前言:5月12日,汽车服务世界在某车置宝车款追讨群内看到,全国各地多位车主反映,其所在地区的车置宝门店都关了。
作者 | 拉面安
来源 | 汽车服务世界(ID:asworld168)
又一家估值几十亿的汽车后市场独角兽企业跌落神坛。
5月12日,汽车服务世界在某车置宝车款追讨群内看到,全国各地多位车主反映,其所在地区的车置宝门店都关了。

上图为:北京、太原、广州、宁波、无锡车主曝料
经查,以上曝料的北京、太原、广州、宁波、无锡五个城市中,北京、广州地区的3家车置宝门店的确被列入经营异常,无锡地区的车置宝门店状态已变成“注销”状态。
江苏车置宝信息科技股份有限公司北京市分公司已于2020年2月4日被列入经营异常;
南通车置宝信息科技有限公司北京分公司已于2020年1月22日被列入经营异常;
南通车置宝信息科技有限公司无锡第二分公司 已于2020年1月10日经营状态从“存续”变更为“注销”;
南通车置宝信息科技有限公司广州白云分公司于2019年12月13日被列入经营异常。

5月5日,匿名车主在黑猫投诉上投诉称:去年12月05日,在南京车置宝卖了一辆车,至今未给打款,联系不到该公司……到现在,该公司门店大量关门,电话不接听,完全联系不到人。
此外,以“车置宝 关门”为关键词在黑猫上搜索,相关投诉有37条,投诉者所在的城市包括南京、昆明、贵阳、合肥、南宁、济宁、长沙、南通、深圳等多个省市,均反映:自己去过的门店已经关门。

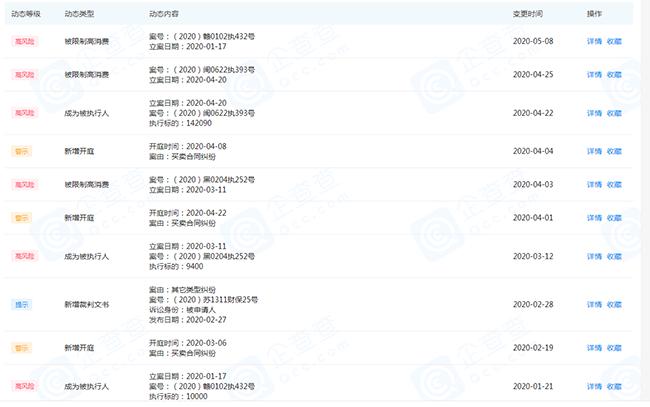
一、创始人3个月5次“被限制高消费”
除了全国大批量门店被曝关门外,车置宝创始人及CEO黄乐也处于“高风险”状态,最新消息显示:5月7日,黄乐第5次被限制高消费,其关联的风险达146条。


自2月以来,黄乐分别被上海、北京、齐齐哈尔、福建、南昌5个省市的法院判定“被限制高消费”。
2020年5月7日,因“劳动争议、人事争议”,南昌市东湖区人民法院判定并采取限制消费措施;
2020年4月24日,因“买卖合同纠纷”,云霄县人民法院判定,采取限制消费措施;
2020年4月1日,因“劳动争议、人事争议”,齐齐哈尔市铁锋区人民法院判定并采取限制消费措施;
2020年3月5日,因“广告合同纠纷”,北京市东城区人民法院判定并采取限制消费措施;
2020年2月17日,因“买卖合同纠纷”,上海市静安区人民法院判定并采取限制消费措施。
目前,与黄乐所有相关的2020年动态,均为“高风险”、“消极”等级。

二、实际控制人已变更,相关企业被打上“老赖”标签
与此同时,与黄乐及车置宝品牌相关联的公司已经被打上了“老赖”标签。
南京车置宝网络技术有限公司分别在1月6日被列为“被执行人”、3月9日列为“失信被执行人”,具体情形为:有履行能力而拒不履行生效法律文书确定义务。

南京车置宝二手车评估有限公司自进入2020年来,3次“被限制高消费”、3次“成为被执行人”、3次“新增开庭”,动态均为“高风险”、“警示”、“提示”字样。

4月28日,车置宝品牌所属的江苏车置宝信息科技股份有限公司,其实际控制人已发生变更。

同一天,包括“南京车置宝二手车评估有限公司、江苏车置宝拍卖有限公司、南京车置宝网络技术有限公司、车置宝(深圳)商业保理有限公司、江苏车置宝物流代理有限公司、南通车置宝信息科技有限公司、南京车捷信息技术服务合伙企业”等与车置宝品牌相关联的公司,均发生了股权变更或受益股份下降。
三、车置宝最大诟病:“跑路?欠款不还?涉嫌诈骗?”
直至今日,车置宝最为人诟病的就是“*子骗**”头衔,核心原因是:欠车主/车商款项长期不还、拖欠员工工资。
据黄乐3月份的亲口回应:目前,车置宝全国范围内的100个城市、一个月1万多台以上的交易量,一旦出问题就是全国性问题,目前车商有2万多家,每个人金额不大,但涉及面比较广,需要时间沟通。
最严重的时候,车置宝甚至曝出“侵吞巨额购车款 总部人去楼空 ”的新闻。
黑猫投诉上与“车置宝”相关的2019条投诉,要求几乎全是:“退款”、“支付尾款”、“赔偿”等字眼。
某用户表示:2月申请退车置宝保证金申请通过,迟迟不打款,上面写着打款中,可到现在已经三个月了,都没到账,打客服和渠道经理电话都打不通。
而在另一个车主活跃的“维权渠道”车置宝吧中,关于“公司还行不行”、“投诉车置宝”、“服务坑人”、“被骗”、“拖欠车款”的帖子比比皆是。
一车商在贴吧曝出自己的退款进度图并配上文字:退款遥遥无期。

图片来源:车置宝吧
在“欠款”的基础之上,发生的诸多事件也让车主/车商们对车置宝的“无奈”、“愤怒”情绪日益高涨。
• 追款无门,员工回应:公司没钱,不清楚
欠款自然会被追款,但是车主/车商的追款之路实在漫长。
广东深圳一位车主屡次追讨欠款已久未果,车置宝员工回应其:公司账上没钱,员工的工资也没有发。并称:“如果公司不融资,肯定就倒闭了”。
而关于具体情况,员工的回应几乎都是不清楚。

车置宝员工回应
以下为车款追讨群内的真实发言。
“这车置宝太坑了,起诉不给立案,报警没用,经侦也不管”;
“跟大家一样,收了一千定金,把车拉过去,说24小时内打款,推了两三天没打说客户没来提呢,我就过去把手续拿回来了,等客户到了在拿过去,结果又过了几天说车取走了,马上安排打款到现在了”;
欠了我22万多,啥都没看到。

5月,深圳某车主举报后收到的回复短信
• 关于尾款,要求车主/车商令签订分期打款合同
不少车主/车商反应,关于拖欠的“尾款”,车置宝一直想方设法让他们签署“分期打款合同”。
在追讨车款的期间,车置宝妄图诱骗我签订另一份合同,称分期打款,我拒绝;
……拿了车,一直拖欠车款……还篡改电子合同,改成分期付款。改成分期也没看到他们付钱;
……现在都半年了还没给,后面签了分期还款协议,3月15号开始每期还五分之一,现在都过了两期了没人解决,打电话没人接;
(以上为黑猫投诉上用户投诉内容)
• 购车地无法解决追款问题,只能上南京总部
在车主/车商看来,最无奈的地方在于:无论是报案、还是私人追款,都很难有进度可言。
车主群内,关于“追款”的艰辛,很多人都无可奈何。
投诉电话就没打通过;
说是叫法院起诉,我想肯定已经有不少人走过法律途径了,然而并没有人说得到解决;
我广州的有几个车主也是一样,报警什么都无用,叫我们经法院,但要去南京起诉;
…

车款追讨群热议
在一个“高价卖车,选车置宝就对了”的帖子下方,跟帖的几乎全是“车置宝坑”、“车款不到账”、“维权”等相关字眼。

• 员工工资一拖再拖,签订“终止劳动合同通知书”
此前,现代快报曾报道:“南京 " 车置宝 " 被曝拖欠员工两个月工资,总额高达 700 余万元”。
亦有员工曝料:南京车置宝现在车商、车主和员工的钱,已经达到3个多亿了...
在3月15日,车置宝员工在网上发出一张“终止劳动合同通知书”。

图片来源:车置宝吧
更有网友曝料:解除和终止劳动合同证明书上的劳动者签名都敢代签。在劳动者不知情的情况下(个人自愿提出解除劳动关系)。
一直到5月3日,才有网友在贴吧回复“拖欠的工资终于发了一部分”:技术全额发了,其他人2000。

四、创始人多次公开回应:不要听信谣言
2020年1月开始,针对车置宝的种种负面新闻,车置宝创始人兼CEO黄乐做出过多轮回应。
1月6日,黄乐回应:“目前车置宝各个部门、各条业务线正常运作,请车主、车商不要听信谣言。”;
3月11日,黄乐回复新京报记者称,“预料之中,积极面对。多视频会议吧。”;
3月20日,黄乐公开回应“多方欠款”何时发放:拖欠的工资会在 5 月 30 日之前发放;
3月25日,黄乐接受了《中国企业家》电话专访,首次面对媒体回应质疑:还是我们自己管理的问题。
他认为:车置宝的竞争战略没有错,问题还是出在资金管理和把控上。
在面对《中国企业家》杂志(CE)专访时,黄乐公开回应了“两头骗”、“欠款”及“公安机关进驻调查”等相关内容。

内容截图于微信公众号:中国企业家杂志
以上回应,黄乐核心表达了三个信息:
1、对于负面新闻,车置宝的策略是:沉默;
2、车置宝欠款是确有其事,但不是欺骗,是由于银行抽贷所导致;
3、对于公安机关进驻调查,车置宝积极配合。
五、从估值70亿到跌落神坛,车置宝能否翻盘?
成立于2010年的车置宝是南京的“明星企业”,曾在2018年获得南京市政府颁发的“独角兽企业”殊荣。
2019年底,胡润研究院发布的《2019胡润全球独角兽榜》中,车置宝以70亿元估值进入榜单,与滴滴、Airbnb、小红书等明星公司一起入选胡润全球“独角兽企业”。
曾经的诸葛修车,估值也才60亿。
2019年11月,车置宝还宣布:与浙商银行达成100亿战略合作;到了12月,却变成了“收了车不给钱,济南车置宝”。
这两条新闻的发布时间,隔了不到一个月。

从吸睛无数的“独角兽”,到被疯狂*债追**的“毒角兽”,车置宝的创业之路之所以遭遇难关,真的只是黄乐所说的“资金管理和把控”问题?
有媒体评论:很难把车置宝的危机归结为某种单一的原因,其所面临的资金流危机、用户信任危机、市场竞争以及自身瓶颈,是创业者所面临问题的集中体现。
如今,追讨车款的车主/车商依旧前赴后继,不少车主决定“再去南京”、“请律师”,车置宝的用户信任危机可谓空前,黄乐想要“争口气,翻盘”的梦想,不知道能否实现。
至少,3月份黄乐所说的“至少超10亿”融资资金,仍未有到账消息流出。
参考文章:
中国企业家杂志:小败局|跑路?涉嫌诈骗?这家漩涡中的二手车公司创始人首次回应质疑
中国经营网:从估值70亿元到跌落神坛 昔日“独角兽”车置宝绝地求生