天天财经讯,据北交所网站公告,北交所上市委员会定于9月20日召开今年第55次审议会议, 审议的发行人为昆山万源通电子科技股份有限公司(以下简称“万源通”)。
天天财经了解到,万源通成立于2011年6月, 本次万源通拟募集资金3.50亿元, 分别用于新能源汽车配套高端印制电路板项目(年产50万平方米刚性线路板项目)、补充流动资金与偿还银行*款贷**。

(图源:万源通官网)
万源通是一家专业从事印制电路板研发、生产和销售的企业,产品涵盖单面板、双面板和多层板,产品广泛应用于消费电子、汽车电子、工业控制、家用电器、通信设备等领域。盈利模式系按照客户的定制化需求研发、生产并销售不同类型的PCB产品。

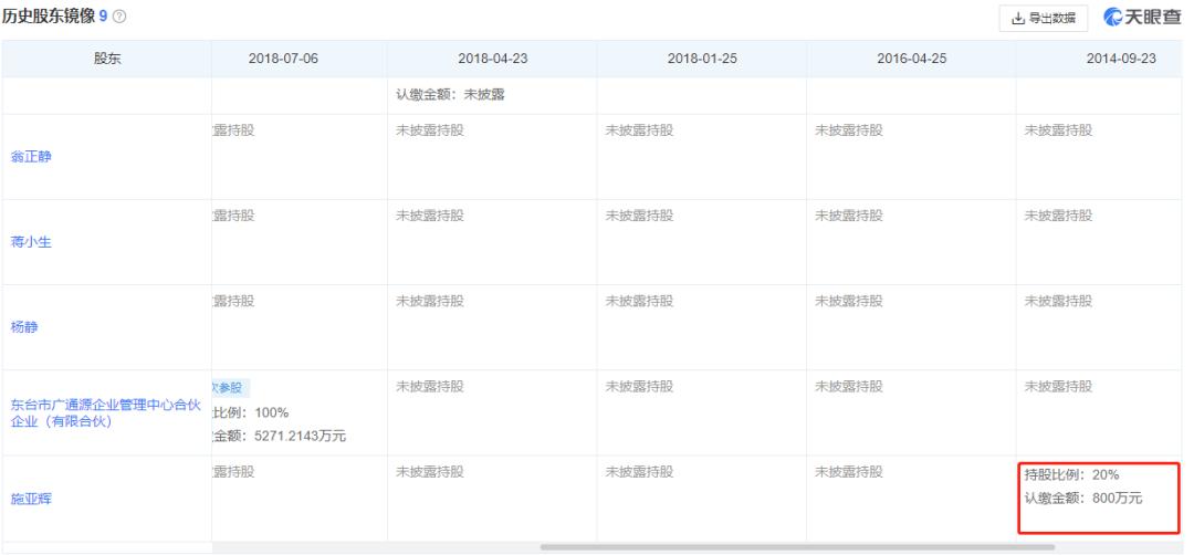
曾经的二股东以800万元转让20%股权
据《招股书》显示,公司董事长王雪根直接持股比例为45.64%,合计控制公司50.84%表决权,是万源通的控股股东和实际控制人。而万源通总经理、董事汪立国直接持有公司19.56%股份。

(图源:万源通招股书)
其实, 万源通在2020年-2022年内进行过两次融资, 一次发生在挂牌之前的2020年,通过增资扩股引入外部投资人和投资机构;一次发生在新三板挂牌之后,通过公开定向增发引入了10位自然人股东。
天天财经调查发现,万源通其实早已尝试与资本市场进行接触。
早在2015年时,上市公司上海三毛拟作价3.3亿元收购万源通有限(万源通前身)100%的股权。交易对方为王雪根、施亚辉、汪立国。值得注意的是,当时的第二大股东施亚辉,占有20%的公司股份,而汪立国彼时仅占有14%。
不过,这一收购事项并未成功实施。

(图源:万源通官网)
2015年10月,上海三毛控股股东要求上市公司与交易对方就重组方案中的交易对价、发行股份锁定期及业绩奖励进行进一步的磋商和修订。对于上海三毛拟定的调整方案,万源通有限的三方股东并不同意,最终重组事项宣告终止。
而万源通对资本市场并未死心。
2020年12月,万源通与光大证券签署IPO辅导协议, 江苏证监局官网显示,几个月内,光大证券也先后发布了三期万源通上市辅导工作进展报告。到了2022年1月,万源通却向全国股转系统提交了申报文件,拟转道新三板创新层挂牌。总体来说,万源通挂牌新三板之前,虽然多次增资扩股,但是王雪根、汪立国始终掌握着公司大部分股份。
可以说,在万源通的发展历史上,王雪根、汪立国始终处于核心位置。

(图源:天眼查)
值得注意的是,天天财经调查发现,2016年4月, 施亚辉以总价800万元将其持有的20%万源通有限股权转让给了王雪根、汪立国。

(图源:天眼查)
而关于那次二股东转让大股东的价格的公允性,无论是挂牌新三板,还是目前申请北交所上市,相关资料中均未提及和说明。

(图源:问询函回复文件)
天天财经查阅审核问询函回复文件中发现, 万源通的解释为自由协商定价。

毛利率低于同行5个点
据招股书显示,万源通本次拟通过扩大多层板、特殊基材的中高端PCB板产能和多层化方向转型等项目的实施,来增加高端印制电路板产品占比,以来坚实产能基础。

(图源:万源通招股书)
然而天天财经了解到, 这几年万源通的毛利率水平并没有随着业务规模增加而上升,反而出现了持续下滑的情况。 公司主营业务成本中直接材料占比分别为56.75%、62.91%和67.53%,原材料成本占主营业务成本的比重较大。

(图源:万源通招股书)
同时,若原材料价格出现大幅波动,且公司不能及时有效地将原材料价格波动压力向下游传导或通过技术工艺提升抵消成本波动,将会对公司毛利率水平产生不利影响,从而影响公司整体盈利水平。

(图源:万源通招股书)
天天财经调查发现,报告期内万源通的整体毛利率水平分别为17.48%、12.00%和17.83%,可比公司毛利率平均水平分别为25.81%、21.11%、22.16%, 毛利率大幅低于可比公司且报告期内波动较大。 万源通解释称主要受销售价格、原材料价格以及制造费用变化影响。

报告期内存多处财务不规范情形
2020年-2022年期间,万源通全资子公司昆山广谦与江苏广谦存在通过供应商转贷的情况,金额合计3,560万元,转贷主要通过昆山誉超电子有限公司、上海大示电子产品有限公司进行,而其相关供应商注册资本及参保人数较低。
此外,万源通子公司昆山广谦存在将大额银行承兑汇票背书转让给供应商后换取小额票据的情况。

(图源:问询函回复文件)
北交所要求万源通说明票据找零的具体情况,包括涉及交易对方、票据类型、*票开**方及金额,交易是否真实发生、定价公允,是否存在通过票据交易进行利益输送的情形。
天天财经了解到万源通的回复是,2021年2月后,公司及子公司未再发生该等情况。同时,公司加大了与昆山农商行的票据池业务合作,以此替代传统的“大票换小票”等不合规的票据使用方式。

资产负债率高于同行
目前万源通发展的资金来源主要通过债务筹资,融资渠道较单一, 资产负债率保持在较高水平。

(图源:万源通招股书)
在2020年末、2021年末和2022年末的资产负债率分别为70.96%、75.42%、68.14%,高于同行业可比上市公司平均水平;流动比率分别为0.89、0.83、0.87,速动比率分别为0.73、0.65、0.71,总体低于同行业可比上市公司平均水平。

(图源:万源通官网)
截至2022年12月31日,万源通的短期借款余额为3.23亿元, 资产负债率较高且银行借款较大,存在一定的偿债风险,如果利率上升,公司财务费用将增大,对其经营业绩产生不利影响。

主要客户流失情况遭问询
天天财经注意到,万源通来自前五大客户的收入占比分别为42.54%、44.83%和46.75%,整体较为稳定。台达集团是公司报告期内第一大客户,收入占比超过10%。

(图源:万源通招股书)
不过,2020年度的第二大客户群光集团在2022年退出前五大客户,新普科技(重庆)有限公司在2022年度新成为公司的前五大客户。
天天财经查阅审核问询函回复文件后发现,万源通解释在2022年,群光集团退出前五大客户主要系公司新开发的高端消费电子客户新普科技销售额增加进入前五大客户所致,群光集团在2022年度仍为公司的第6大客户。

(图源:IC photo)
之前,万源通股东曾与投资者签订对赌协议,承诺2023年11月底前IPO上市。但今年3月15日至4月20日,公司的股东王雪根、汪立国已与四家相关公司协商一致,签署了相关协议, 解除了对赌回购义务。 这次冲击北交所能否闯关成功,天天财经将持续关注。