
垂直医药领域“创意-发明-转化”的一站式服务平台
8月20日,海慈医疗集团血液透析团队宣布成功为一名难以建立自动静脉内瘘的尿毒症患者实施了人工血管动静脉内瘘术。
9月18日,宝特莱发布公告获得血液透析浓缩物的医疗器械注册证,并宣称已覆盖国内大部分医院及血液透析中心,实现了国内市场占有率第一。
9月19日,费森尤斯医疗宣布在中国正式推出4008ATM血液透析设备,这是费森尤斯医疗位于上海的中国研发中心和德国研发团队在互惠合作下共同研发的重大创新成果。

血液透析
在这一系列的新闻背后,我们能感受到透析领域蓬勃的生机和其背后不断发展的技术革新。
目前血液透析是治疗终末期肾病的首选方案。然而据统计,在2016年,我国规律透析患者占比仅为22%,仍远低于发达国家70-90%的平均水平。预计到2030年,我国终末期肾病患者人数将突破400万人,届时透析治疗人数将达到150万人,按年透析费用7.5万元计算,我国的血液透析市场规模预计超过1400亿元。
那么血液透析领域现如今状态如何?血液透析领域未来的发展又面临着怎样的挑战和机遇?在今天这篇文章中,我们会从耗材和设备两个方面对血液透析领域的专利技术及发展进行梳理和解析,带领大家一起来看看这块千亿级的大蛋糕究竟应该怎么吃。
1. 原理解析
透析是利用半透膜将小分子和大分子分离的一种技术。在医学中,透析被用来替代因为肾衰竭而丧失功能的肾,俗称"洗肾"。
透析一般分为血液透析和腹膜透析,其中血液透析是最常见的透析类型,也是本文详解的对象。此过程使用血液透析仪去除血液中的废物和多余的液体。血液从体内排出,并通过人造肾脏过滤,然后在透析机的帮助下将过滤后的血液送回体内。血液透析需要医生进行手术在患者血管中创建一个入口点,可为动静脉瘘、AV移植或血管通路导管,其中动静脉瘘连接动脉和静脉,是最普遍的选择。

透析一般分为血液透析和腹膜透析
在这里我们需要区分一下血液透析、血液滤过和血液透析滤过三者间的区别和联系。血液透析仅仅能够将病人体内的小分子代谢产物、有毒物质和多余的水分排除体外,而血液滤过则可以将病人体内的中、小分子物质全部滤过而排出体外。血液透析滤过技术综合了两者的优点,不但能够高效地清除病人体内的小分子物质,还能充分地清除体内的中分子代谢废物,大大减少了因普通血液透析对中分子代谢毒素清除不足和因血液滤过对小分子毒素不能充分清除所引发的并发症及不良反应等的发生。

血液过滤与血液透析的区别

血液透析原理示意图
在血液透析中,使用透析机和称为"人造肾"的特殊过滤器或透析器来清洁血液,其结构一般分为两部分,一部分用于血液,一部分用于透析液。薄膜将这两部分分开,血细胞、蛋白质和其它重要物质因尺寸太大而无法穿过膜,血液中较小的废物,例如尿素、肌酐、钾和多余的液体会穿过膜并被冲洗掉。
那么什么情况下需要进行血液透析治疗呢?一般来说,正常工作的肾脏可以清除体内的废物和体液、平衡血压,并确保血液中含有适量的矿物质。当肾脏因疾病无法维持身体机能时,患者即需要血液透析治疗或肾脏移植。
2. 血透膜
血透设备主要由透析机、透析器、配套的血路和透析液等医疗产品构成,其中透析器又称"人工肾",是血液透析的功能性部件。
目前透析机设备主要以外资品牌为主,而国内公司在透析管路和透析液等耗材及透析药品领域市场份额领先。在对专利领域进行分析时我们也能看到,大多数专利申请集中在透析膜的技术改良上。下面选取市场价值较高的部分专利技术进行介绍。
透析膜为核心耗材,对膜的传递特性、表面性质要求非常高。透析膜的材料主要分为纤维素膜和合成膜,合成膜主要是聚苯乙烯(PS)、聚醚砜(PES)和邻苯二甲酸酯(PAES)膜等。

透析膜的常用材料
CN104437127A中的聚酯抗凝血血液透析膜以磷脂化的聚酯聚合物为主要膜材料,加入少量壳聚糖纳米颗粒制备的中空纤维膜,平均内径为132-280μm,壁厚38-68μm。该透析膜具有良好的生物相容性,其所制备的中空纤维膜具有较强的耐压能力,避免长期使用造成孔径缩小或关闭、降低透析效率等问题。
CN105311974A中以聚砜血液透析膜为改性目标,制备了含有聚砜或聚醚砜与丙烯酸的三嵌段共聚物,将嵌段共聚物与制膜聚合物共混制备血液透析膜,再利用改性剂中的活性位点将肝素接枝到膜表面,得到具有抗凝血性能、高度生物相容性的血液透析膜。
CN106466562A将丙烯腈与甲基丙烯酸乙酯进行自由基聚合反应共聚物并加入聚砜(PSF)及溶剂共混配制成膜液,纺丝制备中空纤维膜,所得中空纤维膜可借由硝酸铈铵接枝引发剂改性接枝上任何适宜单体。

可借由硝酸铈铵接枝引发剂改性接枝上任何适宜单体的混配制膜液
CN103316600A中是一种在聚乳酸血透膜表面固定肝素的方法。聚乳酸具有良好的成膜性,但同时具有一定疏水性,而血液透析膜材料要求具有一定亲水性,这样可减少对蛋白质和血细胞的吸附,避免凝血。因此本发明利用多巴胺的自聚与附着行为,修饰聚乳酸的表面,进一步在膜表面共价固定肝素,得到亲水性好且具有抗凝血作用的聚乳酸中空纤维血液透析膜。
CN106466563A将聚乙烯吡咯烷酮与去离子水水解催化得到具有羧基和胺基活性基团的改性聚乙烯吡咯烷酮,将血液透析膜浸泡其中即可得到含有改性聚乙烯吡咯烷酮基团的功能层。

含有改性聚乙烯吡咯烷酮基团的功能层
CN106943898B利用自由基聚合反应在聚砜血透膜表面固定甲基丙烯酸缩水甘油酯(GMA),通过缩水甘油醚反应将包裹粉末接枝到聚砜(PSf)微孔膜表面,从而得到亲水性显著提高、可缓释抗凝聚砜血液透析膜。
3. 血透机
国内单次透析费用约500-600元,其中透析器是整个透析治疗的关键,技术壁垒也最高。国外血透设备企业主要包括费森尤斯医疗、DaVita、瑞典金宝等,国内血液透析机生产企业主要有广州暨华、重庆山外山、重庆奥凯龙、威高集团等。
目前,便携式透析机是领域内技术改良的大热方向。而国内多家医疗公司也在积极寻求与国外的技术合作,力求弯道超车。至今尚没有一款家用便携式血液透析设备在国内上市,而在澳大利亚、新西兰等国家,便携式血透设备使用比例已经高达30%以上。

便携式透析机
由于世界主流使用的血透机运行时消耗的水量巨大、配套水处理的系统复杂、安装费用和使用成本都居高不下,所以便携式透析设备的设计要求是高于传统透析机的。目前其主要技术难点在于合适的血管通路,而通路的形状设计、所需的生物材料和皮肤接口处的设计等也都可以进一步革新。当然最大的挑战在于保证透析效果的同时缩小透析机的体积并提供充足的动力来源。
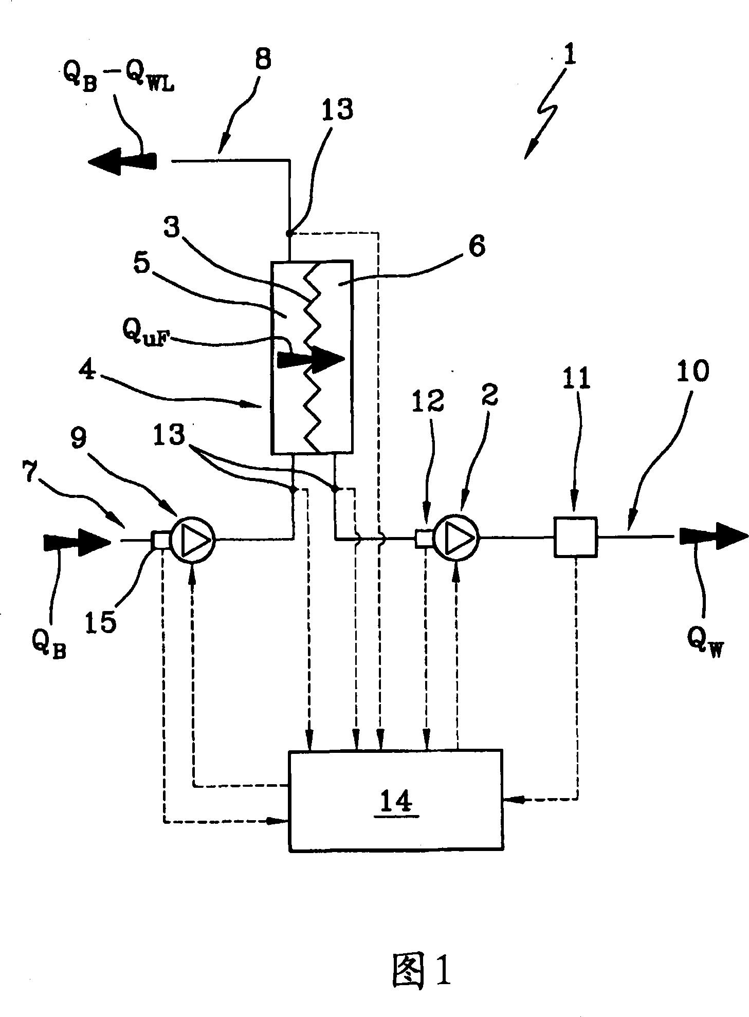
首先我们来看看专利CN101010110A,其属于瑞典隆德,是领域内的经典技术。从该专利中我们可以了解到更多目前市面上主流血透机的工作原理。
在血液透析处理中,预定成分的无菌流体被引入到过滤器的非血液腔室中,通过压力梯度超滤半透膜从血液中去除液体。通过薄膜的溶质交换主要是通过由于溶质的浓度梯度而导致的扩散实现的。在这一过程中,从治疗开始到结束移除的液体总质量是治疗中最重要的参数之一,并通常在治疗开始时将其设定为目标值。可以通过优化注入速率、跨膜压、重量减轻量和注入总量等参数达到使患者的重量减轻效率最优、减少透析的时间或增加相同处理时间移出的流体量等效果。

瑞典隆德的专利技术是市面上主流血透机的工作原理
在此基础之上,技术改良的方向集中在将各个功能单元模块化以便于生产应用、维修等,同时简化通路设计,使得血透机整体体积缩小,便于携带。
例如CN105120914A公开了一种便携式透析机,具有可分离的控制器单元以及带有经过改进的储液器加热系统的底座单元,其具有改良的模块化、易用性和安全特性等优点。这种透析机结构紧凑,集成包括流体加热、流体计量和监测、泄露监测以及中断检测等关键功能,能快速均匀地加热流体。

能快速均匀地加热流体的便携式透析机
而CN1830494A中是一种医用血液透析滤过机,能同时进行血液透析滤过治疗,对中小分子物质的清除效果都好,可以在线产生无菌无热源的置换液,其结构中的两个浓缩泵吸入不同浓缩液与反渗水按一定比例进行配置后混合生成透析液,并采用子离子浓度检测装置进行监测,保证透析液例子浓度精确,能适用于不同浓缩液配方。该发明中同样带有除气装置对加热后的反渗水进行除气处理,保证了治疗的安全和充分。

可以在线产生无菌无热源的置换液的安全医用血液透析滤过机
DEKA品牌是一家来自美国的新兴医疗公司,其创始人正是电动平衡车Segway的发明人迪恩卡门。该公司现着重于发展新型医疗器械,而便携式血透机自然也是其关注目标之一。
该公司旗下的美国专利US9539379B2中推出了一款便携式血透机,其包括一个或多个透析器泵提供足够动力使血液在血透机和使用者体内循环。血透机外壳上包括一对垂直并排的门,这些门铰接安装在门上,以便门可在打开和关闭位置之间移动。当门处于打开位置时,操作员可以使用血液回路连接和透析液流体连接,而关闭时则会关闭患者通道和透析液的流体连接,门的设计使得热量得以保留,在消毒周期内进行消毒。

能提供充足动力的便携式血透机
US8562834B2包含用于执行血液透析的合适组件,使血液循环通过透析器的一个或多个泵,透析液源或多个泵。同时包含用于具有壳体的动力单元,以及具有壳体的动力单元,该壳体包括提供动力的部件,以回声连接,以压力或真空形式的气动动力给泵提供动力。

以压力或真空形式提供动力的血液透析的合适组件
我国从上世纪80年代起就有学者从事透析机研发,但由于生产工艺达不到要求或技术上无法攻克比例泵、平衡腔及复杂的水路控制系统等,因而始终没有形成完备产品。而到后期,长期盘踞国内市场的进口厂家开始不断营造技术壁垒和强化市场垄断,使得国有品牌的发展愈发困难。
近年来我国进口透析机的增速略有下降,说明国产品牌透析机正在抢夺市场份额。目前仅有4家内资企业具有透析机制造注册证,国产企业依旧面临巨大挑战。
如今国家大力支持自主技术的发展,与地方卫计委发布了一系列政策鼓励独立血液透析建设,血透服务领域逐渐出现了越来越多国内公司积极竞争的身影。业界认为血透领域未来的发展趋势是新材料、新产品不断创新开发,新技术、新型透析模式逐步进入临床应用,并最终达到终末期肾病患者多层次、个性化的需求满足。而这也正是我们本土医疗公司踏入该领域所需要考虑的未来发展方向。
在祖国华诞70周年之际,我们看到本国高新技术在各个领域百花齐放。可以期待在不远的未来,拥有我国完全自主知识产权的血透设备也将走进我们的生活。
我是DR发明家
垂直医药领域“创意-发明-转化”的一站式服务平台