以前农村盖房都是自个儿画个户型然后直接交给村里施工队建,现在不一样了,都是找专业的设计师设计。不过咱们老百姓也不是专业人员,这些图纸咱们也看不懂,但又怕被忽悠。其实图纸难就难在复杂的代号,看懂那些代号图纸也就基本懂了。
今天“住宅公园”为大家献上一套常用的建筑代号和图例,自己在家也能看懂图纸啦!

建筑
建筑构件代号▼
板:扁平矩形建筑材料板。代号: B
屋面板 : 直接承受屋面荷载的板。代号:WB
空心板:混凝土浇筑,将板的横截面做成空心。代号: KB
槽形板:梁板结合的构件。 代号: CB
折板:多块条形平板组合而成的空间结构。代号: ZB
密肋板:在板的一侧增加一些小梁,配筋后浇注的钢筋混凝土板,就叫做加肋板。如果肋的条数多,则叫做密肋板。代号: MB
楼梯板:指楼梯休息平台之间的板。代号: TB
盖板或沟盖板 :采用钢格板制造的沟盖板。代号:GB
挡雨板或檐口板:结构外墙体和屋面结构板交界处的屋面结构板顶。代号: YB
吊车安全走道板:用来检修吊车。代号: DB
墙板:由墙和楼板组成承重体系的房屋结构。代号: QB
天沟板 :建筑物屋面两胯间的下凹部分。代号:TGB
梁:由支座支承,承受的外力以横向力和剪力为主,以弯曲为主要变形的构件。代号: L
屋面梁 :在屋面结构中承受来自檩条、屋面板压力的主要结构构件。代号:WL
吊车梁:用于专门装载厂房内部吊车的梁。代号: DL
单轨吊:吊挂在巷道上空的特制工字钢作轨道。代号: DDL
轨道连接:连接吊车轨道。代号: DGL
车挡:是以片石浆砌而成,也有以钢轨焊制的阻挡物。代号: CD
圈梁:房屋的基础上部的连续的钢筋混凝土梁。代号: QL
过梁:砌体结构房屋墙体门窗洞上常用的构件。代号: GL
连系梁:联系结构构件之间的系梁。代号: LL
基础梁:地基土层上的梁。代号: JL
楼梯梁 :楼梯的主要承重结构,通常在踏板下。代号:TL
框架梁 :两端与框架柱相连的梁,或者两端与剪力墙相连但跨高比不小于5的梁。代号:KL
框支梁:当布置的转换梁支撑上部的剪力墙或柱子的时候,转换梁叫框支梁。代号: KZL
屋面框架梁:承受屋架的自重和屋面活荷载。代号: WKL
檩条:与屋顶长度平行的水平部件,位于主椽上,支撑次要屋椽。代号: LT
屋架 :用于屋顶结构的桁架,它承受屋面和构架的重量以及作用在上弦上的风载。代号:WJ
托架:托架因起梁的作用所以也叫托架梁,支承中间屋架的桁架称为托架。代号: TJ
天窗架:天窗支撑架。代号: CJ
框架 :由梁、柱等联结而成的结构。代号:KJ
刚架 :由梁和柱组成的结构,各杆件主要受弯。代号:GJ
支架:起支撑作用的构架。代号: ZJ
柱:是建筑物中垂直的主结构件,承托在它上方物件的重量。代号: Z
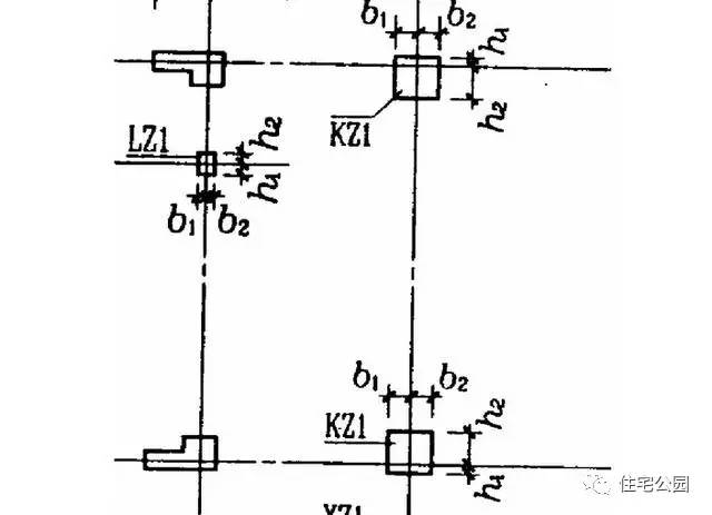
框架柱:框架结构中承受梁和板传来的荷载,并将荷载传给基础,是主要的竖向支撑结构。代号: KZ
构造柱 :砌体房屋墙体的规定部位,按构造配筋,并按先砌墙后浇灌混凝土柱的施工顺序制成的混凝土柱。代号:GZ
承台:承受、分布由墩身传递的荷载,在桩基顶部设置的联结各桩顶的钢筋混凝土平台。代号: CT
设备基础:大中型设备需要安装在钢筋混凝土台或钢制台基础上,有时还需要制造出埋设安装设备的底脚螺栓的孔,这个平台一般比设备略大,这就是设备基础。代号: SJ
桩 :打入地中以固基础的木橛,有很高的竖向承载力。代号:ZH
挡土墙 :支承路基填土或山坡土体、防止填土或土体变形失稳的构造物。代号:DQ
地沟 :屋面雨水管接到散水上后在散水边做的排水沟叫地沟。代号:DG
柱间支撑 :保证建筑结构整体稳定、提高侧向刚度和传递纵向水平力而在相邻两柱之间设置的连系杆件。代号:DC
垂直支撑 :设在两屋架端部或跨中某处有水平系杆的平面内。代号:ZC
水平支撑 :限制某物体发生水平方向位移的装置或构件。代号:SC
梯:楼梯。代号: T
雨篷:建筑物进出口上部的遮雨、遮阳篷。代号: YP
阳台:永久性上盖、有围护结构、有台面、与房屋相连、可以活动和利用的房屋附属设施。代号: YT
梁垫 :大梁支承于砖墙上时,为了增加梁支座处砖墙的承压面积,在大梁与砖墙的接触面处设置的一个横向短梁。代号:LD
预埋件:在结构浇筑时安置的构配件,用于砌筑上部结构时的搭接。代号: M
天窗端壁:天窗端部的山墙。代号: TD
钢筋网 :纵向和横向钢筋十字交叉通过绑扎或焊接制作而成的网。代号:W
钢筋骨架 :钢筋组合在一起,形成一个完整的网架。代号:G
基础 :结构所承受的各种作用传递到地基上的结构组成部。代号:J
暗柱:边缘构件的一种形式,主要作用是在墙平面内弯矩作用时,承担弯矩引起的拉和压应力。代号:AZ

建筑构造图例▼
底层楼梯
图例:

中间楼梯层
图例:

顶层楼梯
图例:

单、双扇弹簧门:装有弹簧合页的门,开启后会自动关闭。
图例:

转门:三扇或四扇门连成一个风车形,固定在两个弧形门套内旋转的门。
图例:

单层固定窗:单层不能推动的窗户形式。
图例:

单层外开平开窗:采用外开式的开启方式的单层窗。
图例:

检查孔:供修理人员进行检修或检查的孔。
图例:

孔洞:检查孔洞。
图例:

墙预留洞:建筑施工的时候,都会预留规格不等的孔洞,主要为了以后配套设施的铺设。
图例:

烟道、通风道:废气和烟雾排放的管状装置。
图例:

新建的墙和窗
图例:

左右推拉窗:左右推拉开启的窗,不占据室内空间。
图例:

单层外开上悬窗:向室外方向开启的上悬窗。
图例:

入口坡道:建筑入口的坡道
图例:

空洞门:还未设置门。
图例:

单、双扇门:单开就是单扇门,双开就是双扇门。
图例:

双扇推拉门:双扇推拉开启的门。
图例:

桥式起重机:横架于车间、仓库和料场上空进行物料吊运的起重设备
图例:

电梯:服务于规定楼层的固定式升降设备。
图例:


建筑材料图例▼
自然土壤(包括各种自然土壤)
图例:

夯实土壤:回填的土密实度不是很高,采用夯实的方法使土的密实度提高。
图例:

砂、灰土:土壤颗粒组成中砂粒含量较高的土壤和具有灰化淀积层的矿质土壤。
图例:

砂砾石、碎砖三合土:由石灰、黏土和细砂所组成,一般用于地面基层。
图例:

天然石材:从天然岩体中开采出来的,并经加工成块状或 板状材料。
图例:

毛石:不成形的石料,处于开采以后的自然状态。
图例:

普通砖(包括实心砖、多孔砖、砌块等砌体,断面较窄不易绘处图例线时,可涂红。)
图例:

耐火砖(包括耐酸砖等砌体):用耐火黏土或其他耐火原料烧制成的耐火材料。
图例:

空心砖(指非承重砖砌体)
图例:

饰面砖:从使用部位上来分主要有外墙砖、内墙砖和特殊部位的艺术造型砖3种。
图例:

混凝土(指能承重的混凝土;包括各种强度、等级、骨料、添加剂的混凝土;在剖面图画出钢筋时,不画图例线;断面图形小,不易绘出图例线时可涂黑。)
图例:

钢筋混凝土(指能承重的混凝土;包括各种强度、等级、骨料、添加剂的混凝土;在剖面图画出钢筋时,不画图例线;断面图形小,不易绘出图例线时可涂黑。):由钢筋和混凝土构成的结构或构件。
图例:

焦渣、矿渣(包括水泥、石灰等合成材料)
图例:

多孔材料(包括水泥珍珠岩、沥青珍珠岩、泡沫混凝土、非承重加气混凝土、软木、硅石制品等。)
图例:

纤维材料(包括矿棉、岩棉、玻璃棉、麻丝、木丝板、纤维板等。)

泡沫塑料材料(包括聚苯乙烯、聚乙烯、聚氨酶等多孔聚合物材料。)
图例:

松散材料:松散颗粒组成的材料。
图例:

木材(上图为横断面,上左图为垫木、木砖或木龙骨;下图为纵断面。)
图例:

胶合板(应注明为x层胶合板):由木段旋切成单板或由木方刨切成薄木,再用胶粘剂胶合而成板状材料。
图例:

石膏板(包括圆孔、方孔石膏板、防水石膏板等。)
图例:

金属(包括各种金属;图形小时,可涂黑。)
图例:

网状材料(包括金属、塑料网状材料;应注明具体材料名称)
图例:

液体(应注明具体液体名称)
图例:

玻璃(包括平板玻璃、磨砂玻璃、夹丝玻璃、钢化玻璃、中空玻璃、夹层玻璃、镀膜玻璃。)
图例:

橡胶
图例:

塑料(各种软、硬塑料及有机玻璃)
图例:

防水材料(构造层次多或比例大时,采用上面图例。)
图例:

粉刷(本图例采用较稀的点)

(图例中斜线、短斜线、交叉斜线一律为45°。)

结构
结构构件代号▼
梁:由支座支承,承受的外力以横向力和剪力为主,以弯曲为主要变形的构件称为梁。代号: l
连续梁:一种梁具有三个或更多个支承。代号: ll
圈梁:在砌体内沿水平方向设置封闭的钢筋砼梁。代号: ql
基础梁:地基土层上的梁。代号: jl
梯梁:沿梯子轴横向设置并支承于主要承重构件上的梁。代号: tl
地梁:俗称为地圈梁,圈起来有闭合的特征,与构造柱共成抗震限裂体系。代号: dl
柱:建筑物中垂直的主结构件,承托在它上方物件的重量。代号: z
构造柱:按构造配筋,并按先砌墙后浇灌混凝土柱的施工顺序制成的混凝土柱。代号: gz
门代号:m
窗代号: c
钢筋间距:单根钢筋之间的距离叫做钢筋间距。代号:@
钢筋型号:按化学成分、生产工艺、轧制外形、供应形式、直径大小,以及在结构中的用途进行分类。代号: Φ

柱、墙柱、梁、墙梁代号▼
柱类型:
框架柱:框架结构中承受梁和板传来的荷载,并将荷载传给基础,是主要的竖向支撑结构。代号:KZ
框支柱:支撑框支梁的柱子。代号:KZZ
芯柱:在砌块内部空腔中插入竖向钢筋并浇灌混凝土后形成的砌体内部的钢筋混凝土小柱。代号:XZ
梁上柱:支承梁上柱的梁。代号:LZ
剪力墙上柱:从剪力墙上生根的柱。代号:QZ
墙柱类型:
约束边缘暗柱代号:YAZ
约束边缘端柱代号:YDZ
约束边缘翼墙(柱)代号:YYZ
约束边缘转角墙(柱)代号:YJZ
构造边缘端柱代号:GDZ
构造边缘暗柱代号:GAZ
构造边缘翼墙(柱)代号:GYZ
构造边缘转角墙(柱)代号:GJZ
非边缘暗柱代号:AZ
扶壁柱代号:FBZ
梁类型:
楼层框架梁:两端与框架柱相连的梁。代号:KL;跨数及是否带有悬挑:(XX)、(XXA)或(XXB)
屋面框架梁代号:WKL;跨数及是否带有悬挑:(XX)、(XXA)或(XXB)
框支梁:布置的转换梁支撑上部的剪力墙或柱子的时候,转换梁叫框支梁。代号:KZL;跨数及是否带有悬挑:(XX)、(XXA)或(XXB)
非框架梁:在框架结构中框架梁之间设置的将楼板的重量先传给框架梁的其他梁就是非框架梁。代号:L
悬挑梁:不是两端都有支撑的,一端埋在或者浇筑在支撑物上,另一端伸出挑出支撑物。代号:XL
井字梁:不分主次,高度相当的梁,同位相交,呈井字型。代号:JZL
墙梁类型:
连梁(无交叉暗撑及无交叉钢筋)代号:LL
连梁(有交叉暗撑):代号:LL(JC)
连梁(有交叉钢筋):代号:LL(JG)
暗梁:代号:AL
边框梁:代号:BKL

梁柱结构配筋解释▼
截面注写法:






5ф22表示5根直径为22mm的钢筋。

ф10@100表示直径为10mm的圆钢,间距为100mm。




ф10@100/2表示一级钢筋10的间距加密区100非加密区200,肢数为2肢。


列表注写法:









水电
给排水图例▼
给水管图例:

排水管图例:

水龙头图例:

室外消火栓图例:

通气帽图例:

存水弯图例:

截止阀图例:

洗脸盆图例:

拖布盆图例:

壁挂式小便器图例:

小便槽图例:

蹲式大便器图例:

坐式大便器图例:

淋浴喷头图例:

水泵接合器图例:

地漏图例:

清扫口图例:

止回阀图例:

球阀图例:


方沿浴盆图例:

自动冲水箱图例:

室内消火栓(双口)图例:

水泵图例:

清扫口图例:

室内消火栓(单口)图例:


电气设备代号▼
电桥:用比较法测量各种量(如电阻、电容、电感等)的仪器。代号:AB
晶体管放大器:代号:AD
集成电路放大器:由多级直接耦合放大电路组成的高增益模拟集成电路。代号: AJ
印刷电路板:是电子元器件电气连接的提供者。代号: AP
抽屉柜:控制器。代号: AT
旋转变压器(测速发电机) :是一种电磁式传感器,又称同步分解器。代号:TG
电容器 :容纳电荷的本领为电容。代号:C
发热器件:会发热的电热器件。代号:EH
照明灯代号: EL
空气调节器:用于向封闭的空间或区域直接提供经过处理的空气的一种空气调节电器。代号:EV
过电压放电器件避雷器代号: F
具有瞬时动作的限流保护器件代号: FA
具有延时动作的限流保护器件代号: FR
具有延时和瞬时动作的限流保护器件代号: FS
熔断器:当电流超过规定值时,以本身产生的热量使熔体熔断,断开电路的一种电器。代号: FU
限压保护器件:在电路中出现过电流或过热等异常现象时,会立即切断电路而起到保护的作用。代号:FV
同步发电机:转子转速与定子旋转磁场的转速相同的交流发电机。代号: GS
异步发电机:利用定子与转子间气隙旋转磁场与转子绕组中感应电流相互作用的一种交流发电机。代号: GA
蓄电池:化学能转换成电能的装置。代号: GB
声响指示器代号: HA
光指示器代号: HL
指示灯代号: HL
瞬时有或无继电器,交流继电器代号: KA
接触器:工业电中利用线圈流过电流产生磁场,使触头闭合,以达到控制负载的电。代号: KM
极化继电器:由极化磁场与控制电流通过控制线圈所产生的磁场的综合作用而动作的继电器。代号: KP
*片簧**继电器:干簧管放在线圈里制成一种干簧继电器。代号: KP
延时有或无继电器:预定由某一激励量激励的→种电气继电器。代号:KT
电感器:能够把电能转化为磁能而存储起来的元件。代号: L
电动机:把电能转换成机械能的一种设备。代号: M
同步电动机:由直流供电的励磁磁场与电枢的旋转磁场相互作用而产生转矩,以同步转速旋转的交流电动机。代号: MS
异步电动机:转子置于旋转磁场中,在旋转磁场的作用下,获得一个转动力矩,因而转子转动。代号:MA
电流表:测量交、直流电路中电流的仪表。代号:PA
电压表:测量电压的一种仪器。代号: PV
电能表:测量电能的仪表。代号:PJ
断路器:用来分配电能,不频繁地启动异步电动机,对电源线路及电动机等实行保护。代号:QF
电动机保护开关:作用是给电机全面的保护控制。代号: QM
隔离开关:开关器件。代号: QS
电阻器代号: R
电位器:具有三个引出端、阻值可按某种变化规律调节的电阻元件。代号: RP
端子板:用于电气连接的电子元器件。代号:XT
电磁铁:通电产生电磁的一种装置。代号:YA
电磁制动器:使机械中的运动件停止或减速的机械零件。代号:YB
电磁离合器:靠线圈的通断电来控制离合器的接合与分离。代号:YV
电磁吸盘:是一种理想的磁力夹具。代号:YH
电动阀:用电动执行器控制阀门。代号:YM
电磁阀:控制流体的自动化基础元件。代号:YV
控制开关代号:SA
选择开关代号:XK
按钮开关代号:SB
电流互感器代号:TA
控制变压器代号:TC
电力变压器代号:TM
电压互感器代号:TV
整流器代号:U
二极管代号: V
晶体管代号:B
晶闸管代号:KG
电子管代号:VE
连接片代号:XB
测试插孔代号: XJ
插头代号:XP
插座代号:XS
控制电路用电源的整流器代号:VC

水电图纸代号▼
给水立管代号:JL
雨水力管代号:YL
废水立管代号:FL
污水立管代号:WL
排水立管代号:PL
通气立管代号:TL
热水立管代号:RL
钢管代号:SC;
PVC聚乙烯阻燃性塑料管代号:PC;
桥架代号:CT;
电缆代号:YJV
电视线代号:SYV;
接地(黄绿相兼) 代号:PE;
接零(蓝色)代号:PEN
3相线(火线)代号:A项(黄)B项(绿)C项(红)
千伏(电压)代号:KV
散线代号:BV
总等电位代号:WEB
局部等电位代号:LEB

线路敷设方法代号▼
用塑料管敷设代号:PVC
用电工钢管敷设代号:DGL
用塑料线槽敷设代号:VXG
用金属线槽敷设代号:GXG
用可绕型塑料管敷设代号:KRG

线路明敷部分代号▼
沿屋架或屋架下眩敷设代号:LM
沿柱敷设代号:ZM
沿墙敷设代号:QM
沿天棚敷设代号:PL

暗装线路部位代号▼
暗设在梁内代号:LA
暗设在柱内代号:ZA
暗设在墙内代号:QA
暗设在屋面或顶棚内代号:PA
暗设地面或地板内代号:DA
暗设在不能进如的吊顶内代号:PNA

照明灯具安装方式代号▼
吸顶灯代号:D
链吊式代号:L
管吊式代号:G
壁装式代号:B
嵌入式代号:R
墙壁内安装代号:BR

配电线路的标注方法▼
a-b[c(d×e)f]-g
a表示回路编号
b表示并列电缆或导线根数,一根时可省略
c表示电缆或导线型号
d表示电缆芯线和导线根数
e表示电缆芯线和导线截面,平方毫米
f表示线路敷设方式及保护管管径,毫米
g表示敷设部位

现在你能看懂你家图纸了吗?
微信公众号:住宅公园,500套别墅图纸,别墅设计施工。