你买黄金首饰时,有没有关注到金饰是否有“万足金”的字样?是否有很多人都以为“万足金”代表着含金量很高的意思?其实你错了,“万足金”不是金含量,而是一个商标!!!

笔者网上查询资料发现,按照《首饰贵金属纯度的规定及命名方法》国家对贵金属命名的规定,“千足金”是国家标准中黄金首饰成色标准的最高纯度,而标准中没有“万足金”的相关规定。
据了解,近日,江苏省工商部门公布的打假案例里就有此类误导行为。行政执法机关责令当事人停止违法行为,并罚款3万。
当事人王某称自己是获得商标权利人授权许可才使用的。那为什么违法了呢?经笔者通过商标局查询,当事人使用的35类广告销售类“万足金”商标,由深圳卢金匠珠宝有限公司授权使用,而当事人将35类广告销售类“万足金”商标使用在第14类黄金首饰上,即不符合该商标的限用范围,又违反了《中华人民共和国反不正当竞争法》的有关规定,对商品的质量作引人误解的虚假宣传。



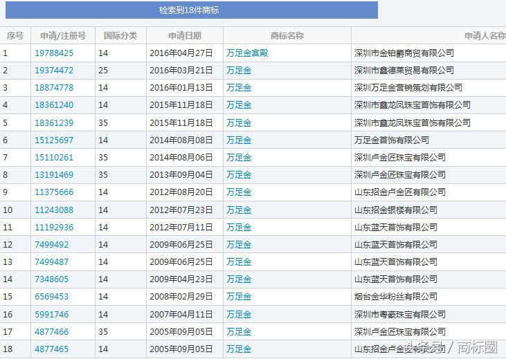
笔者查询到,商标局共有18个“万足金”商标,除了深圳卢金匠珠宝有限公司名下的3个第35类“万足金”商标。大部分的“万足金”商标均为第14类(珠宝饰品)。

“万足金”只是噱头,小伙伴们买金饰要谨慎!如果,你买到一个标有“万足金”的首饰,果断地去向消费者协会举报吧!