中央财大是新中国成立后中央人民政府创办的第一所新型高等财经院校。
中央财大形成了鲜明的办学特色(以经济学和管理学为支撑),被誉为“中国财经管理专家的摇篮”。

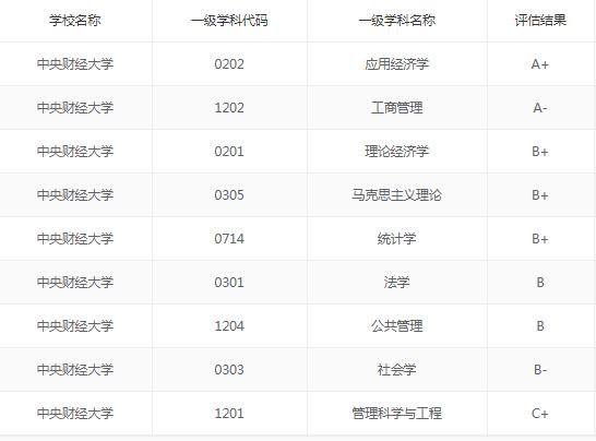
第四轮学科评估结果显示,中央财经大学拥有2个*级A**学科,分别是应用经济学和工商管理。
中央财大的应用经济学全国排名第二,仅次于人大,与北大并列第二,被选入小985工程“经济学与公共政策优势学科创新平台”。
央财和北大、人大不同的是北大的应用经济学重在国民经济学,中央财大的应用经济学,人大则相对全面得多,在国民经济学、金融学、财政学、劳动经济学、统计学均为该校强项,名列第一,名符其实。
1、金融学士是首推专业。
金融学在中央财大是最早设立并最具社会影响的学科专业。该专业是国家重点学科。该专业是根据教育部1998年颁布的本科专业目录,由原货币银行学专业和国际金融专业合并而设立的。金融学专业这几年从整体上看,在报考方面比较热门,其职业前景普遍看好,尤其是考研时候更是热门中的热门。
近几年来,中国金融市场正在走向国际化,对专业性很强的人才需求迫切。金融学方面就业人才的需求主要集中在高端市场,例如高校教师和大公司市场研究分析、基金经理、投资经理、证券公司、保险公司、信托投资公司等。另外,如果能获得一些资格认证,就业面就会更广,就业层次也更高端,待遇也更好,比如特许金融分析师(CFA)、特许财富治理师(CWM)、基金、经理、精算师、证券经纪人、股票分析师等。
目前我国金融人才的结构性矛盾比较突出,下面几类人士还是比较缺乏的:
一是能够充当领军人物的高级管理人才;
二是精通外语、法律及计算机的复合型人才;
三是法律、咨询、中介和会计等方面的高级专业人才,有国际金融经营理念和从业经验的金融人才和金融服务人才匮乏。
另外,金融行业内部诸多中间业务的开展,也需要高级专业人才进入,比如个性化金融产品设计、对客户资金进行资收益等。
2、工商管理是中央财大的老牌专业之一。
会计学是工商管理下设的二级学科之一,也是全国重点学科,会计学专业就业前景非常好,就业率趋近100%。
以上是中央财经大学的学科实力。那么,这样一所高校在河南省的录取分数是多少分?

河南省理科数据

河南省文科数据
从近3年中央财经大学的录取数据看,理科考生的数据波动还是比较大的,文科考生的录取位次依然坚挺。
其实,这也是可以理解的事情,文科考生能选的专业实在是太少,同时财经类专业的就业数据还是相对不错的。
最后,需要提醒家长的是理科类的财经类院校虽然投档线波动,但是热门专业的录取分数位次依然非常坚挺!