
中移动推进实施“大连接”战略,是一次面向数字化创新的系统转型,中移动与包括此次PC服务器中标候选厂商在内的业界合作伙伴共同构建开放、共享的数字化产业新生态体系的决心,是越来越大了。
近日,中国移动2016至2017年PC服务器集中采购项目中标候选名单正式公布,中标候选厂商包括华为、大唐软件、中兴通讯、烽火通信、浪潮电子、亚信等。
随着全球各大运营商数字化转型战略的推进,以PC服务器为代表的通用标准化IT设备已逐渐成为支撑运营商业务发展的重要硬件平台,中国移动近年来对服务器设备采购的规模也越来越大。
采购规模增长超过2倍
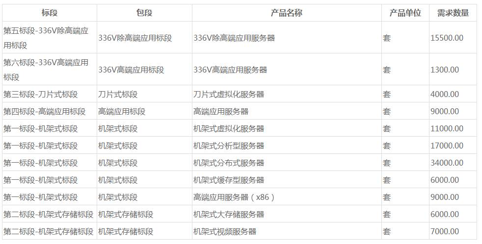
根据2016年11月份中国移动官方显示的招标公告,2016年至2017年集采规模为机架式标段77000套、机架式存储标段13000套、机架式虚拟化服务器4000套、刀片式标段4000套、336V除高端应用标段15500套,以及336V高端应用标段1300套,共涉及的服务器总数量为119800套。
对比2015年至2016年总共46847台的PC服务器采购数量,中国移动此次的PC服务器集采规模增长超过2倍。

在完成评标工作之后,中国移动官方也公布了中标候选者及份额,华为、大唐、中兴、中移全通、浪潮、亚信、烽火和曙光各有份额。
而与2016年中国移动PC服务器集采相比,2017年出现烽火这个新面孔。据悉,烽火此次参与竞标的服务器产品来自于2016年12月22日与美国超微合资成立的烽火超微信息科技股份有限公司。而去年份额最大的中标候选企业佳杰科技,在2017年并未进入中标候选名单,取而代之的是华为份额最大;此外,联想也没有出现在2017年PC服务器集采候选名单中。
中国移动2016年至2017年PC服务器集中采购中标候选人名单
|
标段 |
中标的候选企业 |
|
第1标段-机架式标段 |
华为(40%)、大唐(27%)、中兴通讯(20%)、中移全通(13%) |
|
第2标段-机架式存储标段 |
华为(70%)、烽火(30%) |
|
第3标段-刀片式标段 |
神州新桥(70%)、中兴通讯(30%) |
|
第4标段-高端应用标段 |
亚信(50%)、华为(30%)、曙光(20%) |
|
第5标段-336V除高端应用标段 |
华为、浪潮(30%) |
|
第6标段-336V高端应用标段 |
浪潮(100%) |
中国移动的数字化转型决心
推动中国移动PC服务器采购规模快速增长的原因,正是中国移动当前对数字化转型的决心。随着云计算、大数据、物联网等新技术从概念到实践,业务、用户数据海量式增长,作为承载这些业务发展的服务器需求也再扩大。而中国移动致力于成为数字化创新的全球领先运营商,为此全面实施“大连接”战略,从聚焦管道连接服务向平台级服务和垂直应用领域拓展,打造电信级的端到端信息基础设施体系和内容应用体系。
在2016年,中国移动加快转型升级步伐大力推动从个人用户市场向移动市场、家庭市场、政企市场、新业务发展“四轮驱动”融合发展转变。固网业务得到快速发展, 1-11月家庭宽带用户总数达7325万户;增强ICT服务能力,政企用户通信和信息化收入份额提升到32%。加快物联网业务发展,建成全球最大的物联网专用网络,物联网用户数超过9100万。
而业务转型也给中国移动数字化服务收入与传统业务收入的比例由去年同期的1:1提升为1.5:1。在这样的背景下,以PC服务器为代表的通用标准化IT设备已逐渐成为支撑中国移动业务发展的重要硬件平台,对服务器设备采购的规模也越来越大。
关注通信世界请长按
微信号:CWW-weixin
《通信世界》旗下公众号
最新丨行业丨资讯
关于通信世界
一个全媒体综合服务平台
由工业和信息化部主管,人民邮电出版社主办,
是中国通信产业的前瞻媒体