
6月20日晚间,粤泰股份(600398.SH)发布公告称,延边农村商业银行股份有限公司(下称“延边农商行”)因金融借款合同纠纷向北京金融法院提起诉讼,诉请判令公司向延边农商行偿还融资本金4亿元及截止2021年12月21日利息1.27亿元及相应罚息、违约金。此外,延边农商行还诉请判令粤泰股份下属控股公司北京东华虹湾房地产开发有限公司承担抵押担保责任。

针对该诉讼案件,粤泰股份表示,目前尚未开庭审理,诉讼结果存在不确定性,尚不能确定对公司本期利润或期后利润的影响。
值得注意的是,实际上,该笔*款贷**逾期在2021年底前就已发生,为何延边农商行近半年后才提起诉讼?就此相关问题,本报记者致电延边农商行,对方表示不进行回复。
借道信托,跨省放贷
根据公告,此次跨省放贷是通过“借道”信托达成的。
2018年4月,案外人华鑫信托与延边农商行签订了《资金信托合同》,合同约定延边农商行将4亿元委托给华鑫信托,以华鑫信托名义向粤泰股份发放*款贷**并管理信托财产,与北京东华虹湾签订抵押合同等。随后,华鑫信托与粤泰股份签订了《信托*款贷**合同》,延边农商行按合同约定于2018年4月向华鑫信托支付4亿信托资金,华鑫信托再向粤泰股份履行了放款4亿元*款贷**的义务。
2020年9月,延边农商行与华鑫信托签订债权转让等协议,协议约定将上述信托财产以债权转让方式原状返回给延边农商行。因粤泰股份未能按合同约定按期偿还本金及利息,延边农商行向北京金融法院提起诉讼。
事实上,对于农村中小银行跨省放贷的问题,有关监管部门早有规定。日前,银保监会在举行通气会中明确提出,农村中小银行要坚持信贷资金源于当地、用于当地、小额分散原则,不得吸收异地大额存款,不得发放异地*款贷**,严控大额授信,下沉对本地市场的服务重心。
早在2019年1月,银保监会便曾发布《关于推进农村商业银行坚守定位 强化治理 提升金融服务能力的意见》。“意见”要求农村商业银行应准确把握自身在银行体系中的差异化定位,确立与所在地域经济总量和产业特点相适应的发展方向、战略定位和经营重点,严格审慎开展综合化和跨区域经营,原则上机构不出县(区)、业务不跨县(区)。
记者注意到,延边农商行官网数据显示,其截至2021年10月末的各项*款贷**余额约240亿元,以此计算,粤泰股份此笔4亿元的*款贷**便使延边农商行的不良率达到1.67%,已经接近2021年全国商业银行整体不良*款贷**率1.73%的平均水平。
延边农商行业绩报告显示,近年来,该行业绩疲弱。截至2021年9月,银行总资产为469.43亿元,营业收入由2020年的15.55亿元下降至11.24亿元,净利润由1.35亿元跌至0.33亿元。延边农商行发起设立共计28家村镇银行,截至2020年末,28家银行各项存款合计367.51亿元,各项*款贷**合计286.22亿元,全年净利润合计2.49亿元,同比下降8.69%。
2021年7月29日,评级机构中诚信国际公布跟踪评级报告,对延边农商行主体评级进行了下调。评级报告显示,经中诚信国际信用评级委员会审定,将延边农商行主体信用等级由AA-调降至A+,将评级展望由负面调整为稳定;将“17延边农商二级01”、“17延边农商二级02”和“17延边农商二级03”的信用等级由A+调降至A。
中诚信评级指出,延边农商行在宏观经济下行及疫情影响下,逾期、关注和不良*款贷**持续增长;客户集中度高,房地产相关行业敞口较大,且瑕疵类*款贷**占比较高,未来信贷资产质量下行压力依然较大;非标投资占比较高,单户金额较大且部分风险暴露,集合债变现能力较弱,信用风险和流动性风险管控难度大。息差持续收窄,盈利水平明显下滑,拨备计提有待提升,盈利增长和资本补充面临较大压力;业务品种较为单一,产品创新能力和综合金融服务能力有待提高,业务和收入结构有待改善;发起设立村镇银行拉长管理半径,对该行风险管控能力和人才输出提出了更高要求;关联方授信和集团*款贷**集中度超限,公司治理和风险管理水平亟待提升。
股东质量堪忧
根据官网信息,延边农商行成立于2011年11月15日,是在原延边农村合作银行基础上,引入新的发起人共同发起设立的地方性商业银行,法定代表人为张国维。目前,延边农商银行现有分支机构59个,员工总数1188人,注册资本人民币16.35亿元。
记者了解到,延边农商行背后第一大股东永泰集团股份有限公司刚刚在2021年完成重组工作。
永泰集团持有延边农商行8.87%的股份,前身为永泰控股集团有限公司(以下简称“永泰控股”),旗下有两家上市公司,分别系永泰能源(600157.SH)及海德股份(000567.SZ)。
2020年,发生债务风险的永泰能源先进行破产重整。2021年9月22日,南京市中级人民法院依据永泰科技投资有限公司管理人的申请,裁定受理对永泰科技、永泰集团、海南祥源投资有限公司、海南新海基投资有限公司、永泰城建集团有限公司进行实质合并重整。
2021年12月,永泰能源发布公告表示,南京中院裁定批准公司间接控股股东永泰科技与控股股东永泰集团等五家公司实质合并重整计划,新成立公司即为永泰集团,化解债务近600亿元。该破产案例入选2021年江苏法院破产审判典型案例。
延边农业银行的第二大股东玄盛资本控股有限公司持有其8.26%的股份,该公司曾在2021年和2020年分别被北京市第二中级人民法院和敦化市人民法院列为被执行人,总执行标的1.17亿元。此外,延边农商行股东广东翌泽信息科技有限公司已于2021年6月22日被吊销,但仍出现在该行的股东信息当中。

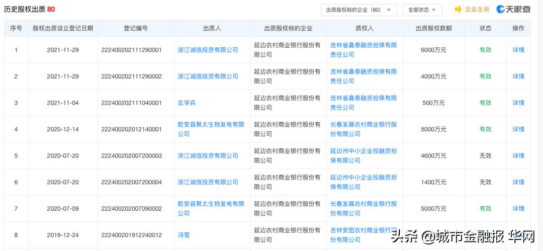
记者还注意到,2021年11月29日,浙江诚信投资有限公司将其所持有的延边农商行共价值1亿元的股份出质给吉林省嘉泰融资担保有限责任公司。此外,该行目前有多项在有效期内的股权出质信息。

另据阿里拍卖官网显示,目前有一场延边农商行30万股份的拍卖即将开始。而此前,该行股份曾有多个流拍记录。延边农商行的股东质量及稳定性属实令人担忧。
此外,记者还了解到,延边农商行因未按要求使用格式条款、对商品或者服务作假或者引人误解的宣传的违法行为,中国人民银行长春中心支行于2022年6月9日决定对延边农村商业银行警告,并处罚款17万元。
文/苏冬梅 张茜楠