专利,今天你申请了吗?的确,科学谷菌也承认申请专利是个耗神的活儿,可是,在3D打印行业跑马圈地的时代,最伤不起的恐怕就是对专利的重视了。
3D打印技术是一个专利高度密集的行业,从技术本身,到应用,软件,材料,材料与应用,材料与行业之间都存在着各种各样的专利。专利是构建3D打印竞争壁垒的有力方式,2016年世界范围的专利申请颇呈现井喷之势...
本期,3D科学谷精选2016年近期国际上颇具代表性的专利,与谷友一起来感受技术竞争发展的趋势
国际

专利名称:光硬化型导电性墨水组成
公布号:WO/2016/002550
申请号:PCT/JP2015/067822
公布日:07.01.2016
申请日:22.06.2015
申请单位:TANAKA KIKINZOKU KOGYO K.K. /田中貴金属工業株式会社
简介:固化的导电性油墨组合物。包括:导电性填料,光聚合性树脂前驱体包括聚氨酯丙烯酸酯低聚物、单*能官**和多*能官**丙烯酸酯丙烯酸醇酸树脂,两种或两种以上的光聚合引发剂和聚合物分散剂。
专利名称:一种滚子轴承的制造方法
公布号:WO/2016/001080
申请号:PCT/EP2015/064505
公布日:07.01.2016
申请日:26.06.2015
申请单位:SKF
简介:涉及到3D打印滚子轴承的制造方法。

专利名称:柔性材料三维原型系统及其方法
申请号:14605266
申请日:26.01.2015
公布号:20160001503
公布日:07.01.2016
申请单位:英业达集团 (www.inventec.com)
简介:该系统包括提供聚合物熔融物的装载机;用于挤出聚合物熔融物的螺杆挤出机;用于控制聚合物熔融物质量的计量泵;用于压缩空气的空气压缩机;用于加热压缩空气的空气预热器;用于加工三维工件的三维建模组件;喷嘴包括喷丝板和气体流孔,喷丝板配置有通孔,形成挤出的聚合物熔体细流。本发明可以实现灵活的快速打印。

专利名称:电子产品的3D打印
公布号:WO/2016/007207
申请号:PCT/US2015/026848
公布日:14.01.2016
申请日:21.04.2015
申请单位:康奈尔大学
简介:康奈尔克服了材料和工艺的限制,用于打印电子产品,实现完整的、复杂的机电组件的制备。

国内

专利名称:光固化快速成型3D打印机的闭环控制系统及方法
公布号: WO/2016/029832
申请号: PCT/CN2015/087943
公布日: 03.03.2016
申请日: 24.08.2015
申请单位:联泰三维 www.union-tek.com
简介:
本发明提供一种光固化快速成型3D打印机的闭环控制系统,包括机架、Z轴升降系统、电机、滑块、托架、工作平台、控制器、电机驱动器、标尺和读数头,所述控制器与电气驱动器相连接,电机驱动器与电机相连接,读数头与电机驱动器或控制器相连接;当读数头与电机驱动器相连接时,电机驱动器根据读数头的反馈读数值来计算读数差值后向电机发送校正脉冲;当读数头与控制器相连接时,控制器根据读数头的反馈读数值来计算读数差值后控制电机驱动器向电机发送校正脉冲。本申请通过读数头将实际位置读数反馈给控制器或电机驱动器,控制器或电机驱动器通过计算实际位置读数与理论位置读数之间的差值后向电机发送校正脉冲,保证Z轴升降系统运动精度和定位精度。

台湾
专利名称:3D模型的平面区域搜寻方法
公布号: 105321203
申请号: 201410373980.X
公布日: 10.02.2016
申请日: 29.07.2015
申请单位:三纬国际立体列印科技股份有限公司
简介:
一种3D模型的平面区域搜寻方法,用以搜寻一3D模型上可与其他一或多个3D模型进行结合的平面区域。搜寻方法包括下列步骤:取得3D模型的轮廓;以轮廓在基础轴向上的最低点作为定位点;由定位点朝另外两个轴向延伸,以寻找3D模型的轮廓上所有与定位点位于相同的基础轴向高度的座标点;保留连续且可构成平面区域的多个座标点;记录平面区域;定位点于基础轴向的数值加上一固定变数;及,重复执行上述步骤,直到定位点为3D模型的轮廓在基础轴向上的最高点为止。本发明可确实地找出3D模型的轮廓上的所有平面区域,以利于和其他的3D模型进行结合,并于结合后送至3D打印机进行打印。

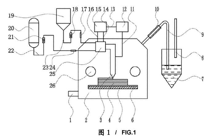
专利名称:一种基于羰基金属络合物的3D打印快速成型装置及方法
公布号: WO/2016/023415
申请号: PCT/CN2015/085452
公布日: 18.02.2016
申请日: 29.07.2015
申请单位:江西悦安超细金属有限公司 www.yueanmetal.com
简介:
提供了一种采用羰基金属络合物为原料的3D打印快速成型装置及方法。所述装置包括有进气口(1)、手套箱(2)、喷头(3)、沉积工作台(5)、平台加热器(6)、气液收集器(7)、收集器排气管(8)、出气管(9)、气体冷凝器(10)、喷头控制线路(11)、伺服机构(12)、伺服机构控制线路(13)、液态羰基金属络合物控制线路(14)、计算机(15)、固态羰基金属络合物-*醚乙**溶液控制线路(16)、溶液加热器(17)、流量计Ⅰ(18)、溶液储罐(19)、液体储罐(20)、流量计Ⅱ(21)、液态羰基金属络合物输送管(22)、固态羰基金属络合物-*醚乙**溶液输送管(23)、液体加热器(24)、驱动泵(25)和手套箱操作口(26)。所述原料采用铁、镍、钴、铬等过渡族金属羰基络合物,可用于打印各种元素成分的金属模型。由于羰基金属络合物热分解后成纯单质金属,有效减少了产品的杂质含量,从而提高了产品品质。

专利名称:一种具有多喷嘴的3D打印机及其打印方法
公布号: 104924620
申请号: 201510401354.1
公布日: 23.09.2015
申请日: 07.07.2015
申请单位:杭州先临三维 www.shining3d.com
简介:
一种具有多喷嘴的3D打印机及其打印方法,所述具有多喷嘴的3D打印机包括一个成品参数预设模块,一个刮板参数预设模块,一个刮板打印层数设置模块,一个喷嘴参数赋值模块。所述具有多喷嘴的3D打印机及打印方法利用各功能模块对喷嘴的打印参数或打印代码的设定,使得任意一个喷嘴在不打印成品时打印了所述的刮板,而所述的刮板为多个同心套设的环形,可以保护喷嘴在由内向外或由外向内的往复运动中实现对喷嘴的更有效的清洁,同时由于打印该刮板,用掉了喷嘴头部的热熔材料,使得该喷嘴头部可以具有充足的材料,当再打印成品时,即可避免缝隙的产生,减少成品的不良率。本发明还涉及一种具有多喷嘴的3D打印机的打印方法。
专利名称:一种3D打印机的传动机构
公布号: 104260345
申请号: 201410451628.3
公布日: 07.01.2015
申请日: 09.09.2014
申请单位:合肥西锐三维 www.xery3d.com
简介:
本发明公开了一种3D打印机的传动机构。2根垂直设在底板前部的Z向导杆与前滑块滑动连接,2根方杠与2根丝杠垂直设在底板后部,方杠穿过后支座上设有的方孔带轮,丝杠与后支座螺接;前滑块通过Y向导杆与后支座连接,两侧的Y向导杆通过Y向滑块与喷头支架连接并构成H形框架;Y向滑块与绕在前滑块上的前带轮与方孔带轮上的喷头同步带连接;Z向步进电机、Y向步进电机固定在底板上面;Z向步进电机通过同步带驱动丝杠转动并驱动后支座沿丝杠运动,带动H形框架作Z向运动;Y向步进电机通过同步带驱动方杠转动,方杠通过喷头同步带带动喷头支架沿Y向导杆作Y向运动。本发明由电机控制喷头完成上下前后左右方向的运动,使性能更加稳定。

专利名称:一种3D打印的自适应分层方法
公布号: 104503711
申请号: 201410653674.1
公布日: 08.04.2015
申请日: 17.11.2014
申请单位:杭州先临三维 www.shining3d.com
简介:
本发明公开了一种3D打印的自适应分层方法,本发明在读取STL模型数据的过程中,根据每一个三角面片的法向量计算其对应的分层高度,随后根据每一个三角面片的分层高度计算竖直方向上任意高度范围内的最优分层高度,并建立分层高度表HT,之后的分层操作所需的分层高度只需查HT表即可;本发明具有提高了分层效率,并得到高精度的分层轮廓数据;为3D打印机高效率、高精度打印提供了可靠数据支持的特点。

版权声明©3D科学谷
网络转载必须注明来源3D科学谷
勿让劣币逐良币,你的每次转发都对科学谷有帮助。