原创 可颂 米内网
精彩内容
12月29日,NMPA官网显示,正大天晴的注射用醋酸卡泊芬净通过仿制药一致性评价,为国内第5家过评。注射用醋酸卡泊芬净为抗真菌药,2021年在中国公立医疗机构终端销售额接近25亿元。目前该品种已有5家企业过评,有望纳入第八批集采。

注射用醋酸卡泊芬净为国家医保目录乙类药品,是第一个新一代棘白菌素类广谱抗真菌药物,适用于成人患者和儿童患者(三个月及三个月以上)经验性治疗中性粒细胞减少、伴发热患者的可疑真菌感染、念珠菌感染以及对其他治疗无效或不能耐受的侵袭性曲霉菌病。棘白菌素类抗真菌药物是目前用于治疗全身性真菌感染的一线药物。
米内网数据显示,2021年中国城市公立医院、县级公立医院、城市社区中心以及乡镇卫生院(简称中国公立医疗机构)终端注射用醋酸卡泊芬净销售额接近25亿元,同比增长6.70%;2022年上半年其销售额超过11亿元,同比增长4.21%。
中国公立医疗机构终端卡泊芬净销售情况(单位:万元)

来源:米内网中国公立医疗机构药品终端竞争格局
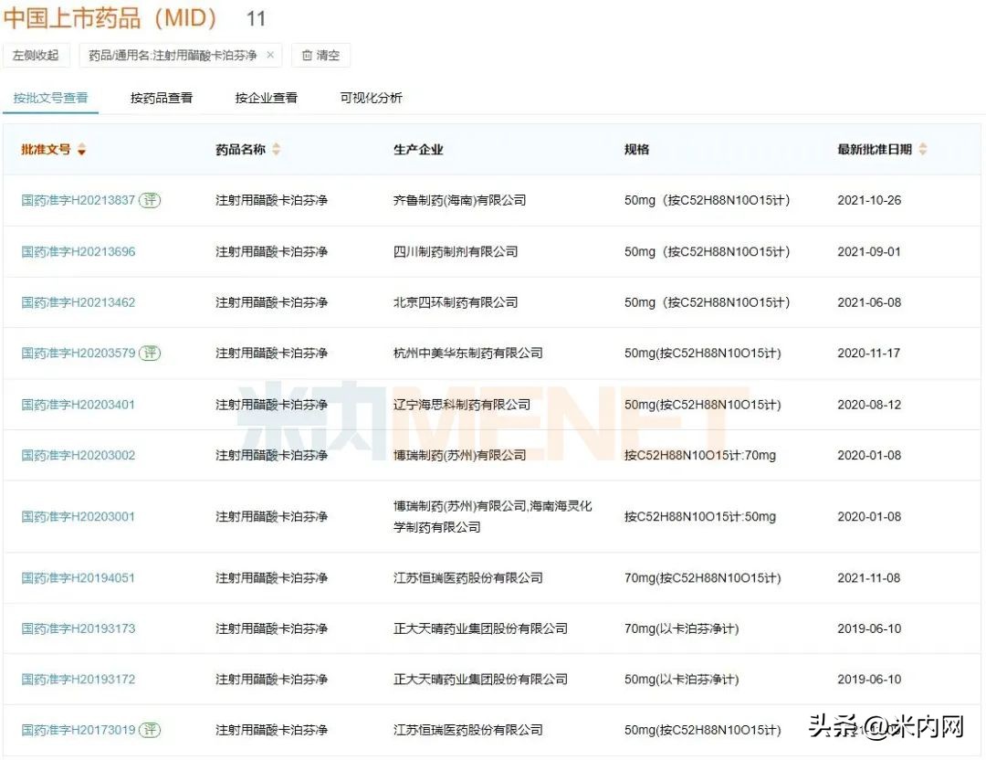
目前,国内共有8家企业拥有注射用醋酸卡泊芬净生产批文,包括恒瑞医药、正大天晴、齐鲁制药、海思科、四川制药、四环制药、杭州中美华东制药、海灵药业。其中,恒瑞医药、齐鲁制药、杭州中美华东制药、海灵药业、正大天晴等5家该产品已过评。
注射用醋酸卡泊芬净国内获批情况

来源:米内网新版数据库
值得关注的是,注射用醋酸卡泊芬净已满足国家集采条件,后续有望纳入新一批化药集采。
数据来源:米内网数据库、NMPA注:米内网《中国公立医疗机构药品终端竞争格局》,统计范围是:中国城市公立医院、县级公立医院、城市社区中心以及乡镇卫生院,不含民营医院、私人诊所、村卫生室;上述销售额以产品在终端的平均零售价计算。