作者:张金强
内容摘要:压缩空气加工生产非依赖电力不可,是技术愚弄人类最大的笑话,它把人类发展带入歧途上百年,将空气压缩只需有“力”即可,水力风力等非电力形式皆可加工生产压缩空气,压缩空气可发电和直接驱动机动车船,一旦作为能源在市场上流通供应,各种可用之力便会应运而生,其资源的丰富性自不待言,它可能成为理想的终极能源。
关键词:压缩空气 能源 地球 清凉
碳排放问题已存在多时。没有必要再纠结。用压缩空气作能源,尽快还地球一片清凉!
压缩空气具有取之不尽用之不竭的可再生性,具有绿色环保、安全可控、经济高效、方便输送、自行复原等其他能源不可比拟的优点,是上天赐予人类的能源之宝。但在传统的方法和技术看来,它的加工生产,只能依靠电力,这是迄今为止技术愚弄人类最大的笑话,它把人类发展带入歧途上百年,加工生产压缩空气只能依靠电力吗?否!将空气压缩只需有“力”即可!不知为什么瓦特看见水壶烧水会去发明蒸气机,而看到皮球充气却不去发明压缩空气发动机。
一、几种非电力加工生产压缩空气的方法:
(一)、用水力加工生产压缩空气
1、用涡轮采集水能加工生产压缩空气
如图1所示,其中指示线分别代表:1.入水口;2.涡轮;3.主轴;4.变速轮;5.泄水口;6.密封轴承;7.传动轴;8.曲轴;9.活塞连杆;10.活塞;11.曲轴腔;12.压缩腔;13.高压泄水阀;14.临时储气仓;15.高压储气罐;16.高压连接器;17.高压阀;18.低压阀;19.进气仓;20.低压进气管;21.过滤器;22.平衡稳压管;23.轴承;24.卡槽;25.机体。

2、用杠杆采集水能加工生产压缩空气
如图2所示,其中指示线分别代表:1.储水器;2.放水阀;3.导向平衡板;4.杠杆平衡连接杆;5.杠杆;6.支点;7.空气过滤器;8.进气管;9.机体;10.进水阀;11.进水管;12.压缩腔;13.高压出水阀;14.临时储气仓;15.高压储气罐;16高压连接器;17.低压阀;18.高压阀;19.进气仓;20.活塞)。

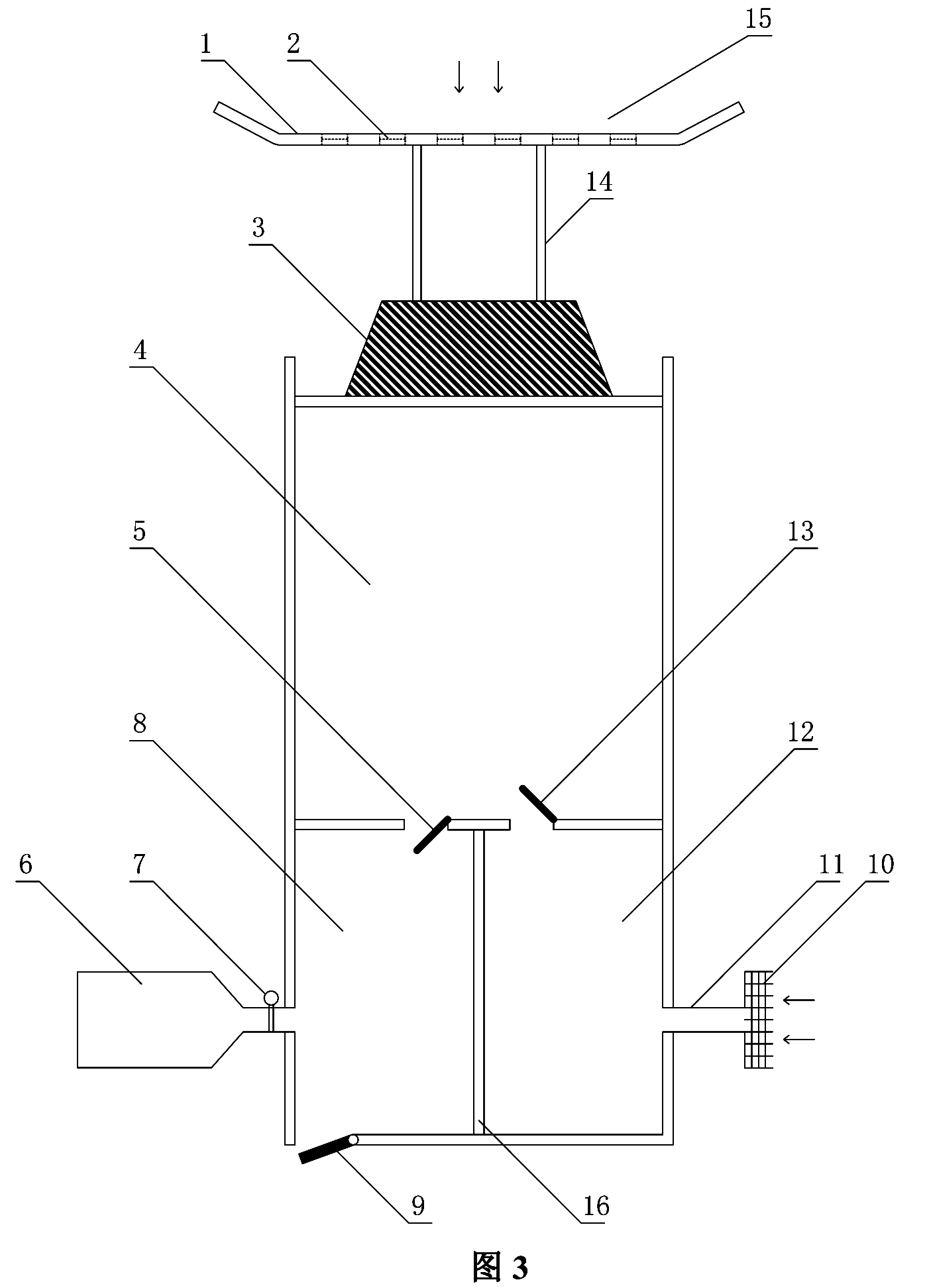
3、用挡水板采集水能加工生产压缩空气
如图3所示,其中指示线分别代表:1.拦水板;2.单向阀;3.活塞;4.压缩腔;5.高压阀;6.高压储气罐;7.高压阀;8.临时储仓;9.泄水阀;10.过滤器;11.进气管;12.进气仓;13.低压阀;14.连接杆;15.水槽;16.隔断。

4、用水车提高水位,再用水车或涡轮采集水力加工生产压缩空气
如图4所示,其中指示线分别代表:1.活塞;2.滚筒或滚珠;3.内缸;4.内囊;5.弧刃;6.内囊伸缩皱拆;7.弧形固定台板;8.卡槽;9.机体;10.临时储气仓;11.高压连接器;12.储气罐;13.泄水阀;14.隔断;15.活塞与压缩腔连接板;16.压缩腔;17.进气仓;18.进气管;19.过滤器;20.弧形固定台板内平台;21.高压阀;22.低压阀;23.连接绳;24.滑轮;25.皮带或链条;26.水车或涡轮;27.高位水池;28.水车;

利用上述几种空气压缩机,但凡有水的地方,能冲动涡轮之处便可安装图1类型的空气压缩机;不能冲动涡轮的低水头、低落差河流或水量较小的山泉小溪,采用古老水车类似的方法将水位提高或采用积少成多的方法安装图4类型或图2类型的空气压缩机;海洋潮汐可安装图3类型的空气压缩机,不用截流,不改变水流生态,便能获得压缩空气。
需要说明的是:上述几种加工生产压缩空气的结构,其设计逻辑与电力加工生产压缩空气的结构别无二致,只是动力不同而已。另外,与电力的高速运转不同,如要充分地广泛地利用各种条件下的水力,需考虑大多数低速水流甚至间隙水流的场景,因此,设计了图4中那种一体式全封闭压缩腔,其结构特点是在内缸内套置一个可伸缩的内囊,它的好处是不漏气,摩擦阻力小,可在水流低速和间隙条件下完成工作。其结构同样可用在其他几种空气压缩机上。
(二)、用风力加工生产压缩空气
如图5所示,利用风轮采集风力可以加工生产压缩空气,其中指示线分别代表:1.塔杆;2.风轮;3.主轴;4.变速轮;5.轮轴及变向轮;6.密封轴承;7.传动轴;8.曲轴;9.活塞连杆;10.活塞;11.曲轴腔;12.压缩腔;13.高压泄水阀;14.临时储气仓;15.高压储气罐;16.高压连接器;17.高压阀;18.低压阀;19.进气仓;20.低压进气管;21.过滤器;22.平衡稳压管;23.轴承;24.卡槽;25.机体。这个结构可根据风力强弱设置风轮叶片的大小轻重,有风则采,无风则停,不用考虑风力的稳定和持续,风轮转动一圈便可完成一个压缩周期,其中的压缩腔也可采用图4中的压缩腔结构。

(三)、用机动器具需要制动的惯力加工生产压缩空气
除大自然中水力和风力外,人类生产生活中机动器具如火车、飞机需要制动的惯力,也可以用来加工生产压缩空气,而且是变害为宝的“富矿”,是既获得压缩空气,又减少制动所需能耗的一石二鸟之功。其方法就是对现场进行一定改造,采取简单的对气缸活塞进行直接挤压来获得压缩空气,因为这个方案没有更多的技术含量,其结构不必设图显示,细节也毋需赘述。
二、压缩空气两种主要用途:
(一)、用压缩空气发电
压缩空气发电,目前只有汽轮机发电的储能形式,这种形式由于汽轮发电机的功率一般都很大,需要将压缩空气大量储存在废旧矿井中,或者建造庞大的储气室,条件要求非常苛刻,其瓶颈在于汽轮机还不能小型化。但这不能成为阻碍压缩空气发电的死结,办法是:
A、如图6所示,将压缩空气当成标准化的人造风力,将风力发电机的叶轮稍加改造放置在固定的风道内带动风力发电机发电,其中指示线分别代表:1.风力发电装置;2.风道;3.气阀;4.输气管。

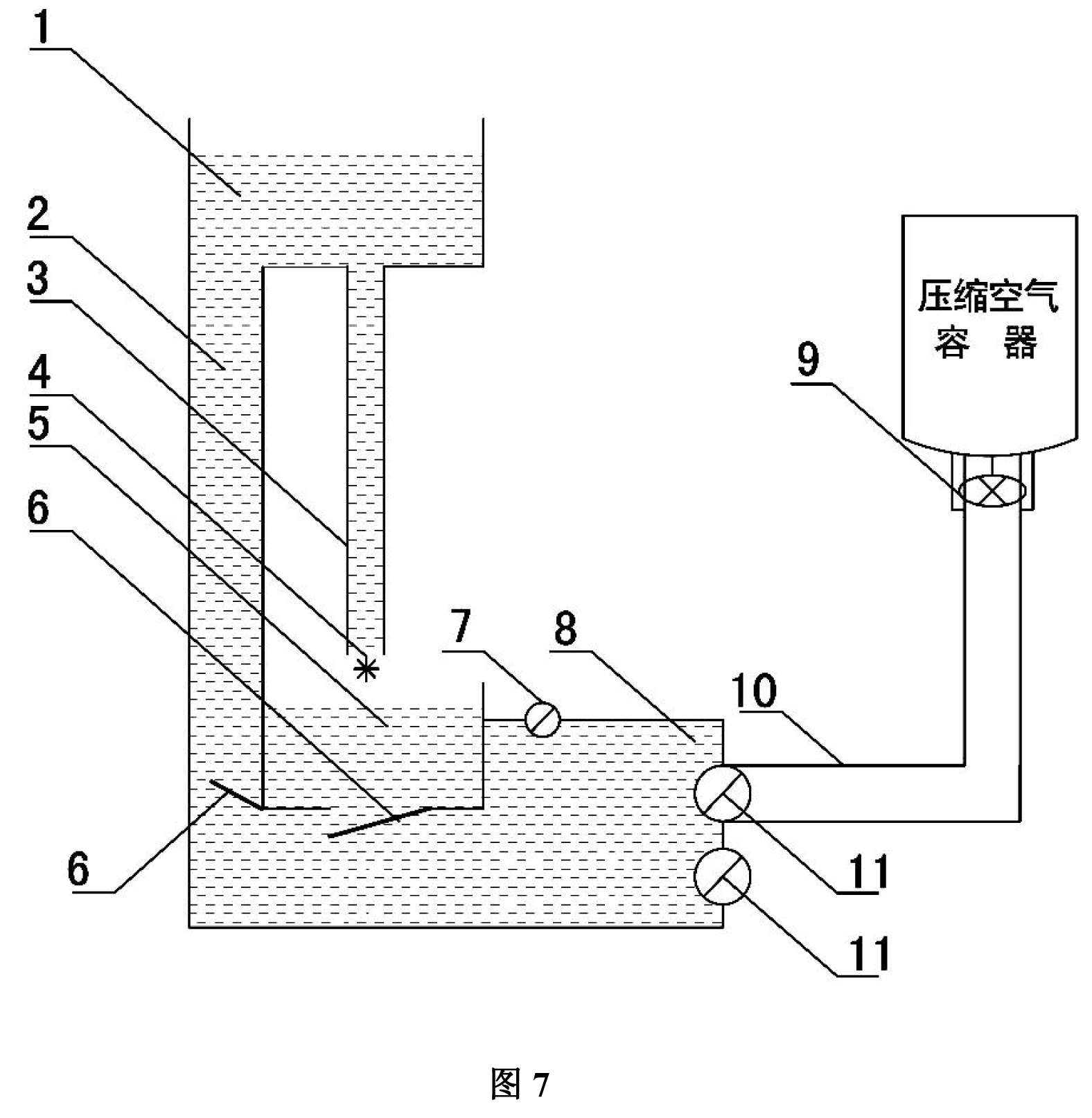
B、如图7所示,用压缩空气驱动水力循环的形式,带动水力发电机发电,从而使电站小微化、任意化,其中指示线分别代表:1.高位水池;2.回流管;3.导流管;4.水力发电机;5.尾水池;6.单向阀;7.废气阀;8.储水室;9.气阀;10.输气管;11.连接器。

C、如图8所示,用压缩空气驱气动马达带动发电机发电,其中指示线分别代表:1.储气罐;2.高压连接阀;3.输气管;4.气动马达;5.传动轴;6.发电装置;7.进气口;8.废气口。

这些发电方案都是土办法,看起来很原始落后,但其技术都是成熟的,不需要研发周期,立马就可以使用,很实惠(据报道,有压缩空气储能发电科研项目,2014年开始投建,至今5年多了,还在进行测试,这在普通行业和领域来说并不划算。如果用这些土办法,在中国崛起只争朝夕的今天,5年的变化早就“翻天覆地慨而慷”了)。电力供应追求的是便捷、灵活、实用、经济、安全、普惠,与复杂性“先进”无关。什么最环保、最简单、最安全、最方便、最经济就应该用什么。同时,从上面的方法和结构中,不难看出:
1、用非电力加工生产的压缩空气发电,由于没有化石能源那样复杂的采掘过程;没有水电站拦河筑坝、移民搬迁,大量资金被建设周期长期占用的问题;也没有风力发电场产生大量弃电和为满足入网条件,克服风力间隙和不稳定在发电装置上投入许多复杂设备设施的问题(在A、B两种发电形式中,对压缩空气没有特殊要求,不用提纯干燥)。所以,它的出厂电价一定会低于现行所有电力出厂电价。
2、用非电力加工生产的压缩空气发电,完全可以实行自发自用,即发即用的点块式供电用电模式,减掉中间供电环节的一切成本,包括为维护其安全运行的国防成本,使终端电价成为裸电价。电线杆曾经为电力走进千家万户做出过不可磨灭的贡献,但电力发展和终端用电不充分不平衡的矛盾,其根源也是这根电线杆,在技术条件变化的情况下,再用它来阻碍发展,阻碍改善电力发展和终端用电不充分不平衡的努力是十分不应该的,将供电环节的资源用在其他国民经济发展中,仍然可以发挥其应有的作用。
(二)、用压缩空气驱动机动车船
现有的车船技术,在动力最后环节,都离不开电,在当前能源结构情况下,最终消耗的大多数仍然是化石能源,即使用压缩空气替代化石能源发电后,采用电力驱动车船(火车除外),充电不方便,续航里程不理想,长期看也是不可持续的。法国MDI公司生产了一种压缩空气动力汽车,虽然动力来源于压缩空气,但因为它用压缩空气发电来牵引汽车,仍然沿用电动汽车的老思路,与其他电动汽车一样,必然多出一道能量转换环节,而且变速箱、发电机、传动等结构必不可少,材料上造成很大浪费。压缩空气本身具有优良的驱动性能,应该用其直接驱动机动车船的轮子或螺旋桨,使其更环保更节能。
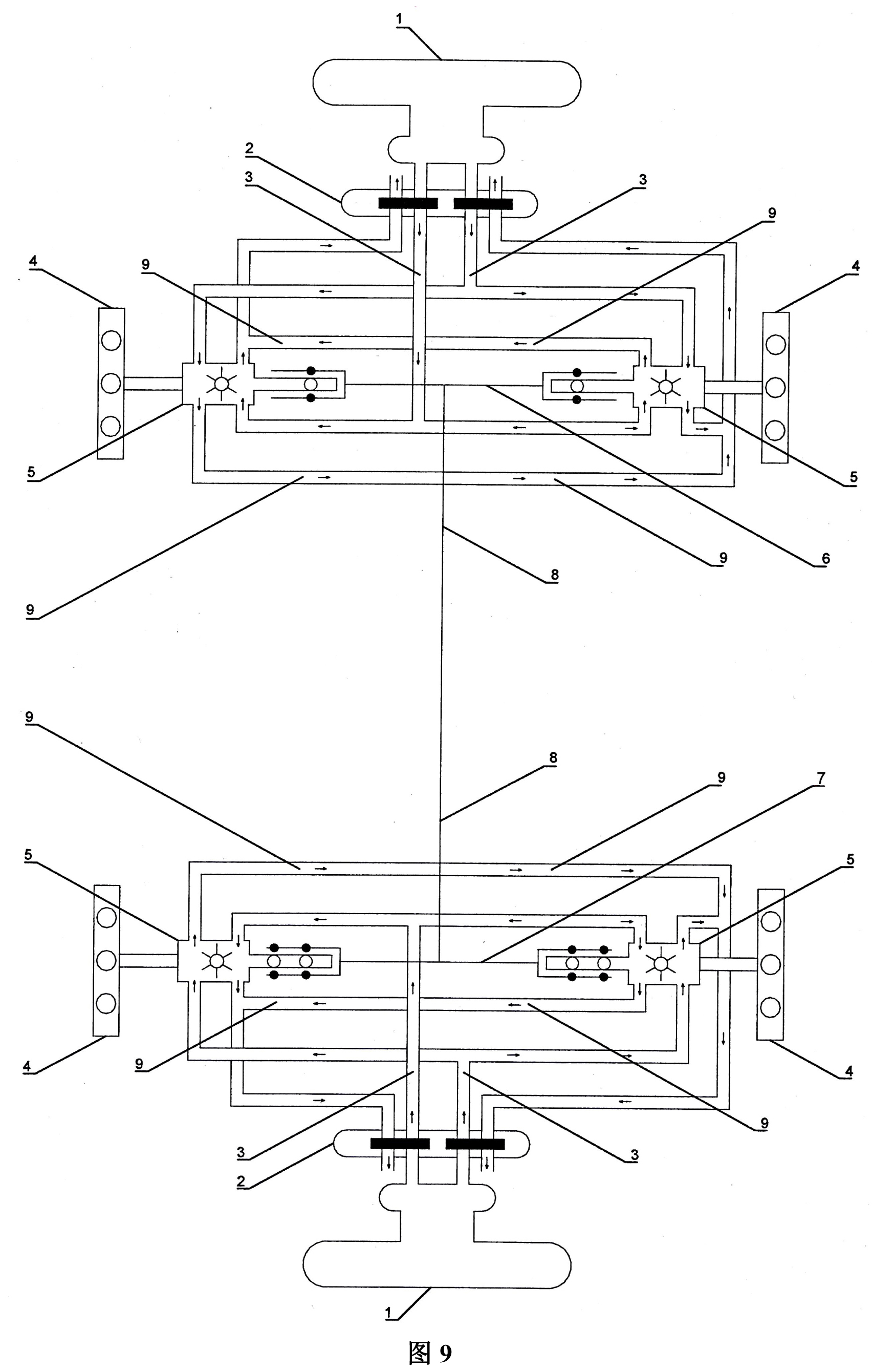
图9是将使用压缩空气作动力的气动马达直接驱动车轮的概念示意图,图中指示线分别代表:1.储气罐;2.总成;3.进气管;4.轮芯;5.气动马达;6.前桥;7.后桥;8.中桥;9.废气管。这种结构和技术,同样适用于轮船螺旋桨。驱动系统用压缩空气,其他用电系统采取电池供电,储气罐和电池都是可换的,换气罐和电池比充电桩和加油站更方便,如此一来,机动车船的发展便没有了来自能源方面的诸多限制,实现汽车行业弯道超车,带来机动车船发展的繁荣和振兴。

人类发展到今天,寻求低成本、高品质、无限量的能源成了大家的共识,《巴黎协定》以安排碳排放为特征,是这种共识的国际高度。从已知的能源品种来看,满足这些要求似乎都差强人意,相对而言,非电力加工生产的压缩空气应该优于其他能源,甚至可能成为人类理想的终极能源。一旦非电加工生产的压缩空气象传统能源(煤、石油)在市场中流通供应,各种可用之力如潮汐、洋流、低速风、高空风等的运用便会应运而生,其资源的丰富自不待言,完全可以满足人类的生产生活之需。
众所周所,能源问题不单纯是技术问题,更多的是体制问题,有理由相信,在改革开放持续进行的大潮中,能源行业不可能成为不改革的孤岛,特别是中国制造和中国服务不能背负着高昂的用电成本和“不环保来源”的名声去越来越复杂的国际市场上进行竞争。况且我国和更多的国家能做到能源独立、能源清洁可持续的话,传统上打能源牌控制别国的事便没有多少支撑,这对国际社会来说无疑是好事。
愿低廉环保可持续的压缩空气能源早日走进人们的生产生活。