小米手机创始人雷军,刚在头条上宣布,“本周末,14个小米之家同天开业!欢迎当地的朋友都去逛逛!”
这语气,掩饰不住的自豪啊!

商标圈记者现把14个新店的地址公布如下:

说起雷军,商标圈记者曾写过他是商标达人,小米在他的带领下,俨然成了商标帝国。雷军说过,“站在风口上,猪也能飞起来”,这句话在如今的创业大潮流中激励了很多创业者。

看看小米申请的这些商标:
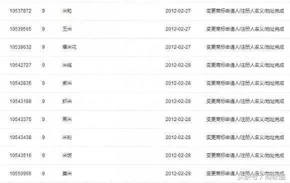
小米注册了含有“米”字的很多日常用词,且每个至少进行了四个类别的保护。除了米粒、玉米、爆米花、米线、紫米、虾米、黑米、米粉、粟米这些画风正常的米氏大餐,还有万米、美米、青米、清米、小麦、非米、绿米、纯米、万米、红米、兰米、大米、紫米,虽然小编也不知道这些是个什么鬼,但思想超前脑洞超大的雷军,围绕着商标布局与保护这一主题,做了一桌“米氏大餐”,下了一盘“米氏棋”。

“米氏大餐”和“米家”的商标范围:09类科学仪器商标居多,有323件;其次是42类网站服务有173件;38类通讯服务160件;35类广告销售151件。互联网科技公司多是以这4类商标为主,至于其他类的多是以保护为主。
雷军对小米集团的商标嗅觉堪称敏锐,对于品牌保护来说,这是好事。全面保护,防范于未然。
昨天,咪蒙又重新发文了!它有哪些改变?咪蒙的回归,意味着什么?
来啊,互相伤害啊!美国天价罚大众,欧盟天价罚谷歌、微软、英特尔……