半岛全媒体记者 江海峰
近日,京东法拍平台显示,位于西海岸长江中路的国际贸易中心14套商业房产,将于1月24日分别变卖。记者在调查中了解到,该14处房产原权属人为同一自然人,此人因涉及与招商银行股份有限公司青岛分行的借款合同案而被执行变卖相关资产,且成为失信被执行人。

公告:14处商业房产将变卖,起拍总价1468万元
京东法拍平台显示,该14处房产位于青岛市黄岛区长江中路230号,号码自3001室~3014室,变卖单位为青岛市市南区人民法院,房屋用途主要为商业,起拍总价为1468万元。建筑面积最小的是3014室,为77.42平米,起拍价为51万元;建筑面积最大的是3001室,为186.53平米,起拍价为208万元。
公告显示,每套房产为单独变卖,变卖方式为设有保留价的增价变卖方式,保留价等于起拍价。每套房产拍卖时,至少一人报名且出价不低于起拍价,方可成交。有意向的自然人及公司报名时,均需交变卖价全款。

调查:原权属人及控股公司均涉案累累,且成失信被执行人
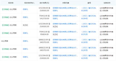
据公告,这14套商业房产的原权属人均为田家礼,抵押权人为招商银行股份有限公司青岛分行。据了解,田家礼因涉及与招商银行股份有限公司青岛分行的借款合同案而被执行变卖相关资产。其目前已被列为失信被执行人,被限制高消费,有多个公司股权被冻结,所涉司法案件达77个。

记者通过企查查了解到,田家礼被认为是山东恒宇橡胶有限公司董事长及实际控制人。该公司坐落于东营市广饶县,是一家以轮胎制造为主,涉动力锂电池生产、房地产开发、国际进出口贸易为一体的多元化经营的大型企业集团。但近年来,该公司所涉案件累累,包括与中信银行股份有限公司青岛分行高达6346.50万元的金融借款合同纠纷案以及与海尔融资租赁(中国)有限公司高达3457.36万元的融资租赁合同纠纷案等。