本文包括了符合计算机化系统验证规则的GxP相关EXCEL电子表格的全套验证资料,包括风险控制、URS、DIOPQ方案和总结报告、风险回顾和EXCEL电子表格使用SOP,供大家参考:
Excel电子表格验证方案
Excel电子表格检验记录风险控制
1 目的
将常规电子表格进行风险控制使其能成为符合预定用途、具有特殊功能的电子表格,满足实验室具体需求。
2 适用范围
本文件适用实验室Excel电子表格检验记录的风险控制。
3 概述
我部门部分检验记录涉及比较复杂运算,普通手工计算占用分析人员较多的时间,且计算过程与结果需经较多复核才能保证准确无误,不利于工作高效开展。计划将部分检验记录设计成电子表格。优势:可以大量节约分析时间,缩短复核、审核过程提高工作效率。劣势:常规的电子表格记录存在风险。为保证电子表格从设计到应用的整个过程均准确、可靠、安全、有效,需要对电子表格检验记录风险加以控制,形成特殊功能的电子表格检验记录以符合实验室具体要求。
4 人员资质与职责
4.1风险评估小组

4.2设计人员

5 内容
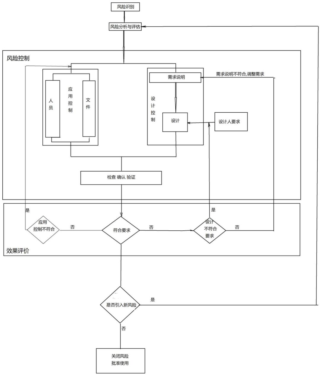
风险管理按如下流程组织开展工作。

5.1风险识别
通过对电子表格的常用情况调查分析.认定能够影响常规电子表格的安全性、有效性、准确性及完整性的因素可视为风险。如下表所示:

5.2风险分析
采用适当的工具对风险的影响因素成因进行分析。准确性采用因果图较为合适。下图有助于准确性及逻辑判定的成因分析。对分析出的影响因素的危害程度暂不进行风险评估,分别在设计与应用方面探寻有效的预防与控制措施。

5.3风险控制
分别在应用与设计阶段采用有效的预防与控制措施对风险进行实际控制。下表提供部分控制措施与方法。更多的控制方式与接受方式以文件形式列出。(需求说明、操作SOP、验证方案)

5.4控制效果评价
5.4.1设计效果评价
分别对电子表格检验记录设计阶段的安全性、准确性、有效性及完整性进行评价,确认控制效果能够符合预期要求。
5.4.2应用效果评价
评价应用文件的准确性、完整性。
评价表格的可操作性进行。
5.5剩余风险
剩余风险是指运用了控制和风险管理技术以后而留下来的风险。
剩余风险采用其它可行的管理办法。以下类型为可能存在的剩余风险。

6评价意见与建议见报告
Excel电子表格需求说明书
1 目的
本文件的执行将记录和证明我公司质量控制部门关于Excel电子表格检验记录需求的具体内容。相关部门应以此标准为依据对Excel电子表格检验记录的设计、安装、使用、及变更进行必要的确认、验证和控制。
2 范畴
本文件用于规范我公司质量控制部门的Excel电子表格检验记录,以符合实际应用需要。
3 定义
3.1原始数据:任何实验室工作表,记录,备忘录,笔记副本均属于原始数据。也包括照片,微缩胶片电脑打印、磁介质,口述资料及自动化仪器记录数据(天平称量、LC、GC、UV等)。
3.2二级数据:二级数据指计算过程与结果产生数据,利用原始数据(标准品、样品的称样量,稀释倍数,稀释因子等)产行的结果,也包括观测数据,如出现错误可以重新建立。为验证二次数据,填入电子表格的原始数据需要手工输入,验证的结果需要记录并签字确认。
3.3手工计算:操作人、复核人或审核人用电子计算器或windows附件中计算器对原始数据、二级数按照规定的计算方式进行计算。
4 需求说明
我公司部分检验记录涉及比较复杂运算,普通手工计算占用分析人员较多的时间,且计算过程与结果须经多次复核以才能保证准确无误,不利于工作高效开展。将部分检验记录设计成电子表格可以大量节约分析时间,缩短复核、审核过程。
常规的电子表格记录存在风险,为保证电子表格从设计到应用的整个过程均准确、可靠、安全、有效,对电子表格检验记录加以风险控制并提出如下要求(*项目与风险控制相关)。
4.1基本要求
Excel电子表检验记录设计应简单明了,结构清晰,内容准确;录入数据集中,便宜复核、审核;安装位置固定,安全可靠,使用方便。
4.1.1电子表格功能设计要求

4.1.2内容设计要求
4.1.2.1页面设计要求

4.1.2.2格式设计要求
4.1.2.2.1字体

4.1.2.2.2数字

4.1.2.2.3保护
录入单元格应“不锁定”,非录入单元格的均应“锁定”。
4.1.3安装要求

4.1.4使用需求

4.2其它要求
4.2.1设计详细信息

4.2.2变更要求

4.2.3备份与恢复要求

5参考
-
Good Laboratory Practice (GLP) Regulations
-
USP 21CFT part 11
6未尽事项
详见附录 01
HPLC外标法电子表格检验记录
1.需求说明
电子表格检验记录除了应符合正文部分4.1的基本要求和4.2其它要求外还应符合以下要求。
2.具体要求
表格分为普通表格和电子表格两部分
普通表格:无任何自动计算功能的电子表格部分。
电子表格:可自动计算的表格。
2.1普通表格要求
批号、来源、色谱条件及供试品制备必须手工填写,其余部分可手工填写,也可提前录入。
2.2电子表格内容要求

3计算

Excel电子表格验证方案
1.目的
证明实验室Excel电子表格检验记录在整个设计到应用的过程中准确、可靠,符合预定要求。
2.适用范围
适用于实验室含HPLC量测定电子表格检验记录的确认与验证。具体如下:
3.职责

4.概述
我公司部分检验记录涉及比较复杂运算,普通手工计算占用分析人员较多的时间,且计算过程与结果须经多次复核才能保证计算无误,不利于工作高效开展。现有部分记录设计成电子表格能大量节约分析时间,且缩短复核过程。为保证电子表格在整个设计到应用的过程中准确、可靠,符合预定要求。根据公司验证相关规定,对电子表格检验记录的设计、安装、使用、及变更进行确认、验证和控制。本方案验证涉及的引用标准和专业术语如下
4.1引用标准
Excel电子表格检验记录需求说明书
4.2术语
4.2.1原始数据:任何实验室工作表,记录,备忘录,笔记副本均属于原始数据。也包括照片,微缩胶片电脑打印、磁介质,口述资料及自动化仪器记录数据(天平称量、LC、GC、UV等)。
4.2.2二级数据:二级数据指计算过程与结果产生数据,利用原始数据(标准品、样品的称样量,稀释倍数,稀释因子等)产行的结果,也包括观测数据,如出现错误可以重新建立。为验证二次数据,填入表格的原始数据需要手工输入,验证的结果需要记录并签字确认。
4.2.3手工计算:操作人、复核人或审核人用有统计功能电子计算器或windows附件中计算器对原始数据、二级数按照规定的计算方式进行计算。
4.2.4单元格:表格中的最小单位,可拆分或者合并。单元格是表格中行与列的交叉部分,它是组成表格的最小单位,单个数据的输入和修改都是在单元格中进行的。
4.2.5Excel函数:即预先定义,执行计算、分析等处理数据任务的特殊公式。
5.内容
5.1设计确认
5.1.1文档确认
文件设计信息、内容类型设计、数值单元格设计、计算函数公式单元格内容格式、逻辑判定单元格及插入对象等详细信息应符合设计要求。
5.1.1.1确认方法:与Excel电子表格检验记录需求说明书进行逐项比对。
5.1.1.2接受标准:内容、形式、功能应符合Excel电子表格检验记录需求说明书要求。
5.2安装确认
5.2.1参照Excel电子表格检验记录需求说明书确认安装环境。
5.2.2列出文件安装信息。
5.2.3计算机管理员按照规定要求安装电子表格文件、分配系统和分析人员权限。
5.2.4参照Excel电子表格检验记录需求说明书确认文件安装符合性。
5.3运行确认
在数值单元格区域录入原始数据、二级数据,表格可实现自动计算,数据有效性判断,逻辑判定等功能可自动实现。详细要求参考Excel电子表格检验记录需求说明书,确认文件运行符合性。
5.4安全性验证
5.4.1计算机操作系统受密码保护,未经受权用户不能进入系统。
5.4.2分析人员删除电子表格文件提示操作出错应与系统管理员联系。
5.4.3电子表格、工作表、工作箔受密码保护;固定单元格为锁定模式,不可以编辑;活动单元格可录入或删除文本及数据。
5.5数据有效性验证
5.5.1输入与Excel电子表格检验记录需求说明书不一致的数据应提示出错或标示红色。
5.5.2计算输出的数值与规定范围不一致标示红色。
5.6准确性验证(外标法)
5.6.1峰面积响应因子F
计算式:

5.6.2对照峰面积响应因子F平均计算
计算式

电子表格函数:=Average(响应因子单元格范围)
5.6.3百分含量计算

5.6.4含量计算

5.6.6含量平均

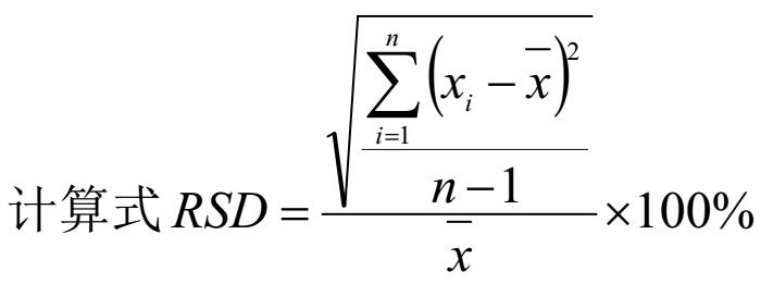
5.6.7相对标准偏差
计算式

电子表格函数:=stdev(Array)/average(Array)
5.6.8相对平均偏差
计算式

5.6.9验证方法计算:手工计算
5.6.10接受标准:电子表格计算结果应与手工计算结果一致。
5.7有效数值修约
参照Excel电子表格检验记录需求说明书电子表格自动修约应与人工修约一致。
5.8逻辑判定
在符合要求情况下人工判定应与电子表格判定一至。在不符合要求情况下,输出空单元格。
6.验证实施进度见报告说明
7.验证培训
验证前对验证小组成员进行验证内容培训,培训记录附于验证报告后。
8.异常处理
验证过程应按Excel电子表格检验记录需求说明书要求进行验证,期望项目出现不符合要求时,应明确是否可接受;必须项出现不符合要求时应分析并找出原因,采取正确的处理措施,使其符合要求。
9. 验证结果结论详见验证报告
XXX电子表格验证报告
1概述
根据验证有关规定及风险控制的要求,对电子表格检验记录的设计、安装、使用、及变更进行确认、验证和控制;以保证电子表格在整个设计到应用的过程中准确、可靠。符合预定要求。
2说明
本次验证属于首次验证,验证确认范围包括设计、安装、使用和控制四个部分。设计确认函盖外观式样、功能设计和逻辑判定。验证部分包括数据有效性,安全性,计算和逻辑判定准确性。管理控制部分为文件的使用权限、变更要求。(带*号项目与风险控制相关。)
3验证结果汇总
3.1设计确认
3.1.1文件设计信息

3.1.2电子表格功能设计确认

3.1.3内容设计确认
3.1.3.1页面设计确认

3.1.3.2字体

3.1.3.3数字

3.1.3.4保护
录入单元格应“不锁定”,非录入单元格的均应“锁定”。结果符合要求。
3.1.3.5内容确认

3.2安装运行确认
3.2.1安装信息

3.2.2安装确认

3.2.3运行确认

3.3验证
3.3.1安全性验证(*)

3.3.2有效性验证(*)

3.3.3准确性验证(*)

4验证后需修订的文件汇总
新增XXX电子表格检验记录
5评价分析
无
6结论
XXX电子表格检验记录经过设计、安装运行确认及安全性、准确性、有效性验证,符合预定要求,满足本实验室实际需要。
7建议
计算式、逻辑判断、有效数值修约和安装位置未发生变更不需要进再验证。计算机发生故障、软件硬件变更及系统恢复后,经过评估后对表格进行再验证。
8批准意见
质量负责人:
附录 01

数值单元格

计算函数公式单元格

逻辑判断单元格

计算公式

XXX电子表格风险控制报告
1概述
为保证XXX电子表格从设计到应用的整个过程均准确、可靠,对电子表格检验记录进行了风险控制。控制要求见需求说明书XXXX带*项目,控制结果详见XXX验证报告XXXX带*项目。
2人员资质
2.1风险评估小组

2.2设计人员

3控制效果评价
3.1设计效果评价
通过对XXX电子表格检验记录的验证。表格在安全性、准确性、有效性及完整性可能存在的风险进行了有效控制。达到预期的目的。
3.2应用效果评价
电子表格检验记录使用SOP简单易懂,操作人员能够正确理解及使用。
4剩余风险
可能存在如下剩余风险。

5建议
XXX电子表格检验记录自身可能存在的风险得到有效控制,与此相关的剩余风险也有有效的预防管理措施,未引入新的风险。建议关闭风险、批准使用。
6批准意见
质量负责人:
电子表格使用SOP
1 目的
规定电子表格检验记录的使用方法。
2 适用范围
适用于实验室电子表格检验记录的使用。
3 职责
3.1 理化检验室主任:负责保证此文件的执行。
3.2 检验员:负责按此规程使用电子表格检验记录。
4 定义
4.2.1原始数据:任何实验室工作表,记录,备忘录,笔记副本均属于原始数据。也包括照片,微缩胶片电脑打印、磁介质,口述资料及自动化仪器记录数据(天平称量、LC、GC、UV等)。
4.2.2二级数据:二级数据指计算过程与结果产生数据,利用原始数据(标准品、样品的称样量,稀释倍数,稀释因子等)产行的结果,也包括观测数据,如出现错误可以重新建立。为验证二次数据,填入表格的原始数据需要手工输入,验证的结果需要记录并签字确认。
4.2.3单元格:表格中的最小单位,可拆分或者合并。单元格是表格中行与列的交叉部分,它是组成表格的最小单位,单个数据的输入和修改都是在单元格中进行的。
5 编订依据
无
6 内容
6.1电子表格使用
6.1.1在本地硬盘E:上找到《电子表格检验记录》文件夹,打开需要使用的电子表格。
6.1.2原始数据录入
6.1.2.1在对照品的位置输入对照品峰面积(A)、对照品溶液浓度(C)。
6.1.2.2在供试品区域输入供试品峰面积(A)、样品重量(W)、稀释因子(ml)。
6.1.2.3供试品平均装量(mg/粒)、理论塔板数数据。
6.1.3使用人员应对输入的原始数据进行自行复核,防止录入错误数据。
6.1.4检查电子表格结果与判定结论是否都为符合规定,如有空单元格应查明原因。
6.1.5无红色提示及结果判定完全符合规定时打印记录,并及时签署姓名和日期。
6.1.6复核人应认真仔细地核对原始数据以及输入电子表格的数据,确认无误时及时签署姓名和日期。
6.2注意事项
6.2.1删除数据时可用“Backspace”或“Delete”键,不可以使用“剪切”操作。否则计算公式会出错。
6.2.2数据录入
6.2.2.1峰面积录入应以实际位数为准,录入时无需修约。
6.2.2.2样品重量、供试品平均装量、录入4位小数。
6.2.2.3稀释因子、理论塔板数、供试品进样量为整数。
6.2.2.4输入数据应在单元格中央。
6.3预警提示
输入的原始数据或过程的二次数据单元格出现红色数据提示说明该数据超出预定范围,应查明原因。
验证与确认 培训PPT
目录
为什么要开展确认或验证
如何进行确认或验证
值得关注的几个问题
如何进行计算机化系统验证
验证案例
验证时容易出现的问题
为了验证而验证
不清楚什么时候该验证,为什么要验证?
验证方案不是基于风险评估而设计的
验证方案是抄来的模板,没有对范围和程度进行风险分析
参加验证的人员没有进行培训
操作人员不清楚验证目的,对关健参数不了解
没有对验证所获得的数据进行科学分析
验证得到的数据(完整性,一致性等)不归纳总结,出现偏差没有处理
验证结果评价不全面
验证报告与验证方案不一致
验证与实际生产脱节
如没有及时更新相关的SOP
为什么要开展确认或验证
验证行为在日常生活里无处不在,验证技术存在于各行各业当中对于药品和医疗器械生产企业而言,验证行为是企业定标及达标运行的基础,验证文件则是有效实施GMP的重要证据。
企业可以通过贯穿于产品生命周期全过程的确认或验证工作来证明影响质量的关键要素能够得到有效控制,为持续生产出合格药品提供保证。
对于监管部门来讲,验证是保证药品和医疗器械质量的根本,必须从法规上强制性加以规定和要求。
质量管理系统的子系统

数据完整性
是指数据的准确性和可靠性,用于描述存储的所有数据值均处于正确的状态。
并不是计算机化系统实施后才出现的。
适用于电子数据和手工(纸质)数据。
企业应当处于一种基于数据完整性风险的可接受控制状态。
数据的属性
A(attributable)-可追踪至产生数据的人
L(legible)-清晰的,能永久保存
C(contemporaneous)-同步
O(original(or‘true copy’)-原始(或真实复制)
A(accurate)-准确
数据完整性的检查
基于风险,判断重点
深入调查,不蜻蜓点水
有疑问的数据一定要证实客观真实性
追踪最原始的数据
QC实验室,尤其是稳定性试验的数据
物料发放流转的数据
各项记录的发放和填写
企业质量管理体系对数据完整性的覆盖
数据完整性直接表现企业的质量管理水平
设计控制总结

确认与验证的定义
确认 Validation
是对本身性能的认定,内涵归属于性能检验。通常用于厂房与设施、生产设备和检验仪器。
验证 Verification
是特定条件下对适用性的认定,内涵归属于性能保障。通常用于操作规程(或方法)、生产工艺或 系统。
例如,灭菌设备确认,是指对灭菌设备性能的认定。灭菌工艺验证是对灭菌设备在实际使用中采用的灭菌程序,在灭菌设备与工艺条件(如115℃,30分钟)相结合的情况下的认定。
如何进行确认和验证
使用“风险评估”的方式来确定确认或验证的范围和程度
因为确认或验证工作根本不可能不分轻重的“等同对待”,企业应基于对产品和工艺的理解,采用风险评估的方式,去识别欲确认或欲验证的关键项目及其关键控制点(风险点),
着重抓住影响产品安全性、有效性和均一性的“关键要素”。
这样才有利于实现验证水平、经济性及风险可接受水平的平衡,使确定确认或验证工作更具科学性、针对性和实效性。
如果没有经过风险评估就开展确认与验证工作,企业既无法证明所有的关键项目都在确认与验证工作中被涵盖,也无法证明所有的质量风险都得到了有效控制。
风险在那?
可能导致工艺参数(条件)不具有重现性和缺乏可靠性的风险;
有可能导致产品性能不符合质量标准和缺乏稳定性的风险。
风险评估的内容
设备是否符合工艺要求
工艺是否稳定
取样是否有代表性
批检验数据是否波动
工艺/产品稳定性是否足够
检验方法是否能反映真实质量
清洁是否充分
根据其对质量的影响程度(直接、间接)来确定范围和程度
对确认或验证的范围和程度进行风险评估时,应该分为两个层次
第一层次:是对所有设施与系统、设备或工艺的评估,以此来确定确认或验证的范围。即分析评估哪些项目若不经过确认或验证就极有可能导致上述不符合风险的发生,尽而作出有必要进行确认或验证的判断和决定。(验证主计划)
第二层次:是针对每个确认和验证对象的评估,以此来确定具体确认与验证工作的程度(深度和广度)。即针对那些最有可能导致“异常”发生,直接影响正常运行或产品质量的每个环节、关键参数属性及关键参数范围(研发数据和/或历史数据)予以确定,重点确认或验证这些关键点,确保确认或验证工作的针对性和有效性
工艺验证具备前提条件
厂房、设施、设备的确定并经过确认
产品的标准与分析方法经过验证或确认
日常操作人员参与验证批生产并获得培训
生产物料由批准供应商提供
确定的工艺操作规程
基于风险评估的取样计划
相关文件(批记录、验证方案……)
验证工作的逻辑性和系统性
先向供方提出URS
然后是DQ、IQ、OQ、PQ。
在某些情况下,可以考虑采用性能确认和运行确认或工艺验证结合进行的方式,但应有充分的说明,性能确认过程的取样频率需要评估。
URS
客户需求文件(URS)就是设计确认的检查标准。它是验证工作获得成功基础,有了URS才能有目标地展开验证活动。
在给供应商提供的URS中,企业要立足于产品与工艺需要,明确提出自己对厂房、设施、设备等的使用要求(预定用途)以及其它相关法律法规符合性要求。尽而对供方所“提供”的厂房、设施设备设计方案及说明性资料进行预审查,避免设计失误造成无法弥补的先天性缺陷。
经生产质量等相关负责人审核、批准的用户需求说明(URS)应尽可能做到:每一个需求都有具体的标准;每一个需求都能够通过测试或确认来证实供方提供的实物是否满足自己的需要;每一个需求都清楚明确而且是能够实现的;每一个需求都通过设计和测试进行追踪。
设计确认(DQ)
要重点关注与质量相关的关键点
材料材质
安全评估
环保问题
空间要求
使用要求
设计是否易于清洗/清洁与检查
是否引入有害的物料
需要更换的部件等。
设计确认(DQ)的特别关注点
设计确认阶段应强化变更管理,对原设计的任何变更都要进行记录,并对相关因素作出适应性调整。
安装确认(IQ)
是为了证明新的或改造的厂房、设施、设备达到设计要求而进行的各种系统检查及将技术资料文件化的工作。
企业应当根据用户需求和设计确认中的技术要求,对厂房、设施、设备进行验收并记录。
安装确认至少包括:
根据最新的工程图纸和技术要求,检查设备、管道、公用设施和仪器的安装是否符合设计标准;
收集及整理(归档)由供应商提供的图纸、设备清单、各类证书及材质证明、说明书或操作与维护保养手册;
对相应的仪器仪表进行必要的校准;
工程技术人员根据供方提供的技术资料结合本企业实际情况,起草操作、清洁、校准和维护保养等标准操作 规程。
运行确认(OQ)
是为了证明新的或改造后的厂房、设施、设备能在设计要求预期的范围内正常运行而作的试车、查证及文件化工作。
运行确认至少包括:
根据设施、设备的设计标准制定运行测试项目;
试验/测试应在一种或一组运行条件之下进行,包括设备运行的上下限,必要时采用“最差条件”进行确认,而且测试要重复足够的次数以确保结果可靠;
操作、清洁、校准和预防性维护保养等操作规程,应在运行确认过程中进行修改和完善,并对相关人员培训。
问题
安装确认与运行确认可以由供应商完成吗?
不可以!
可以由供应商与企业共完成吗?
可以!
性能确认(PQ)
是为了证明已安装连接的厂房、设施、设备能够根据批准的生产方法和产品的技术要求有效稳定(重现性好)运行所作的试车、查证及文件化工作。
性能确认是使用生产物料、经确认的替代品或模拟产品,对每一个关键控制系统(如温度控制、压力控制和搅拌控制等)和所有影响产品质量的关键参数(如温度、压力和搅拌速度等)进行的测试。
性能确认方案内容包括参数介绍、测试条件和方法、测试的频率及其标准等,应当评估测试过程中所需的取样频率。
工艺验证(PV)
主要目标:是认定所设计的生产工艺,按照规定的工艺参数,能够持续生产出符合预定用途和注册要求的产品。
工艺验证前至少应完成以下工作:
厂房、设施、设备经过确认并符合要求,分析方法经过验证;
日常生产操作人员应当参与工艺验证批次生产并经过培训;
用于工艺验证批次生产的关键物料应当由批准的供应商提供(否则需评估可能存在的风险)并经检验合格放行。
在工艺验证时,应对工艺的每一步、每个单元(工序)操作进行完整持续的生产试验研究。以证明工艺参数能保持在预定的设置区间和限度以内,并且每步的产出与预期一致并符合质量要求。
验证批次
FDA《工艺验证指南:一般原则和方法》2011版中,对工艺验证运行次数没有具体数目的要求,但强调了“持续工艺核实/核查”。
欧盟第15附录最终修定稿可能是基于“传承与过渡”的需要,还接受工艺验证至少三个连续批次的方式。但同时强调了“开始使用运行三个批次的验证方式,可能需要应用作为一个持续工艺确证活动一部分的后续批次中进一步获得的数据来补充”。
验证过程中偏差处理
任何对验证方案和验证批记录规定的偏移都应记录,如需要按不符合事件管理。
关键工艺参数的差异按偏差进行管理。
关键质量属性的差异按偏差进行管理。
如经调查,偏差不是由于工艺本身产生,继续进行工艺验证。
如经调查,偏差是由于工艺本身产生,工艺验证失败-重新开发工艺,或是提高设备能力。
变更控制
当影响产品质量的主要因素,如原辅料、与药品直接接触的包装材料、生产设备、生产环境(或厂房)、生产工艺、检验方法等发生变更时要进行确认或验证。
所有可能影响产品质量或工艺重现性的变更都应按正式的变更程序办理,变更批准前应评估变更可能对产品造成的影响,以确定是否需要进行确认或验证。
对于硬件设施而言,如果更换了设备关键配件,变更时应进行设备的安装确认、运行确认和性能确认。
在确认或验证活动结束后
应当及时汇总分析获得的数据和结果,撰写确认或验证报告。
企业应当在报告中对确认与验证过程中出现的偏差进行评估,必要时进行彻底调查,并采取相应的纠正措施和预防措施;
对于已批准的确认与验证方案的变更,进行评估并采取相应的控制措施。
确认或验证报告应当经过书面审核、批准。
当验证结果不符合预先设定的可接受标准时,应当进行记录并按偏差程序处理。企业如对原先设定的可接受标准进行调整,需进行科学评估,走相应变更程序。
工艺验证报告
实际处方/物料/设备/工艺监控/取样频率符合验证方案
工艺评估和工艺验证数据分析
工艺总结和关键工艺参数分析
中控结果和验证数据总结分析并图表化
批内差异及批间差异统计学分析
形式性分析和改善性分析(如适用)
偏差的详细信息、偏差对于验证有效性评估及产品影响的评估
是否需要修订相应的SOP及记录?(必须填写)
工艺验证报告
工艺能力评估
工艺和关键工艺参数是否可控
中控结果是否符合可接受标准
中间品和成品是否符合可接受质量标准
评估整个工艺是否可以稳定、可靠、可重复一致地生产出 符合质量属性和质量标准要求的产品
工艺验证流程:工艺验证的生命周期
1、工艺设计
设计、研发和放大
知识和技术转移
关键质量属性确定
关键工艺参数确定
2、工艺确认
调试和确认厂房、设备、公用设施、人员培训……
工艺确认方案并成功执行
产品质量一致性与工艺能力的分析和评估
3、持续工艺确认
产品质量与工艺能力的监控与趋势分析
产品质量一致性与工艺能力的持续分析和评估
再验证和后续确认
值得关注的几个问题
所有的确认与验证活动都应当事先计划。确认与验证的关键要素都应在验证总计划或同类文件中详细说明。
验证总计划应当至少包含以下信息:
(一)确认与验证的基本原则;
(二)确认与验证活动的组织机构及职责;
(三)待确认或验证项目的概述;
(四)确认或验证方案、报告的基本要求;
(五)总体计划和日程安排;
(六)在确认与验证中偏差处理和变更控制的管理;
(七)保持持续验证状态的策略,包括必要的再确认和再验证;
(八)所引用的文件、文献。
对于大型和复杂的项目,可制订单独的项目验证总计划。
供应商或第三方提供验证服务的,企业应当对其提供的确认与验证的方案、数据或报告的适用性和符合性进行审核、批准。
企业应当在报告中对确认与验证过程中出现的偏差进行评估,必要时进行彻底调查,并采取相应的纠正措施和预防措施;
变更已批准的确认与验证方案,应当进行评估并采取相应的控制措施。确认或验证报告应当经过书面审核、批准。
当确认或验证分阶段进行时,只有当上一阶段的确认或验证报告得到批准,或者确认或验证活动符合预定目标并经批准后,方可进行下一阶段的确认或验证活动。
上一阶段的确认或验证活动中不能满足某项预先设定标准或偏差处理未完成,经评估对下一阶段的确认或验证活动无重大影响,企业可对上一阶段的确认或验证活动进行有条件的批准。
当验证结果不符合预先设定的可接受标准时,应当进行记录并分析原因。企业如对原先设定的可接受标准进行调整,需进行科学评估,得出最终的验证结论。
企业应当对新的或改造的厂房、设施、设备按照预定用途和本规范及相关法律法规要求制定用户需求。
设计确认应当证明设计符合用户需求,并有相应的文件。
企业应当根据用户需求和设计确认中的技术要求对厂房、设施、设备进行验收并记录。
企业应当证明厂房、设施、设备的运行符合设计标准。运行确认至少包括以下方面:
(一)根据设施、设备的设计标准制定运行测试项目。
(二)试验/测试应在一种或一组运行条件之下进行,包括设备运行的上下限,必要时选择“最差条件”。
最差条件:在标准操作规程范围内(或超出),由工艺参数的上、下限和相关因素组成的一个或一系列条件。与理想条件相比时,最差条件使产品或者生产工艺失败的几率为最大,这样的条件不一定导致产品或生产工艺的失败。
工艺验证的目的:确保工艺始终处于验证状态。
工艺验证应当包括首次验证、影响产品质量的重大变更后的验证、必要的再验证以及在产品生命周期中的持续工艺确认。
企业应当有书面文件确定产品的关键质量属性、关键工艺参数、常规生产和工艺控制中的关键工艺参数范围,并根据对产品和工艺知识的理解进行更新。
采用新的生产处方或生产工艺进行首次工艺验证应当涵盖该产品的所有规格。
企业可根据风险评估的结果采用简略的方式进行后续的工艺验证,如选取有代表性的产品规格或包装规格、最差工艺条件进行验证,或适当减少验证批次。
工艺验证批的批量应当与预定的商业批的批量一致。
企业应当根据质量风险管理原则确定工艺验证批次数和取样计划,以获得充分的数据来评价工艺和产品质量。
企业通常应当至少进行连续三批成功的工艺验证。对产品生命周期中后续商业生产批次获得的信息和数据,进行持续的工艺确认。
在产品生命周期中吗,应当进行持续工艺确认,对商业化生产的产品质量进行监控和趋势分析,已确保工艺和产品质量始终处于受控状态。
在产品生命周期中,考虑到对工艺的理解和工艺性能控制水平的变化,应当对持续工艺确认的范围和频率进行周期性的审核和调整。
持续工艺确认应当按照批准的文件进行,并根据获得的结果形成相应的报告。必要时,应当使用统计工具进行数据分析,以确认工艺处于受控状态。
在极个别情况下,允许进行同步验证。如因药物短缺可能增加患者健康风险、因产品的市场需求量极小而无法连续进行验证批次的生产。
对进行同步验证的决定必须证明其合理性、并经过质量管理负责人员的批准。
运输确认应当对运输涉及的影响因素进行挑战性测试,且应当明确规定运输途径,包括运输方式和路径。长途运输还应当考虑季节变化的因素。
在产品运输过程中可能会遇到各种不可预计的情况,运输确认应当对关键关键条件进行连续监控。
为确认与产品直接接触设备的清洁操作规程的有效性,应当进行清洁验证。
应当根据所涉及的物料,合理地确定活性物质残留、清洁剂和微生物污染的限度标准。
在清洁验证中,不能采用反复清洗至清洁的方法。目视检查是一个很重要的标准,但通常不能作为单一可接受标准使用。
清洁验证的次数应当根据风险评估确定,通常应当至少进行连续三次。
活性物质残留限度标准应当基于毒理实验数据或毒理学文献资料的评估建立。
如何使用清洁剂,其去除方法及残留量应当进行确认。
可接受标准应当考虑工艺设备链中多个设备潜在的累积效应。
应当考虑设备使用后至清洁前的间隔时间以及设备清洁后的保存时限对清洁验证的影响。
当采用最差条件产品的方法进行清洁验证模式时,应当对最差条件产品的选择依据进行评价,当生产线引入新产品时,需再次进行评价。
如多用途设备没有单一的最差条件产品时,最差条件的确定应当考虑产品毒性、允许日接触剂量和溶解度等。每个只用的清洁方法都应当进行最差条件验证。
在同一个工艺步骤中,使用多台同型设备生产,企业可在评估后选择有代表性的设备进行清洁验证。
对于处于研发阶段的药物或不经常生产的产品,可采用每批生产后确认清洁效果的方式替代清洁验证。每批生产后的清洁确认应当根据本附录的相关要求进行。
如无法采用清洁验证的方式来评价设备清洁效果,则产品应当采用专用设备生产。
对设施、设备和工艺,包括清洁方法应当进行定期评估,以确认它们持续保持验证状态。
关键的生产工艺和操作规程应当定期进行再验证,确保其能够达到预期效果。
应当采用质量风险管理方法评估变更对产品质量、质量管理体系、文件、验证、法规符合性、校准、维护和其他系统的潜在影响,必要时,进行再确认或再验证。
计算机化系统的验证
计算机化系统应符合GMP附录的要求,并根据其既定用途进行验证。
不接受供应商提供的独立于系统参数和既定用途以外的验证数据。
脱离了既定的工艺或终端用户的IT硬件设施,供应商的测试可能仅局限于功能确认,可能不能达到性能确认的要求。
计算机化验证中二个关健
数据完整性:是指数据的准确性和可靠性,用于描述存储的所有数据值均处于客观真实的状态。
数据审计跟踪:是一系列有关计算机操作系统、应用程序及用户操作等事件的记录,用以帮助从原始数据追踪到有关的记录、报告或事件,或从记录、报告、事件追溯到原始数据。
对于专业属性强的部分
供应商的管理
企业应当基于风险评估的结果提供与供应商质量体系和审计信息相关的文件。
软件是计算机化系统的重要组成部分。企业应当根据风险评估的结果,对于所采用软件进行分级管理(如针对软件供应商的审计)评估供应商质量保证系统,保证软件符合企业需求。
计算机化系统的系统管理员
系统管理员的权力
包括:数据删除、数据库修正或系统参数更改。
数据利益相关方(系统使用者)
包括数据的产生、使用、审核或批准。
系统管理员实施的变更必须可以由质量体系覆盖,并在质量体系内进行批准。
系统管理员是最高层级,用以分配每个系统使用者的层级和权限。
系统管理员越少越好。
系统使用者不能使用系统管理员账号。
计算机化系统的用户管理
进入权限,保证人员只具有与完成其工作职责相当的操作权限。
企业必须可以证明赋予给个人的登录层级,保证可以获得关于用户进入级别的历史信息。
不能所有人都采用相同的登录名和密码。
来源:制药在线
编辑整理:德斯特GMP(深圳)咨询服务
版权及免责声明:本公众号所有文章除标明原创外,均来自网络。登载本文的目的为传播行业信息,内容仅供参考,如有侵权请联系德斯特删除。文章版权归原作者及原出处所有。本公众号拥有对此声明的最终解释权。

德斯特(深圳)咨询服务有限公司cGMP团队一直致力于国际GMP认证咨询;针对美国GMP认证, EU-GMP认证, PIC/S认证, WHO认证以及中国GMP认证,可为客户提供完整的GMP认证解决方案;同时,在产品注册和产品技术转移,以及新建项目的设计、验证服务可提供专业的咨询服务。