
作者:宋涵
出品:资管科技
4月13日,上海联合产权交易所披露了长生人寿保险有限公司(以下简称:长生人寿)股权转让的消息,涉及转让股权占比70%,转让方分别为中国长城资产管理股份有限公司(以下简称:长城资管,股权占比51%),和其全资子公司长城国富置业有限公司(以下简称:长城国富,股权占比19%),转让完成后,长城资管方面将完全退出长生人寿。
根据上海联合产权交易所产权预披露信息显示,披露起始日期为4月14日至5月12日,其暂未披露转让价格和受让方资格条件。
《资管科技》发现,这是近三年来第二例央企通过产权交易市场转让大型保险公司控股权项目,第一例同样发生在上海联交所,具体项目为信达资产转让幸福人寿50.995%股权。据悉,长城资管此次股权转让,与监管部门要求AMC(资产管理公司)回归主责主业以及长生人寿多年亏损有关。
出清长生人寿 长城资管聚焦“管资”
长生人寿(原名:广电日生人寿保险有限公司)成立于2003年9月,是中国首家获准开业的中日合资寿险公司。成立之初由上海广电有限公司和日本生命保险相互会社分别出资1.5亿元,平分股权。2009年9月长城资管收购上海广电50%股权,更名长生人寿。
日本生命保险创建于1889年,迄今已有一百多年历史,经验丰富,在日本乃至全球保险行业名列前茅。不过进入中国市场后,表现不尽如人意。
长城资管成立于2016年底,前身是国务院1999年批准设立的中国长城资产管理公司。由财政部、全国社会保障基金理事会和中国人寿保险(集团)公司共同发起设立,是四家国有金融资产管理公司之一。主要从事收购、管理和处置国有银行剥离的不良资产。
2015年长生人寿股权分化,引进新股东长城国富,值得注意的是长城国富是长城资管全资控股子公司。彼时,长城资管和长城国富共同出资8.67亿元,日本生命保险不增资。最终长城资产持股51%,日本生命保险持股30%,长城国富持股19%。
如若上述最新股权交易成功,长城资管系将彻底退出长城人寿,长生人寿股权会重新洗牌。不过根据《保险公司股权管理办法》要求,保险公司单一新股东持股比例不得超过1/3,也就是说,此次股权转让后,长生人寿将至少引进3家新股东。
此次长城资管挂牌出售长生人寿追本溯源,除了长期经营不善,主要与监管部门要求AMC回归主责主业大背景相关。2020年8月,银保监会曾下发《关于妥善应对疫情冲击更好发挥金融资产管理公司化解处置风险功能作用的通知》,要求各金融资产管理公司专注主责主业,转变依赖监管套利、多元化经营的老路,围绕“资产管理”培育投资银行、财务顾问等财技和专业能力,专注打造核心竞争力,充分发挥其化解处置金融和实体企业风险的功能作用。
长生人寿方面称,此次股权转让决定是大股东长城资管根据监管要求和自身战略规划所做出的。
长城资管方面称,此次股权转让的决定,是在财政部和银保监会要求金融资产管理公司回归主业的大背景下做出的。今年一季度,长城资管接连发声,确定了“坚持聚焦主业、高质量发展”的战略目标。正如保险要姓“保”一样,资管要“管资”。
《资管科技》注意到,长城资管除了挂牌出售长生人寿,3月22日,长城资管还对河钢资源进行了股权减持,退出“上市公司持股5%以上的股东”名单;甚至有消息称,长城资管还拟出售旗下长城新盛信托的控股权。
2020年11月,长城资管还曾与中电湘江数据服务有限公司签署《股权转让协议》,同意以2.18亿元出售子公司湖南长城医疗科技有限公司100%股权。彼时,公司也曾回应称此举是为了优化资源配置,增强主业核心竞争力。
连年亏损 长生人寿人事变局或将持续
不过长城资管脱手长生人寿,除了宏观大环境监管部门要求资管回归主业,长生人寿长期业绩不振也是一方面。
都说背靠大树好乘凉,不过长生人寿似乎是个意外。既有雄厚资本支持,又有全球知名险企保驾护航,强强联合下的长生人寿成绩却迟迟扶不上墙。
2012年-2019年长生人寿保险业务收入分别为3.31亿元、2.71亿元、2.45亿元、2.47亿元、19.32亿元、18.53亿元、23.16亿元、14.84亿元。
同期净利润分别为-8072万元、-8985万元、-3399万元、-5642万元、235万元、-1.34亿元、-2.6亿元、-1.66亿元。
对比8年数据,除2016年通过银行渠道销售中短期产品使得保费骤增至19.32亿元,从而拉动利润增长,小有盈利外,其余年份长生人寿均亏损。
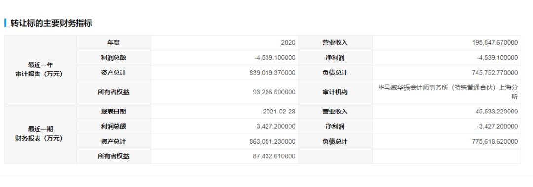
根据上交所披露信息显示,长生人寿2020年实现营收19.58亿元,净亏损4539.1万元,较2019年净利亏损大幅收窄。截至2021年2月报告期,长生人寿实现营收4.55亿元,亏损3427.2万元。

图片来源:上海联合产权交易所官网
2017年长生人寿谋求业务结构转型,由以往赖以生存的银行渠道转变为个险渠道;由发展中短期产品到发展保障型产品转变,逐步剔除保障性较低、价值小的趸交业务发力期缴业务。
长生人寿大力发展大个险业务的同时手续费和佣金支出也在同步扩大。2017年-2019年公司手续费及佣金收入分别为1.36亿元、2.5亿元、4.38亿元。
伴随改革阵痛,2017年亏损幅度扩大,2018年达到新高度,销售中短期产品的弊端显露,在这年退保金大增至16.33亿元,随之2019年保费同比下降35.92%。
2019年-2020年前三个季度,长生人寿季度综合偿付能力充足率分别为201%、191%、186%、177%、154%、135%、130.2%,连续七个季度下滑,直至第四季度才有所回升至145.7%,不过仍远低于银保监会统计的第四季度末人身险公司行业平均水平239.6%。
2018年长生人寿提出三年发展规划,其中针对业绩不振,明确提出要在2019年-2021年内有效降低亏损,规划期后尽快完成盈利,迈向中型寿险公司。眼看大限将至,长生人寿却又再次陷入变局,能否如期完成目标,还未可知。
中外合资的寿险公司,话语权一直是外界关注的焦点。《资管科技》梳理发现,长生人寿董事及高层多数来自大股东长城资产,例如董事长,总经理等重要岗位。
有业内人士分析称,长生人寿经营状况不佳与高管构成也有一定关系,毕竟资管行业和保险行业经营模式不同。成立至今,长生人寿也没有找到适合自身的经营模式,这也是导致业绩持续低迷的主要原因。
值得注意的是,3月30日,长生人寿董事长职位刚经历变更,由杨国兵接替孟晓东任董事长,且任职资格已获银保监会批准。杨国兵和他的前任孟晓东一样来自大股东长城资管。
杨国兵曾任职于央行、工行系统。曾在中国华融资产管理公司先后任职资金财务部、投资银行部、证券业务部高级副经理,南昌办事处总经理助理、副总经理,北京办事处副总经理,股权管理部副总经理、总经理,计划财务部总经理,风险管理部总经理,总裁助理等职。2018年任长城资管总裁助理。可以看出,杨国兵与此前长生人寿高管有共同之处,同样缺乏保险行业经验。
如若此次股权变更顺利,长生人寿未来发展战略以及高层恐将持续震荡。
AMC瘦身 谁来接盘中小保险公司?
目前中国有四大国有AMC,即中国信达资产管理、中国东方资产管理、中国长城资产管理、中国华融资产管理。AMC是国务院在借鉴国际经验的基础上成立的以解决不良资产为目的的金融性公司,也是在资本市场上运作的投资银行类公司。
过去多年,四大AMC一直在致力于收集金融全牌照,除华融资产外,其余三家均有保险牌照。不过,在经历了2018年4月中国华融“赖小民腐败案”后,四大AMC就开始着手出清一些金融牌照,纷纷聚焦主业进入“瘦身阶段”。
针对这一现象,零壹研究院院长于百程表示,“2010年开始,四大AMC业务逐步多元化,致使不良资产处置几乎成为副业。随着多线布局的风险显现,四大AMC纷纷加快回归主业的步伐,转让旗下与不良资产主业不相关的保险公司、投资公司、*款贷**公司等。”
金乐函数分析师廖鹤凯指出,随着近年来不良*款贷**额的攀升,地方AMC加入,四大AMC在主业方面竞争加剧,在多元化商业版图下,非主营业务给集团带来的收益有限,特别是其中很大比例业务持续经营不佳亏损较大。
以上几家资管公司在保险经营方面均是未达预期,信达资产下的幸福人寿在2018年因炒股巨亏68亿元,整体处于亏损状态;信达财险除了2013年-2015年小有盈利外,同样整体处于亏损状态。
信达资产应监管要求,于2020年7月出清所持幸福人寿50.995%的股权,以75亿元价格分别转让给诚泰保险和东莞交投集团;同时逐步缩小信达财险股权份额,退居第四大股东。
长城资产自接盘长生人寿12年仍未实现盈利;东方资产控股下的中华联合财险高层变动频繁,7年换5任总经理,2017年-2019年分别实现净利13.03亿元、11.26亿元、5.81亿元,净利逐步走低。
若长城资管挂牌出售顺利,那就意味着,四大AMC仅余东方资管持有中华联合保险控股公司股权。在回归主业背景下,东方资管是否进一步减持,有待观察。
对于保险公司而言,资本变动必将带动人事调整,尤其控股权变动会影响公司整体战略计划;对于资本方而言,抛弃经营不善的副业,回归主业,会增加市场竞争力。
有保险行业人士指出,伴随保险行业监管日益趋严,资本对于保险股权的投资也更谨慎。而业绩压力以及自身的模式缺陷,使得不少中小财寿险公司的股权面临无人接盘的尴尬局面。