
翼哥曾总结过:
如果说昔日民营航空第一企奥凯航空还有什么能吸引人注意的,那就是三快:
股东变化快
高管变化快
官司来得快
说起打官司来,奥凯航空有些意思:
不仅与员工官司打得多
与合作方也打官司
更厉害的是居然告起自己的代理律师
最厉害的是连国家部委也敢告
如果评个排行榜,奥凯航空不仅是飞上天的第一家航空公司,恐怕官司也是最多的。
梳理这些年来,奥凯航空发生的官司可谓是五花八门,几乎把其他航司的官司都打了。
企查查信息显示:奥凯航空司法案件285件,裁判文书330件。

涉及的类型有劳动争议、合同纠纷、旅客运输合同纠纷、融资租赁合同纠纷、修理合同纠纷,等等。

飞行员官司当然是最多的。
今天不是说飞行员官司的。
今天说的是奥凯航空大股东华田投资。
2019年3月底,奥凯航空的大股东华田投资的股东发生变更,华田的股东已从此前的王树生夫妇变更为广州秋石,其后股权几经变更,目前广州秋石背后有央企华电集团和中航工业的影子。
按照一般情况来看,央企华电集团成为实际控制人后,其实力应该比较强大,但奥凯航空似乎并没有实际性的改观。

实际华田投资也是官司缠身。
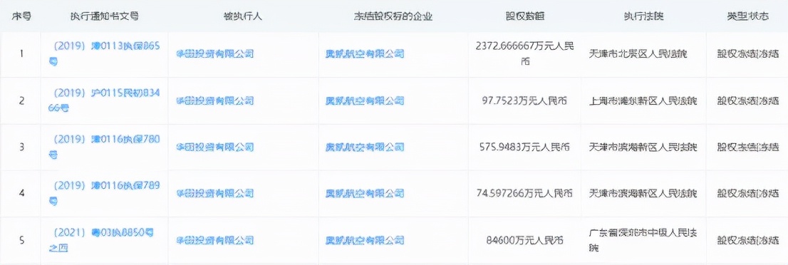
1月11日,因山高国际融资租赁公司与华田投资、天津大田集团、奥凯航空融资租赁合同纠纷案件执行的案件,山高国际融资租赁公司申请将华田投资持有的奥凯航空8.46亿股权冻结。
冻结开始至结束日期:2022-01-11 至 2025-01-10。
事实上,这已不是奥凯航空股权第一次被冻结。
到如今已有5起股权冻结,涉及股权金额约8.8亿元。

不知道其身后的央企华电集团如何看待此事。
最近几年来,国资委三令五申限制央企非主业投资,可身为央企的华电集团以及中航工业通过旗下子公司投资奥凯航空。
不知道这算不算非主业投资。

建议相关部门管一管非主业投资这件事。
民航业已经内卷很严重了,其他央企还想发设法搞航空公司,这恐怕有点说不过去。