
8 月 17 日,叮当健康科技集团 ( 下称叮当快药 )通过了港交所聆讯,上市在即。
自 2014 年成立以来,叮当快药烧掉投资人不少钱,如今总算可以靠二级市场添把柴火。
但,知危编辑部认为,叮当快药这把火,或许很难烧得旺。
越卖越亏
我们先来看看叮当快药的生意模式。
当你想买药但又不想出门时,在叮当快药 APP 上下单支付,就会有骑手小哥送药上门。无论刮风下雨,7×24 小时都能下单,28 分钟内送药上门,这就是叮当快药目前主要做的生意。
按业务种类划分,药品及医疗健康业务贡献了超过 95% 的收入。

图源:叮当快药招股书
按照销售渠道的不同,又可以划分为线上直营、线下零售、业务分销三个方面。
线上直营是叮当快药最主要的销售渠道,贡献约 75% 的收入。线下零售渠道( 叮当快药有线下的药房 )和业务分销渠道( 电商平台 )的收入占比分别在 15% 与 10% 左右。
再拆细一点,叮当快药的线上直营渠道可以分为自营线上平台与第三方线上平台 —— 叮当快药除了自家的叮当快药 APP 和微信小程序外,也入驻了美团、饿了么等平台。
近年来,叮当快药对美团、饿了么等第三方线上平台的依赖度逐渐提高。
2018 — 2019 年,叮当快药自营平台与第三方平台的收入占比还是五五开,而从 2020 开始到今年第一季度,第三方线上平台的收入占比分别为 63.5%、69.5% 与 72.6% 。

图源:叮当快药招股书
出于隐私考虑( 背后真实原因可能是留住平台用户流量 ),美团、饿了么一般不会提供详细的用户资料。 用户都掌握在别家手里,这对叮当快药来说不是件好事。
说完商业模式,那么叮当快药的经营表现如何呢?
2018 年到 2021 年,叮当快药的营收从 5.85 亿元增长到 36.79 亿元,3 年翻了 6 倍。
但随着收入的增长,公司的亏损反而在持续扩大。
2018 — 2021年,公司的净利润分别为 -1.08 亿元,-2.77 亿元,-9.24 亿元,-15.79 亿元。净利率从 -18.4% 一路扩大到 -42.9% 。

图源:叮当快药招股书
即使扣除优先股的 “ 按公平值计入损益的金融负债的公平值损失 ” 和股权激励费用,叮当快药调整后的净利率表现也不见起色。

图源:叮当快药招股书
这种收入增加、亏损却在不断扩大,毫无规模效应的现象该怎么解释?
从叮当快药的利润表看,有三个原因:毛利率不断下滑、履约开支、销售开支居高不下。
2018 — 2021 年,叮当快药的毛利率下滑明显,从 41.1% 降到 31.6% 。
对此,叮当快药的解释是 “ 把握住处方药外流的机遇,增加了低毛利的处方药销售。”( 注:处方药外流指医院开具处方后,患者可以凭借处方在医院外开药。 )
从招股书中可以看到,各种产品中,健康产品的毛利率最高,超过 40% 。
非处方药次之,毛利率平均有 30% 以上。
而处方药的毛利率最低,2021 年只有 17.5% 。
并且,相较于毛利率基本稳定的健康产品,处方药与非处方药的毛利率在逐年下滑。

各类药物的利润

各类药的定义
三种药品的毛利率为何差这么多?
简单来说,跟国家监管程度有关。
处方药受到严格监管,有 “ 两票制 ” 限制价格。健康产品偏消费属性,价格相对自由。非处方药则介于两者之间。 ( 注:两票制指药厂的药流转到医院等经销机构时,只能开两次发票,意在限制中间商数量,压低药品价格。 )
随着政府对网售处方药的监管从禁止到有条件放开,叮当快药增加了低毛利的处方药销售,但从利润表现看,属于是操卖*粉白**的心( 违规销售处方药的监管风险 ),挣卖白菜的钱。
除了毛利率不断下滑,叮当快药的费用也一直不受控制地增长。
为保证 “ 28 分钟送药上门 ”,叮当快药需要自建药品配送系统( 仓库、冷链等 )以及配送团队。截至 2021 年底,公司有由 2800 多名骑手组成的专业药品配送团队。
这部分费用体现在叮当快药的履约开支中,2021 年履约开支占收入的 11% 。
“ 28 分钟送药上门 ” 这个承诺,太贵了。
同时,面对激烈的市场竞争,为了获客,叮当快药的销售费用居高不下,一直保持在收入的 20% 左右。
2018 — 2021 年,叮当快药自营线上平台的平均用户获取成本分别为人民币 5.9 元、人民币 10.3 元、人民币 6.9 元、人民币 18.2 元。
这个获客成本,趋势上在不断增加。
食之无味
从前文的各种数据来看,似乎都可以说明:叮当快药缺乏竞争优势。
我们具体从医药端与配送端两点来看。
在医药端,海王星辰、益丰药房、老百姓、大参林、一心堂等传统线下医药连锁品牌近年来不断跑马圈地,通过自建、收并购小药房,不断迈向万店时代。
截至今年一季度,益丰药房的门店总数为 8225 家,大参林门店总数 8469 家,一心堂门店总数 8809 家,老百姓门店总数 8612 家。
而叮当快药线下的智慧药房,只有 351 家。

图源:叮当快药招股书
从用户数看,今年一季度,老百姓的会员总数已达到 6271 万,2022 年一季度新增会员数 168 万,活跃会员数 954 万。
而叮当快药自营平台的注册用户总数为 3390 万,不到老百姓的一半。月活跃用户数更是只有 170 万。

图源:叮当快药招股书
我们为什么要拿叮当快药这个线上卖药的跟这些传统连锁药房比呢?
因为,既然叮当快药可以入驻美团、饿了么,那么传统线下医药连锁店也可以入驻美团、饿了么,与叮当快药同台竞技。今年一季度,老百姓的 O2O 外卖服务门店达到 6628 家,24 小时门店增至 434 家。
在服务规模上,传统药房入驻饿了么美团后,并不会比叮当快药差到哪去。但深耕行业多年的传统药房,在供应链和采购成本上会比叮当更有优势。
在配送端,截至 2021 年,叮当快药拥有 2800 多名骑手,履约费用约占收入的 11% 。
而美团拥有 527 万骑手,履约费用约占外卖 GTV( 总交易额 )的 10% 。看起来美团的履约成本不比叮当快药轻多少,但是买药是一个低频、偶发性需求,而在美团这个平台上,除了一日三餐的外卖需求外,骑手还可以送鲜花、送水果、送奶茶、送超市订单。这对骑手来说是收入的稳定性和天花板高,对美团来说是履约成本的高效复用,有进一步优化的可能。
至于配送速度,美团和饿了么也不比叮当快药的 28 分钟慢多少,并且对于坐在家里等药上门的客户,28 分钟和 38 分钟甚至 48 分钟区别不太大。如果追求快,要么下楼去药店,要么直接去医院了。
总结来看,你会发现:在 “ 线上即时达送药 ” 这个需求上,传统大型连锁药房+美团、饿了么的组合,或许是优于叮当快药的解决方案。
叮当快药就变得很尴尬,食之无味,弃之。。。好像也不可惜。
逃离的股东
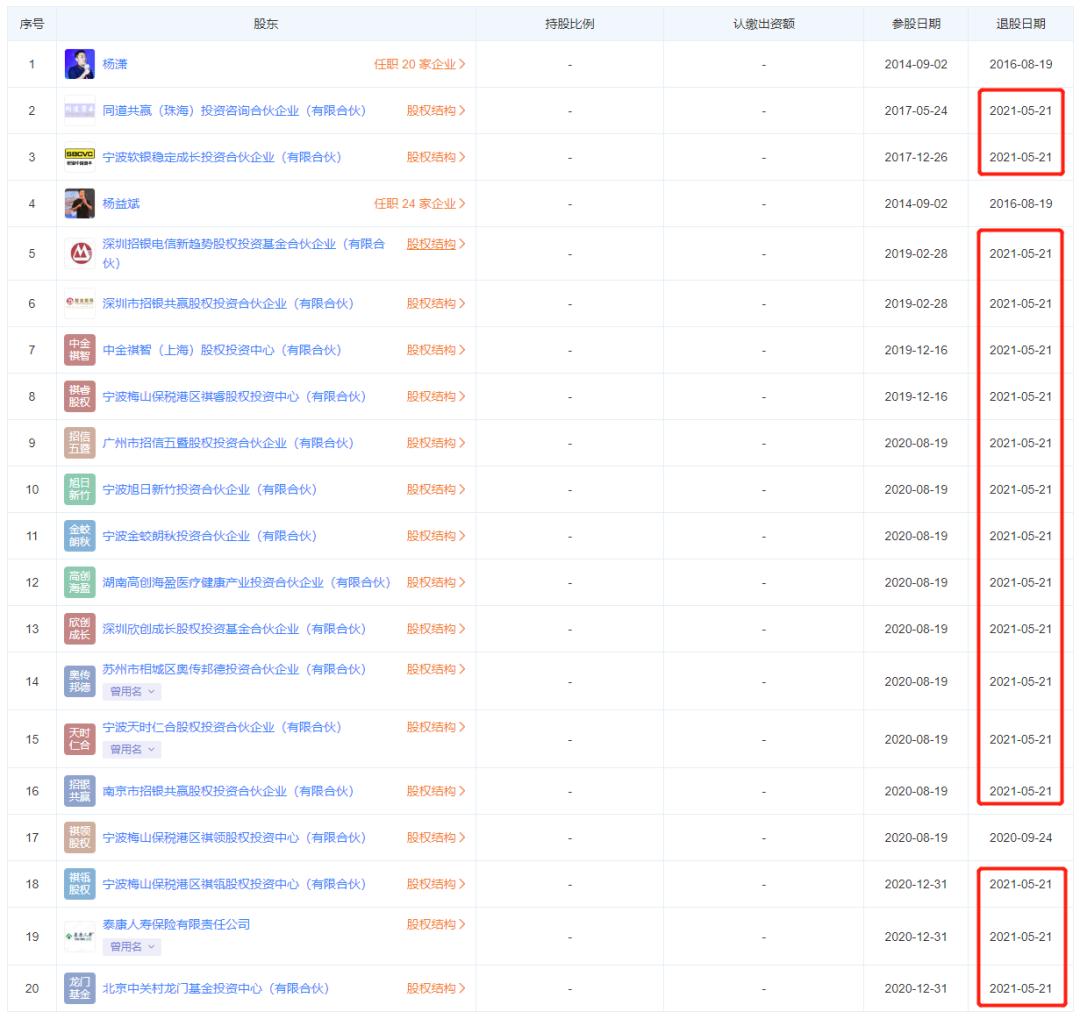
值得一提的是,与市场上常见的 IPO 前突击入股不同,去年 5 月,叮当快药发生工商变更,泰康人寿等 18 名机构股东集体退出。同时,徐军、俞雷、罗萌、于庆龙、冯钢等 11 名董/监事从管理层中退出,其中,俞雷担任的职务为叮当快药 CEO 。


图源:天眼查
玩味的是,这个退出日期,是叮咚快药首次递交招股书前 1 个月的日子。

投资人都在跑,或许代表着对叮当快药前景的不看好。
多重因素考量下来,知危编辑部一致认为,叮当快药如果按照现在的样子发展下去,结果是:
没戏。