

文 | 林轻吟
编辑 | 林轻吟

汽车作为现代社会的主要交通工具,为人们提供了便捷性和灵活性,然而,其排放对环境和健康造成了严重威胁,同时,全球能源问题也日益凸显。
在全球气候变化、大气污染和能源可持续性等议题的背景下,研究和解决汽车排放与能源问题变得尤为紧迫。
汽车排放主要包括二氧化碳(CO2)、氮氧化物(NOx)、一氧化碳(CO)和挥发性有机化合物(VOCs)等。
这些排放物的大量释放导致温室效应和空气污染,进而加剧全球气候变化、酸雨、雾霾等问题。汽车排放还与心血管疾病、呼吸系统疾病和癌症等健康问题密切相关,给人们的健康带来了巨大威胁。

化石能源的使用也加速了温室气体排放,加剧了全球气候变化。因此,转向可再生能源成为了实现能源可持续性的关键。
为了应对汽车排放与能源问题,各国采取了一系列的措施和创新技术。在减少汽车排放方面,推广电动汽车、混合动力车辆和燃料电池汽车等清洁能源汽车成为了重要途径。
提高燃烧效率、引入先进的尾气处理技术和推广节能减排意识也是关键措施。在能源领域,加大可再生能源(如太阳能、风能、水能等)的开发和利用,实现能源多元化,减少对化石燃料的依赖,是实现能源可持续性的关键路径。

汽车排放与能源问题的紧迫性与可持续发展目标密切相关。减少汽车排放和促进可再生能源的采用,有助于降低环境污染、改善空气质量,减缓气候变化进程。
可持续能源的使用也有助于提升能源安全,降低能源价格波动的风险,促进经济的可持续增长。
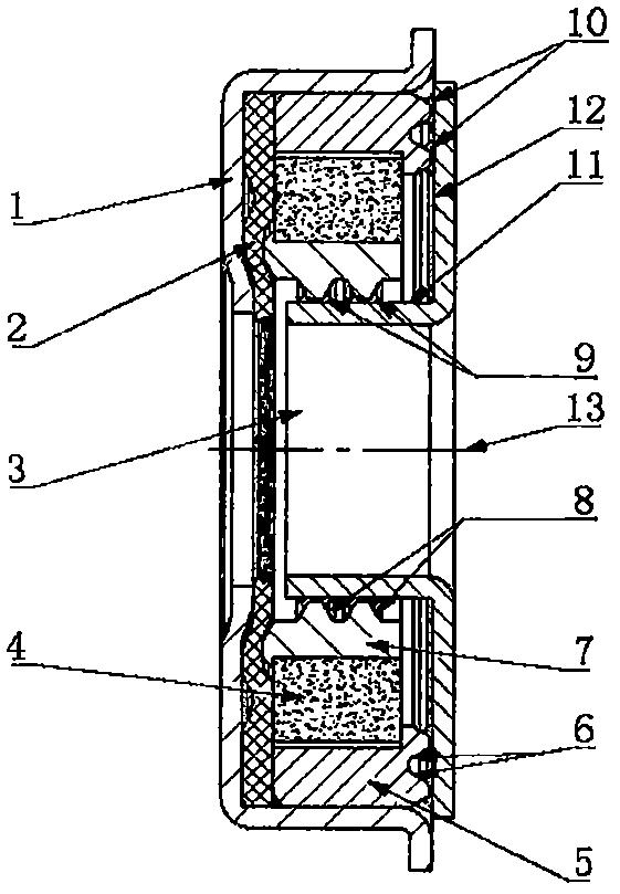
轮增压器由涡轮和压气机两部分组成,它们通过共享同一个轴,紧密相连但分别位于废气流和进气流中。
涡轮受到废气的冲击,使其高速旋转,通过轴与压气机相连,将旋转的动能传递给压气机,从而使压气机提供高压空气给发动机。

涡轮和压气机的转速由废气流量的大小和发动机负荷来控制,实现了压气机为发动机提供合适的进气量。
涡轮增压器的工作过程可以分为四个主要阶段:废气冲击、涡轮旋转、压气机压缩和进气供应。
废气从发动机燃烧室排出,进入涡轮增压器的涡轮部分。废气的高速流动冲击涡轮叶片,使涡轮开始旋转。废气的冲击力使涡轮开始高速旋转,涡轮的旋转速度与废气流量和能量有关。

涡轮的旋转将动能传递给压气机,压气机叶片开始旋转并吸入外部空气。在叶片的作用下,外部空气被压缩,从而提高了空气的密度和压力。
压缩后的空气被送入发动机的进气道,与燃料混合后在燃烧室内进行燃烧,产生更强大的动力。
汽车涡轮增压技术在现代汽车领域得到了广泛的应用,尤其是在小排量发动机中,它可以在一定程度上弥补排量不足的劣势,提供更出色的动力性能。
随着环保和燃油经济性要求的不断提高,涡轮增压技术也在不断创新发展。随着新能源技术的发展,涡轮增压技术有望与电动技术相结合,进一步提升汽车性能和燃油效率,实现更加环保和可持续的交通。


涡轮增压器通过废气能量来提高发动机的进气压力,从而提高燃烧效率和动力性能。涡轮受到废气冲击而旋转,通过同一轴与压气机相连,将旋转动能转化为压缩空气,供应给发动机。
单涡轮增压器是最常见的涡轮增压器类型,它通过单一涡轮和压气机组件实现增压效果。它的结构简单适用于大多数汽车型号,可以提供中高速范围内的增压效果。其优点在于制造成本相对较低,缺点是在低速区域可能存在涡轮滞后现象。

双涡轮增压器采用两个不同大小的涡轮,通常一个较小的涡轮用于低速增压,而一个较大的涡轮用于高速增压。
这种设计可以在更广泛的转速范围内实现更好的增压效果,提供更平滑的动力输出。双涡轮增压器的制造和调校相对较为复杂,成本较高。
变动气道涡轮增压器,变动气道涡轮增压器通过可变气道的设计,在不同转速下调整增压效果。
它可以在低速区域提供快速的增压响应,同时在高速区域减小涡轮的阻力,提高发动机效率。这种增压器适用于要求高性能和高燃油经济性的汽车。

涡轮增压技术在燃烧控制中的应用,涡轮增压技术可以在不改变排量的情况下提高发动机的进气密度,从而实现更高的压缩比,增强燃烧的爆发力。
涡轮增压技术在排放减少中的应用,涡轮增压技术通过更充分的燃烧,可以降低一氧化碳(CO)、氮氧化物(NOx)和颗粒物等有害排放物的产生。在严格的排放法规下,涡轮增压技术成为减少尾气排放的有效手段,有助于改善空气质量和环境。
涡轮增压技术在燃油经济性中的应用,涡轮增压技术可以在一定程度上减少发动机的内部损失,提高热效率,从而实现更好的燃油经济性。通过在不同工况下调整涡轮增压系统,可以实现更高效的燃油利用,降低油耗。

涡轮增压技术在可持续发展中的应用,随着全球对环境可持续性的关注不断增加,涡轮增压技术在推动汽车行业向可持续发展方向转变方面发挥了重要作用。
通过提高燃烧效率,减少排放,涡轮增压技术有助于降低汽车的环境影响,实现更加环保的交通方式。
未来发展趋势,随着新能源技术的不断发展,涡轮增压技术还将继续创新。将涡轮增压技术与电动技术相结合,实现更高效的能量利用和更低的排放水平。随着人工智能和数据分析的应用,涡轮增压系统的智能化和优化也将成为未来的发展方向。


涡轮增压技术通过提高发动机进气压力,增强燃烧效率和动力性能,从而降低燃油消耗和排放。涡轮增压技术可以与其他技术如直喷、可变气门正时等相结合,实现更高效的燃烧。
混合动力系统将内燃机与电动机相结合,实现能量的优化利用。内燃机在高负荷工况下工作,电动机在低负荷工况下提供动力,从而降低燃油消耗和排放。
轻量化技术通过使用轻量材料如铝合金、碳纤维等,减少车辆重量,降低能源消耗。轻量化还可以提高车辆的操控性和安全性。
纯电动汽车和插电式混合动力车辆通过使用电能代替传统的燃油能源,实现零排放和低能耗。电动化技术在城市交通和短途出行方面有着巨大潜力。

智能控制技术通过优化发动机的工作方式和车辆的驾驶方式,实现能源的高效利用。智能控制可以根据路况、驾驶习惯等因素进行动态调整,降低能耗。
涡轮增压与混合动力的协同效应,将涡轮增压技术与混合动力系统相结合,可以在提高燃烧效率的同时,实现更低的燃油消耗和排放。
涡轮增压技术可以提供更高的动力输出,而混合动力系统可以在低负荷工况下降低内燃机的运行,进一步提高燃油经济性。
轻量化与电动化的协同效应,轻量化技术可以降低车辆的重量,减少能源消耗。与电动化技术相结合,可以进一步降低能耗,延长电池续航里程。轻量化还可以减小电池容量,降低电池制造和回收的环境影响。

电动化与智能控制的协同效应,电动车辆的电机输出可以根据智能控制系统的指令进行动态调整,实现更高效的能量利用。
智能控制系统可以根据电池状态和驾驶习惯,优化电动车辆的能源管理策略,提高行驶里程和能源利用率。
德国汽车制造商如奥迪、宝马、奔驰等在排气涡轮增压技术的应用上具有丰富的经验。
宝马的TwinPower涡轮增压技术采用了双涡轮设计,实现了更高效的增压效果,提升了发动机性能和燃油经济性。

日本汽车制造商如丰田、本田也在涡轮增压技术方面进行了积极的探索。丰田的涡轮增压技术在某些车型中实现了高效的动力输出和优秀的燃油经济性,为市场提供了更多选择。
美国汽车制造商如福特、雪佛兰等也将排气涡轮增压技术应用于其车型中。福特的EcoBoost涡轮增压技术在多款车型中得到了应用,通过调整涡轮尺寸和压气机设计,实现了更高的功率和更低的油耗。
其他地区的汽车制造商,除了上述地区的制造商,其他地区的汽车制造商也在排气涡轮增压技术方面进行了探索和应用。韩国的现代、起亚、中国的吉利等,都在涡轮增压技术方面取得了一定的成就。

不同节能减排技术的协同效应为汽车行业的可持续发展提供了巨大的机会。汽车制造商在排气涡轮增压技术应用方面取得了显著的进展,通过不断的创新和实践,为市场提供了更多高性能、高效能源利用和环保的车型选择。
汽车工业的不断发展,为提高发动机性能、燃烧效率和环保性能提供了广阔的空间。排气涡轮增压技术作为其中的重要一环,通过有效利用废气能量,提高发动机进气压力,为引擎注入了新的活力。