电磁阀的工作原理及选型值得收藏 (电磁阀怎么从型号上区分常开常闭)

电磁阀的工作原理及使用方法,电磁阀基础知识大全

电磁阀的工作原理,电磁阀里有密闭的腔,在的不同位置开有通孔,每个孔都通向不同的油管,腔中间是阀,两面是两块电磁铁,哪面的磁铁线圈通电阀体就会被吸引到哪边,通过控制阀体的移动来档住或漏出不同的排油的孔,而进油孔是常开的,液压油就会进入不同的排油管,然后通过油的压力来推动油刚的活塞,活塞又带动活塞杆,活塞竿带动机械装置动。这样通过控制电磁铁的电流就控制了机械运动。

分类:

国内外的电磁阀从原理上分为三大类(即:直动式、分步直动式、先导式),而从阀瓣结构和材料上的不同与原理上的区别又分为六个分支小类(直动膜片结构、分步重片结构、先导膜式结构、直动活塞结构、分步直动活塞结构、先导活塞结构),按照气路数分为2位2通,2位3通,2位4通,2位5通。

电磁阀分为单电控和双电控,指的是电磁线圈的个数,单线圈的称为单电控,双线圈的称为双电控,2位2通,2位3通一般时是单电控(单线圈),2位4通,2位5通可以是单电控(单线圈),也可以是双电控(双线圈)。

一、按被控制管路内的介质及使用工况的不同可将电磁阀分为:液用电磁阀、气用电磁阀、蒸汽电磁阀、燃气电磁阀、油用电磁阀、消防专用电磁阀、制冷电磁阀、防腐电磁阀、高温电磁阀、高压电磁阀、无压差电磁阀、超低温电磁阀(深冷电磁阀)、真空电磁阀等。

二、按电磁阀内部结构不同可分为先导式、直动式、复合式、反冲式、自保持式、脉冲式、双稳态、双向型等。

三、按电磁阀的使用材质不同可分为:铸铁体(灰口铸铁、球墨铸铁)、铜体(铸铜、锻铜)、铸钢体、全不锈钢体(304、316)、非金属材料(ABS、聚四氟乙烯)。

四、按管道中介质的压力不同可分为:真空型(-0.1~0Mpa)、低压型(0~0.8Mpa)、中压型(1.0~2.5Mpa)、高压型(4.0~6.4Mpa)、超高压型(10~21Mpa)

五、按介质温度不同可分为:常温型(~)、中温型(~)、高温型(~)、超高温型(~)、低温型(~)、超低温型()。

六、按工作电压不同分为:交流电压:AC220V 380V 110V 24V;直流电压:DC24V 12V 6V 220V;一般常用电压为AC220V DC24V,推荐用户尽量选用常用电压、特殊电压供货周期较长。

七、按电磁阀的防护等级可分为:防爆型、防水型、户外型等。

从原理上分:

直动式电磁阀

原理:通电时,电磁线圈产生电磁力把关闭件从阀座上提起,阀门打开;断电时,电磁力消失,弹簧把关闭件压在阀座上,阀门关闭。

特点:在真空、负压、零压时能正常工作,但通径一般不超过25mm。

电磁阀的工作原理及使用方法,电磁阀基础知识大全

电磁阀的工作原理及使用方法,电磁阀基础知识大全

分布直动式电磁阀

原理:它是一种直动和先导式相结合的原理,当入口与出口没有压差时,通电后,电磁力直接把先导小阀和主阀关闭件依次向上提起,阀门打开。当入口与出口达到启动压差时,通电后,电磁力先导小阀,主阀下腔压力上升,上腔压力下降,从而利用压差把主阀向上推开;断电时,先导阀利用弹簧力或介质压力推动关闭件,向下移动,使阀门关闭。

特点:在零压差或真空、高压时亦能可*动作,但功率较大,要求必须水平安装。

先导式电磁阀

原理:通电时,电磁力把先导孔打开,上腔室压力迅速下降,在关闭件周围形成上低下高的压差,流体压力推动关闭件向上移动,阀门打开;断电时,弹簧力把先导孔关闭,入口压力通过旁通孔迅速腔室在关阀件周围形成下低上高的压差,流体压力推动关闭件向下移动,关闭阀门。

电磁阀的工作原理及使用方法,电磁阀基础知识大全

电磁阀的工作原理及使用方法,电磁阀基础知识大全

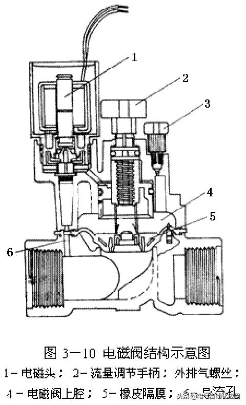
电磁阀在液路系统中用来实现液路的通断或液流方向的改变,它一般具有一个可以在线圈电磁力驱动下滑动的阀芯,阀芯在不同的位置时,电磁阀的通路也就不同。阀芯的工作位置有几个,该电磁阀就叫几位电磁阀:阀体上的接口,也就是电磁阀的通路数,有几个通路口,该电磁阀就叫几通电磁阀。

按照气路数分:

“X位Y通”电磁阀的“X位”代表的就是阀门一共有几种状态:

“2位”表示“通”和“断”2种状态——P→A,P→B,A→R,B→S等状态,断开的气路均处于排气状态;

电磁阀的工作原理及使用方法,电磁阀基础知识大全

“3位”包括上面2种状态,还包括第3种状态——对于第1路排气/不排气,对于第2路排气/不排气的状态,有多种组合。

电磁阀的工作原理及使用方法,电磁阀基础知识大全

“Y通”指的是电磁阀一共有几个孔,对于气体电磁阀,因为存在排气的问题,可能有2个孔(1个进气、1个出气),3个孔(1个进气、1个出气、1个排气),4个孔(1个进气、2个出气、1个排气),5个孔(1个进气、2个出气、2个排气);对于液体电磁阀,就不存在排气问题,因为液体一般不能排空。

电磁阀的工作原理及使用方法,电磁阀基础知识大全

P——POWER,进气孔;

A——出气孔1(接气缸);

R——与出气孔1相通的排气孔(B侧线圈已经通过电或手动控制过,A侧线圈不通电时这两个孔相通);

B——出气孔2(接气缸);

S——与出气孔2相通的排气孔(A侧线圈已经通过电或手动控制过,B侧线圈不通电时这两个孔相通);

两位两通(1个进气、1个出气)

断电时,压力口连到气缸口----通电时,压力口、气缸口关闭;

两(三)位三通(1个进气、1个出气、1个排气)

常开:断电时,压力口连到气缸口而排气口关闭----通电时,压力口关闭而气缸口连到排气口;

常闭:断电时,压力口关闭而气缸口连到排气口----通电时,压力口连到气缸口而排气口关闭;

通常结构:允许阀连接成常闭或常开的位置其中之一,或选择两种流体之一,或由一个口转换流到另一个口

电磁阀的工作原理及使用方法,电磁阀基础知识大全

两位四通(1个进气、2个出气、1个排气)

电磁阀的工作原理及使用方法,电磁阀基础知识大全

一般用于操作双动气缸,在一位置,压力口连到A气缸口,而另一个B气缸口连接到排气口,在二位置,压力口连到B气缸口,而另一个A气缸口连接到排气口;

电磁阀的工作原理及使用方法,电磁阀基础知识大全

两位五通(1个进气、2个出气、2个排气)

工作过程:由图可见,1是进气管,2、4两个是出气管,3、5两个是排气管。当12线圈通电时,阀工作在右阀位,进气由1经过阀从2出去,管4的气经阀从5排出;当14线圈通电时,阀工作在左阀位,进气由1经过阀从4出去,管2的气经阀从3排出。

两位五通双电控电磁阀动作原理:给正动作线圈通电,则正动作气路接通(正动作出气孔有气),即使给正动作线圈断电后正动作气路仍然是接通的,将会一直维持到给*动反**作线圈通电为止。 给*动反**作线圈通电,则*动反**作气路接通(*动反**作出气孔有气),即使给*动反**作线圈断电后*动反**作气路仍然是接通的,将会一直维持到给正动作线圈通电为止。这相当于“自锁”。 基于两位五通双电控电磁阀的这种特性,在设计机电控制回路或编制PLC程序的时候,可以让电磁阀线圈动作1~2秒就可以了,这样可以保护电磁阀线圈不容易损坏。

电磁阀的工作原理及使用方法,电磁阀基础知识大全

电磁阀的工作原理及使用方法,电磁阀基础知识大全

电磁阀特性

一、安全性:不注意安全即会产生灾难

1.腐蚀性介质:宜选用塑料王电磁阀和全不锈钢;对于强腐蚀的介质必须选用隔离膜片式。例CD-F. Z3CF。中性介质,也宜选用铜合金为阀壳材料的电磁阀,否则,阀壳中常有锈屑脱落,尤其是动作不频繁的场合。氨用阀则不能采用铜材。

2.爆炸性环境:必须选用相应防爆等级产品,露天安装或粉尘多场合应选用防水,防尘品种。

3.电磁阀公称压力应超过管内最高工作压力。

二、适用性:不适用等于花钱买费物,还要添麻烦

1.介质特性

1.1质气,液态或混合状态分别选用不同品种的电磁阀,例ZQDF用于空气,ZQDF—Y用于液体,ZQDF—2(或-3)用于蒸汽,否则易引起误动作。ZDF系列多功能电磁阀则可通通于气.液体。最好订时告明介质状态,安装用户就不必再调式。

1.2介质温度不同规格产品,否则线圈会烧掉,密封件老化,严重影响寿命命。

1.3介质粘度,通常在50cSt以下。若超过此值,通径大于15mm用ZDF系列多功能电磁阀作特殊订货。通径小于15mm订高粘度电磁阀。

1.4介质清洁度不高时都应在电磁阀前配装反冲过滤阀,压力低时尚可选用直动膜片式电磁阀作例如CD—P。

1.5介质若是定向流通,且不允许倒流ZDF—N和ZQDF—N单需用双向流通,请作特殊要求提出。

1.6介质温度应选在电磁阀允许范围之内。

2.管道参数

2.1根据介质流向要求及管道连接方式选择阀门通口及型号。例如,用于一条管道向两条管道切换的,小通径的选CA5和Z3F,中等或大通径请选ZDF—Z1/2。又如控制两条管道汇流的,请选ZDF—Z2/1等。

2.2根据流量和阀门Kv值选定公称通径,也可选同管道内径。请注意有的厂家未标有Kv值,往往阀孔尺寸小于接口管径,切不可贪图价低而误事。

2.3工作压差

最低工作压差在0.04Mpa以上是可选用间接先导式;最低工作压差接近或小于零的必须选用直动式或分步直接式。

3.环境条件

3.1环境的最高和最低温度应选在允许范围之内,如有超差需作特殊订货提出。

3.2环境中相对湿度高及有水滴雨淋等场合,应选防水电磁阀。

3.3环境中经常有振动,颠簸和冲击等场合应选特殊品种,例如船用电磁阀。

3.4在有腐蚀性或爆炸性环境中的使用应优先根据安全性要求选用耐发蚀。

3.5环境空间若受限制,请选用多功能电磁阀,因其省去了旁路及三只手动阀且便于在线维修。

4.电源条件

4.1根据供电电源种类,分别选用交流和直流电磁阀。一般来说交流电源取用方便。

4.2电压规格用尽量优先选用AC220V.DC24V。

4.3电源电压波动通常交流选用+%10%.-15%,直流允许±%10左右,如若超差,须采取稳压措施或提出特殊订货要求。

4.4应根据电源容量选择额定电流和消耗功率。须注意交流起动时VA值较高,在容量不足时应优先选用间接导式电磁阀。

5.控制精度

5.1普通电磁阀只有开、关两个位置,在控制精度要求高和参数要求平稳时请选用多位电磁阀;Z3CF三位常开电磁阀,具有微启,全开和关闭三种流量;ZDF—Z1/1组合多功能电磁阀具有全开、大开、小开、全开四种流量。

5.2动作时间:指电信号接通或切断至主阀动作完成时间,只有本公司专利产品多功能电磁阀可对开启和关闭时间分别调节,不仅可满足控制精度要求,还可防止水锤破坏。

5.3泄漏量:样本上给出的泄漏量数值为常用经济等级,若嫌偏高,请作特殊订货。

三、可靠性:不可靠将会损害整个系统

1、工作寿命,此项不列入出厂试验项目,属于型式试验项目。为确保质量应选正规厂家的名牌产品。

2、工作制式:分长期工作制,反复短时工作制和短时工作制三种。本公司常规产品均为长期工作制,即线圈允许长期通电工作。对于长时间阀门开通只有短时关闭的情况,则宜选用常开电磁阀。用在短时工作制而批量又很大时,可作特殊订货以降低功耗。

3、工作频率:动作频率要求高时,结构应优选直动式电磁阀,电源听优选交流。

4、动作可靠性

严格地来说此项试验尚未正式列入我国电磁阀专业标准,为确保质量应选正规厂家的名牌产品。有些场合动作次数并不多,但对可靠性要求却很高,如消防、紧急保护等,切不可掉以轻心。特别重要的,还应采取两只连用双保险。

四、经济性:不经济就是对资金,精力乃至生命的浪费

它选用的尺度之一,但必须是在安全、适用、可靠的基础上的经济。

经济性不单是产品的售价,更要优先考虑其功能和质量以及安装维修及其它附件所需用费用。

更重要的是,一只电磁阀在整个自控系统中在整个自控系统中乃至生产线中所占成本微乎其微,如果贪图小便宜而错选早造成损害群是巨大的。

总之,经济性不单指产品价格,而是产品的性能价格比综合费用价格比。