
直客通完成并购后,双方的整合情况会是这笔买卖是否成功的关键。
【环球旅讯】日前,环球旅讯获悉,刚刚宣布完成3亿元融资的北京直客通科技有限公司(以下简称“直客通”)已全资收购微信运营一站式解决方案平台广州金房卡信息科技有限公司(以下简称“金房卡”)。
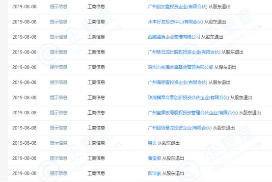
企查查信息显示,8月8日这天,金房卡的工商信息出现了大规模变动:原金房卡大股东黄宝顺变更为无锡金房卡信息科技有限公司,持股比例为100%;实际控制人和法人也从原来的黄宝顺变更为如今直客通创始人刘华;金房卡的三名个人股东韩义、黄宝顺、彭浩崇以及9家企业股东亦在工商信息中显示退出。

金房卡在8月8日出现了大规模工商信息变动
企查查信息还显示,无锡金房卡信息科技有限公司成立日期为7月3日,为直客通100%控股子公司,法人聂礼平同时亦担任直客通董事一职;8月24日,该公司名称发生了变更,从原来的“无锡金房卡信息科技有限公司”更名为“无锡宾客信息科技有限公司”。
通过这一轮运作,直客通已实际完成了对金房卡的全资控股。环球旅讯记者就并购一事向直客通方面询问,但截至发稿前未得到回复。
一位不愿具名的行业人士向环球旅讯透露,早在今年7月初,金房卡便与直客通达成“战略合作”:“达成合作后”的金房卡将保持五项不变:公司战略不变、团队架构不变、市场竞争不变、运营模式不变以及绩效模式不变。

工商变动信息显示,无锡宾客信息科技有限公司对外投资了金房卡

无锡宾客信息科技有限公司成立至今才刚满2个月
停止价格战,共同做大市场
作为一家帮助高星酒店及景区在微信生态开设官方直销店的数字化营销服务商,直客通的盈利模式是为客户提供免费的SaaS系统软件,加上必要的营销服务支持,最终通过从交易额中收取一定比例的系统及运营服务支持费用来获得收益。
该盈利模式对比传统SaaS软件服务商单纯提供软件使用服务的“一锤子买卖”有所区别,直客通的收入实际上与酒店、景区的交易额挂钩,与双方的利益进行了绑定。
环球旅讯特约评论员甘圣宏认为,像直客通一类的微信生态数字营销服务商对于一些IT能力不强、规模偏小、不易形成连锁能力的中小型酒店具有一定的吸引力。“酒店有流量依赖和渠道恐惧,有新的东西就会考虑试试看,死马当活马医。”
他指出,针对酒店的微信生态数字营销服务商对比OTA具有不一样的地方。他认为OTA最大的能力在于增量市场,能够帮助酒店获得远距离的客源;直客通、金房卡更擅长激活酒店自身的存量市场。“如果酒店集团没有海量会员存贮,这会是巨大的红利;至于基于二次激活市场的开发,就看怎么用了。”
在微信生态下,能够为酒店赋能的方式实际上寥寥无几。对于像直客通和金房卡这样的数字化营销服务商,大体套路离不开通过SaaS软件为酒店提供直销预订平台,利用社交网络引流带量,各大平台社区实现广告精准投放这几类服务。
环球旅讯曾指出,在酒店微信生态建设领域里,整个行业总体收益率不高,要实现更大规模的盈利,需要重视对于市场份额的抢占。在市场普遍提供同质化服务的情况下,影响客户购买服务的天平重要的砝码就只剩下价格一项。
上述不愿具名的行业人士表示:“直客通和金房卡达成战略合作后,双方在市场上将停止价格战,争取实现双方公司的各自盈利。”
融资后并购
事实上,在微信酒店生态服务领域,早在直客通和金房卡联姻之前,向蜜鸟就“嫁入”微盟了。
2018年5月,智能商业服务商微盟宣布完成对向蜜鸟的收购协议,向蜜鸟将作为微盟的控股子公司进行运作。这一举措,也被市场看作是微盟进军酒店市场的一个风向标。
作为在微信体系领先的第三方SaaS软件服务商,微盟一直有“新经济SaaS第一股”的称号。今年7月,微盟获得了贝莱德、GIC新加坡政府投资公司以及腾讯的11.57亿港元的战略投资。得到微盟支持的向蜜鸟,尽管如今尚未占据市场的主动权,但是仍然保有了突出直客通重围的可能性。
今年8月,直客通宣布完成了3亿多元C轮融资的信息。当时,直客通表示,此次的融资主要用于技术创新以及业务扩展。
甘圣宏猜测,直客通并购金房卡的行为,实际上也是一个美好的资本故事。甘圣宏道:“酒店领域现在能讲故事的题材不多。OTA天下已定,PMS领域石基和绿云也介入了,边缘化的产品也没什么能玩的。要融资总要有一两个亮点,讲点故事。”
对于这笔高达3亿元的融资金额,甘圣宏指出这样级别的资本介入,通常周期都在半年以上,因此真实情况有可能是先融到资金,再进行并购动作,最终在上个月正式对外宣布融资信息。
整合前景如何?
甘圣宏认为,直客通这笔买卖的成败看的是对资源的整合状况:“整合出来才有优势,如果只是两者相加,不一定等于二,也可能是半个。”
相比之下,环球旅讯评论员朱明生则对这笔买卖的前景表示乐观。朱明生认为,对于金房卡而言,面对当前直客通来势汹汹的态势,套现上岸其实是一个合理的举动;对于一心想要做大规模的直客通,市场少了一个强有力的竞争对手,也同样是一件好事。除了当事方的双赢外,朱明生认为:“对于酒店来说,合并后的公司实力更强,服务可能也更好。”
就目前而言,直客通面前的趋势仍然向好。并购金房卡以后,对于双方资源的整合、技术的互补以及品牌间的差异化仍然是直客通需要解决的问题。
眼望未来,直客通将会进入更多的赛道,面临着来自各个赛道众多企业的激烈竞争。进入景区领域、整合金房卡巩固酒店市场,一系列的举动可能只是开始。在资本赋能下的直客通,或许还能走得更远。