昨天,笔者预告了今日竞拍的4宗限价地,今日竞拍结果已经出来,先让我们来看看具体每宗地的情况吧:
银地(G)[2021]-11号:海宝东路以南、燕庆路以西,东至:燕庆路,南至:纬七路,西至:经六路,北至:海宝东路,起拍价28176万元,成交价34776万元,竞得单位宁夏吉泰房地产开发有限公司,成交楼面价3188元/㎡;

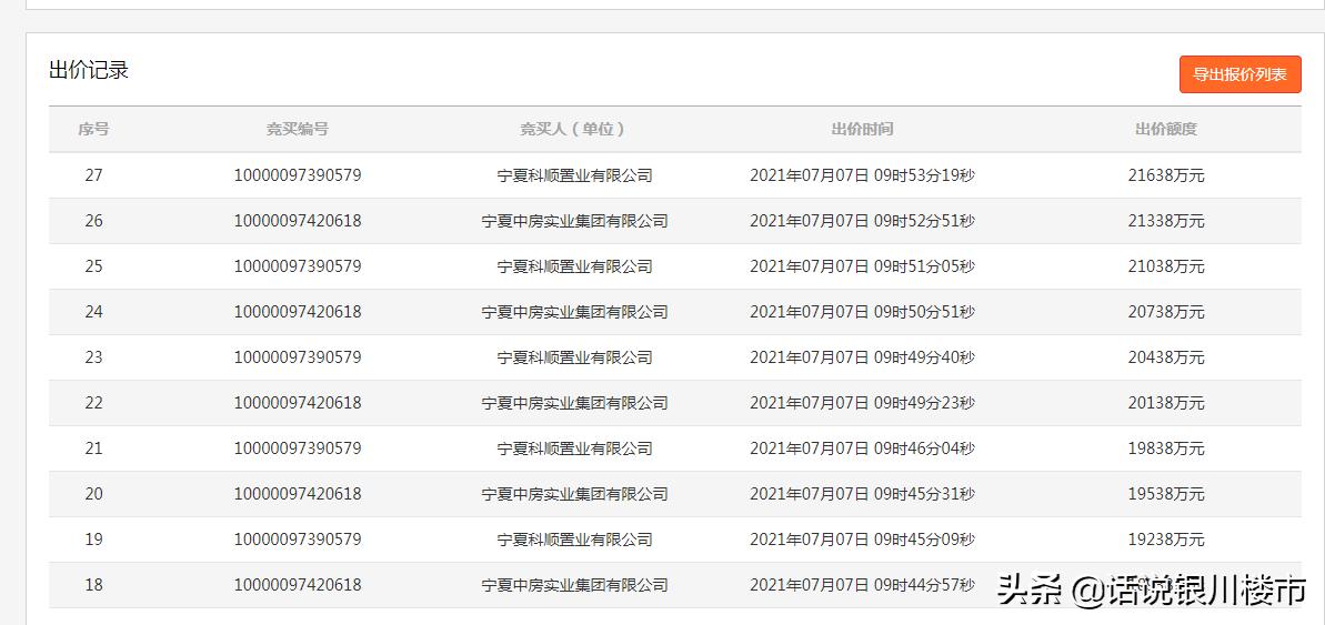
银地(G)[2021]-12号:友爱中心路以东、规划路以南,东至:第二排水沟保护范围,南至:银川市公安消防支队,西至:友爱中心路,北至:规划路,起拍价13838万元,成交价21638万元,竞得单位宁夏科顺置业有限公司,成交楼面价3988元/㎡;

银地(G)[2021]-15号:西夏区怀远东路以北、争先巷以东,东至:站二十巷,南至:怀远东路,西至:争先巷,北至:福园巷,起拍价16041万元,成交价16041万元,竞得单位宁夏中环置业有限公司,成交楼面价2188元/㎡;

银地(G)[2021]-16号:西夏区黄河西路林带以南、同心南街以东,东至:中义巷,南至:规划十号路,西至:同心南街,北至:黄河西路林带,起拍价21748万元,成交价23748万元,竞得单位银川碧桂园房地产开发有限公司,成交楼面价2036元/㎡。

昨天,这4宗地已经有3宗地提前出价,其中12号地出价次数最多,已经4次出价,16号地却是“无人问津”的意思,而今天,这四宗地全部成功交易,12号地不出意外是出价次数最多的,一共27轮报价,参与竞价的还有中房、碧桂园、旭辉、海成集团、民生、世茂、合能(成都永进合能房地产有限公司)等地产公司,可谓是今天四宗地最火热的地块了,11号地12笔出价,15号地1笔出价,16号地则是3笔出价。

11号地出价记录

12号地出价记录

15号地出价记录

16号地出价记录
从拿地的开发商来看,此次四宗地分别4家房企拿,且12号地楼面价几乎达到了近4000元/㎡,12号地房屋均价为8500元/㎡,不知接下来这几宗地会建设怎样的产品呢?让我们拭目以待。