
第一章 绪论
1.1沥青混凝土设备概述
沥青混凝土就是将各种规格的骨料(沙、石)、粘结剂(沥青或渣油)和填料(矿粉)按一定比例形成沥青混合料,经成型后所形成的混凝土板 块。用于拌合沥青混凝土的机械设备就称作沥青混凝土搅拌设备。
1.2沥青混凝土拌合设备的主要用途
该设备可生产沥青混合料、改性沥青混合料、彩色沥青混合料,完全满足修筑高速公路、等级公路、市政道路、机场、港口等的需要。
1.3沥青混凝土拌合设备的主要作用
沥青混凝土拌合设备沥青路面施工的关键设备,沥青混凝土拌合站运用的好坏,严重影响路面工程施工的质量、进度和生产效益。 1.3.1拌合设备完成的基本工作
1.3.1.1将冷矿料初步配料、加热烘干、重新筛分和计量; 1.3.1.2将液态沥青加热、保温、输送和计量; 1.3.1.3将填料进行输送和计量;
1.4.4将按照一定的配合比计量好的热矿料、矿粉与热沥青均匀的拌合成多需要的成品混合料。
1.4沥青混凝土拌合站的结构型式
沥青搅拌设备的结构型式按不同分类方式,有不同说法。一般按以下几种情况分类:
按生产工艺分为:间歇式和连续式;
按运输方式分为:固定式、可搬迁式和移动式。
而沥青混合料搅拌设备的型式可以是组合形式的,如:可搬迁间歇式、移动间歇式等。
1.5沥青混凝土拌合设备整机组成部分
LQG系列沥青搅拌设备主要由配料系统、干燥系统、燃烧系统、热料提升、振动筛、热料贮存仓、称量搅拌系统、沥青供给系统、粉料供给系统、除尘系统、成品料仓及控制系统等部分组成。
组成部分: ⑴ 级配机⑵ 振动筛⑶ 皮带给料机⑷ 粉料输送机⑸ 干燥拌合滚筒 ⑹ 煤粉燃烧器 ⑺ 除尘器 ⑻ 提升机 ⑼ 成品料仓⑽沥青供应系统 ⑾ 配电房 ⑿ 电气控制系统
1.6沥青混凝土拌合设备型号与分类
1.6.1移动双滚筒系列
双滚筒SLB系列特点: 1:间歇式烘干滚筒和搅拌滚筒整体设计,为客户降低投资成本。
2:正转烘干,反转出料,中部引风,整机结构简单,易于操作。 3:PLC可编程集中控制,触摸屏操作,自动手动切换自如。 4:移动式的底盘结构,令运输与安装快捷、方便。 5:燃煤燃油两用型燃烧炉,可根据用户需要选择。
1.6.2移动强制式系列
特点:1:间歇式烘干滚筒和双卧轴搅拌缸整体设计,搅拌更彻底,成品料质量更好。
2:计量准确,质量稳定。
3:正转烘干,反转出料,整机结构简单,易于操作。 4:PLC可编程集中控制,触摸屏操作,自动手动切换自如。 5:移动式的底盘结构。令运输与安装快捷、方便。燃煤燃油两用型燃烧炉,可根据用户需要选择。
1.6.3 成品仓底置楼式系列
特点: 1:成品料仓底置式结构相对旁置式结构,大大减少了设备的占地面积,同时取消了成品料小车提升机构,降低了设备的故障率;
2:将布袋除尘置于烘干滚筒上方,减少热量损失,节省燃料和空间; 3:采用进口振动电机驱动的直线式振动筛,提高了筛分效率,降低了设备故障率;
4:骨料提升机采用双排板链提升,增长了提升机的使用寿命,提高了运转的稳定性;
5:独特的搅拌叶片设计以及非凡动力驱动的搅拌缸使得搅拌更轻松、高效、可靠;
6:优化了的干燥滚筒提料板结构,使得干燥系统更加高效、稳定; 7:预留热再生设备接口,可增加与之配套的热再生设备;
8:双机双控全自动电脑/手动控制系统,带有故障自诊断反馈程序,使操作简单、安全;
9:模块化设计,令搬运、安装更加快捷方便。 绿色环保设备:
1:一级惯性除尘加二级布袋除尘器系统和楼体负压 防尘设计; 2:根据欧洲标准的环保概念,为客户提供了该设备在粉尘排放、酸性物质排放和噪音控制等方面全面达标的保障;
3:无论在城市还是风景秀丽的山庄,该设备都能与当地环境实现融合。
1.6.4成品仓旁置楼式系列
特点: 1:搅拌器采用高强度耐磨材料,提高了使用寿命;
2:一级旋风除尘加二级水式除尘器系统和楼体负压防尘设计,经济实用,为客户降低投资成本;
3:采用进口振动电动驱动的直线式振动筛,提高了筛分效率,降低了设备故障率;
4:骨料提升机采用板链提升,增长了提升机的使用寿命,提高了运转的稳定性;
5:优化了的干燥滚筒提料板结构,使得干燥系统更加高效、稳定; 6:整机采用模块化设计,使搬运、安装更加快捷方便;
第二章 沥青拌合站的基本构造
2.1沥青搅拌设备的主要技术参数
2.1.1标准工况
沥青混合料搅拌设备的标准工况是指环境温度20℃,标准大气压、冷骨料平均含水量为5%,热骨料温度160℃,循环时间45s,成品料为中粒式时的工况。
中粒式沥青混合料:按GB 50092-1996 7.1.2的规定,集料最大粒径为16~19mm的沥青混合料。 2.1.2设计容量
沥青搅拌设备的设计容量主要是指搅拌缸的容量,这主要是针对间歇式来讲的。间歇式沥青站的容量各个厂家并不一致,但基本上有1000kg、2000 kg、3000 kg、4000 kg。 2.1.3工作周期
沥青搅拌设备的生产率由搅拌缸容量与工作周期决定。工作周期是指从搅拌缸放料到下一次放料的时间差,在标准工况下,一般为45s。但对连续式而言,不存在工作周期。 2.1.4生产率
生产率是指沥青搅拌设备在标准工况下每小时的生产量。对间歇式沥青搅拌设备而言,用额定生产率来标定设备的生产能力。如:1000型的额定生产率为120t/h;2000型的额定生产率为160t/h;3000型的额定生产率为240t/h;4000型的额定生产率为320t/h。 2.1.5装机功率
装机功率是指一套沥青搅拌设备所有用电设备的额定功率总和。
2.1.6 燃油消耗 燃油消耗是指烘干滚筒上燃烧器在生产 1 吨合格成品料所消耗的燃油重量。 2.1.7 排放指标 沥青搅拌设备的环保排放指标为两方面。一是污染物排放浓度,另一个是污 染物排放黑度。按国家标准规定,沥青搅拌设备的烟尘排放浓度为≤100mg/Nm3, 烟气排放黑度为不超过林格曼黑度 I 级。 2.1.8 计量精度 沥青混合料是严格按骨料、沥青、矿粉、添加剂的配全比来设计的,因而控 制骨料、沥青、矿粉、添加剂的计量精度是沥青混合料成分质量的保证。按国家 标准规定,沥青搅拌设备的计量精度分为静态和动态计量精度。不论何种型式的 沥青混合料搅拌设备,其计量精度应该是一致的。 国家标准规定的沥青搅拌设备计量精度如表 2-1 所示: 表 2-1 间歇式沥青搅拌设备计量精度 序号 1 2 3 4 5 6 标准砝码 计量(动 态) 标准砝码 计量(静 态) 指 标 沥青计量准确度 粉料计量准确度 骨料计量准确度 沥青计量准确度 粉料计量准确度 骨料计量准确度 单位 % % % % % % 允许偏差 ±0.25 ±0.50 ±0.50 ±2.0 ±2.5 ±2.5


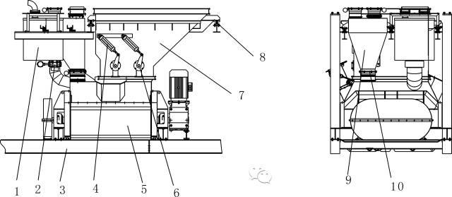
2.2 沥青搅拌设备机械系统的基本构造沥青搅拌设备是将各个有相对独立性的单元连接起来,形成一个以搅拌器为中心的系统。这些单元主要包括:冷料仓单元、干燥滚筒、燃烧器、热骨料提升机、振动筛、计量系统、拌缸缸、成品料仓、沥青加热系统、除尘系统、粉料系统、控制系统、气动系统等,如图4-3所示。1-冷料系统;2-干燥滚筒;3-除尘系统;4-粉料系统;5-热骨料提升机;6-振动筛;7-热骨料仓;8-计量搅拌系统;9-成品料仓图2-2 间歇式沥青混合搅拌设备总体结构2.2.1 冷料系统冷料系统是沥青混合料搅拌设备生产流程的开始,根据沥青混合料的级配要求对骨料进行第一次配比。它主要由若干个独立的冷料仓、给料皮带机、一条集料皮带机和一条上料皮带机组成。其构成简图如图2-3所示。
1. 上料皮带 2. 集料皮带 3.给料皮带 4. 冷料仓图2-3冷料系统总体结构1、冷料系统的各个独立料仓采用模块化设计,方便运输、安装、拆卸,安装时与料仓支撑底架连接成一个整体,其标准配置构成简图如图4-5所示。料仓开门机构采用手动调节方式,如果需要调节骨料级配,有两种调节方式,即改变冷料仓仓门的开度大小,或通过调节给料皮带(图2-4中4)的带速来满足要求,
但主要是调节给料皮带机的转数,当调节转速不能满足要求时,才调仓门。每个仓上面均覆盖有格栅网,它可以在装载机向料仓倾倒骨料时过滤掉超标骨料,同时可以缓解骨料对料仓的冲击。沙仓外壁装有振动电机,可以使沙子顺畅下落,防止起拱。只有在相关设备作好接受骨料准备工作时,冷料仓才能启动。冷料仓电动机的启动取决于拌和站其它电机(如干燥筒、除尘器等)的工作情况。因此只有上述电动机启动后,冷料仓才能启动。1. 料仓仓门 2. 料仓 3. 加高围裙 4. 给料皮带 5. 料流检测开关 6. 缺料报警灯图2-4冷料仓2、给料皮带为带挡边的波纹皮带,其优点是防止骨料的旁侧溢撒,保持料场整洁,其构成简图如图2-5

所示。1. 驱动减速电机 2. 波状挡边皮带 3. 托辊4. 调节螺杆5. 滑动轴承6. 改向滚筒图2-5 给料皮带机每个料仓下面配有一套给料皮带机,由它负责将料仓中的骨料送到集料皮带上。它的运行速度可以通过变频器进行调整,具体视沥青混合料的级配需要而定。当皮带出现跑偏现象时,可通过图2-5中4调节螺杆进行纠正;如当波状挡边皮带向外侧跑偏时,则应通过外侧的调节螺杆将图2-5中5滑动轴承推向右边移动,直到皮带不再跑偏为止。反之亦然。但注意在调皮带过程中要把握一个原则:皮带张力不应过小,过小则皮带打滑;过紧,则会造成滚轮轴承应力反常,磨损严重且耗电量大,皮带容易过早损坏。3、集料皮带和上料皮带以恒定速度运转,头部带有刮板式的清扫器,可以刮掉皮带外表面粘附的泥沙(图2-6)
1. 送料皮带2. 调节螺杆 3. 驱动滚筒4. 头部清扫器A.皮带旋转方向
图2-6 集料、上料皮带机驱动端结构
尾部带有重力式的清扫器(图2-7)

,防止骨料等进入张紧滚筒,损伤皮带。1. 尾部清扫器 2. 送料皮带 3.槽形托辊 4. 改向滚筒 5. 调节螺杆 A.皮带旋转方向图2-7集料、上料皮带机从动端结构集料皮带和上料皮带的结构基本一样,但集料皮带的长度比上料皮带要长许多,集料皮带跑偏的概率比上料皮带要大许多,因此在安装调试时注意以下几点:1、上料皮带的支撑基础的水平高度一定要保持一致;2、因集料皮带是安装在料仓支架上,在做料仓的基础时也要确保持水平高度一 致;3、安装时皮带不要拉得太紧或太松,以皮带不打滑为准则;皮带张力过小则皮带打滑;过紧,则会造成滚轮轴承应力反常,磨损严重且耗电量大。若皮带出现跑偏,其原因比给料皮带机要复杂,可按下列方法逐一排除: 1、 按给料皮带机中介绍的纠偏方法调整图4-8中的5调节螺杆,并可按此方法微调图4-6中的2调节螺杆;2、检查皮带机机架摆放是否水平;如不平则应垫平。3、检查各槽形托辊支架的安装是否与皮带机架垂直;并可根据图2-8所示原理在皮带
1. 槽形托辊 B.皮带跑偏方向图2-8 调整槽形托滚纠偏原理图机上几个适当的位置对槽形托辊的安装角度进行调整,选择的槽形托辊的数量可视实际情况而定。骨料通过上料皮带进入干燥滚筒。在集料皮带和上料皮带之间设有栅格,以防止过大骨料流入干燥滚筒。安装时应使从集料皮带流出的骨料落在栅格长度方向靠上 2/5处,以达到有效筛分的目的。2.2.2 烘干系统烘干系统是沥青混合料搅拌设备的主要部件之 一,其主要功能是用于加热与烘干骨料,并将它们加热到能够获得高质量沥青混合料所需要的温度。为了排除骨料中的水份,烘干系统必须要提供一定量的热量,以便将骨料中水份烘干转化为水蒸气,同时将骨料加热到需要的温度。干烘滚筒为旋转的、长圆柱型的筒体结构(如图2-9所示)。从冷料仓单元的上料皮带出来的骨料从进料箱进入滚筒,与燃烧器产生的热气直接接触而被干燥,同时升温至设定的温度,从骨料出口斜槽流出进入热骨料提升机。
1. 燃烧器 2.骨料出口斜槽3. 烘干滚筒4. 支架 5. 驱动装置 6.进料箱 A.烟气
图2-9 烘干系统总体结构
干燥滚筒的筒体由耐热、耐磨的锅炉钢板卷焊而成,其受热前后的热膨胀一致,可防止高温带来的变形。
筒体的支架与水平面之间有一倾斜角度,目的在于使烘干筒工作时处于一个倾斜位置,以便骨料在滚筒内反复提升的过程中不断向前移动,流向出料端。为了提高烘干滚筒的热交换效率,必须尽可能地限制空气从滚筒与进、出料箱的结合部进入烘干筒内,其密封形式如图2-10所示。A密封装置位于骨料出口的前端,为迷宫式密封,可以通过调整出料箱在支架上的位置来调整其间隙,以减少漏气。B密封装置位于骨料入口的前端,为接触式密封,通过在滚筒上安装耐热、耐磨的密封橡胶板(2) 与进料箱的密封环相接触而进行密封。密封橡胶的安装位置可作径向调整,在局部磨损后可以进行补偿。当滚筒处于工作状态时,不允

许对两端的密封装置进行调整,以免发生危险。A.骨料出口侧 B. 骨料入口侧


1. 出料箱 2.密封橡胶 3. 进料箱图2-10烘干滚筒密封结构用于驱动干燥滚筒旋转的传动装置,采用磨擦驱动,4个驱动轮均为主动轮(如图2-11)。当驱动轮处于工作状态时,不允许用手触摸驱动轮和滚圈,以免发生危险。1. 减速电机 2. 驱动轮支架 3. 驱动轮 4.调节螺栓图2-11 烘干滚筒驱动装置结构在支架靠近进料箱侧的滚圈两边装有限位轮(如图2-12)。限位轮可将干燥滚筒纵向固定在应有的位置上工作,。当限位轮处于工作状态时,不允许用手触摸限位轮和滚圈,以免发生危险。1.限位轮 2.滚圈
图2-12 限位轮结构
为了使骨料在干燥滚筒内均匀分散地前进,并能充分地吸收热量,滚筒内装有若干排弯曲成一定形状的叶片。
滚筒内部的结构按功能来分,主要由以下四部分组成:
1、进料区。这一部分的叶片为螺旋叶片,其功能是将骨料导入滚筒内并快速向前移动。
2、热交换区。为强化热气和骨料之间的热交换,叶片的设计使骨料在这里多次被提升和自由撒落,形成均匀的料帘,使热气能充分穿越料帘并与骨料进行热交换。
3、燃烧区。为使燃料能充分燃烧,在该区段装上一些特别的含料叶片。它可以使骨料在向前移动的过程中被提起并紧贴在筒体内壁而不会落下挡住火焰,同时又能够达到在滚筒内部加热骨料的目的。而且还可以减少由于燃油滴被骨料撞落造成的不完全燃烧的损失、减少通过滚筒壁散热的损失、减轻热辐射对滚筒壁的损害。
4、出料区。它将骨料迅速提起送入出料箱骨料出口斜槽卸出。
2.2.3除尘系统
除尘系统功能是将干燥滚筒里产生的燃烧废气及其它各个装置内产生的粉尘收集处理,排放出符合环保要求的气体。它由一级烟道、第一级重力除尘器、第二级布袋除尘器、二级烟道及引风机等部分组成。较大粒径的粉尘由重力除尘器分离收集,布袋除尘器过滤细微粉尘。为方便运输、安装,且结构紧凑,第一级重力除尘器和第二级布袋除尘器集成为一个整体,如图2-13所示。

1.烘干滚筒 2.烟道 3.温度传感器 4.重力除尘器 5布袋除尘器 6. 引风机 7.烟囱 A.烟气图2-13 除尘系统总体结构除尘系统在负压环境下运行,通过调整引风机风门开度大小控制风压和风量。重力式除尘器收集的粗粉尘通过重力式卸灰阀排放,由螺旋输送机送至热骨料提升机。布袋除尘器收集的细粉尘通过螺旋送料机送到回收粉提升机。提升、筛分、计量和搅拌等环节产生的粉尘通过排气管道汇入一级烟道。经布袋除尘器净化的空气从烟囱排到大气。 1、重力除尘器如果入口粉尘浓度高,则出口浓度也高 。随着除尘效率的提高,出口粉尘浓度会降低,但效率有其局限性。超过一定值,则很难再提高。为了使出口粉尘浓度降低,应尽量降低入口粉尘浓度。实际生产量不应超过设计的生产能力,这样可以保证粉尘排出浓度,同时也可延长各排气管道及螺旋送料机的寿命。 2、布袋除尘器布袋除尘器采用大气反吹原理清理布袋,因此该除尘器必须在负压环境下工作。含尘气体进入布袋除尘器的入口,经布袋过滤后,灰尘粘附在布袋上,净化后的空气通过引风机排入大气。周期性向布袋除尘器内部吹入空气以清除布袋上附着的粉尘。所有布袋分成
若干个隔仓,每个隔仓相互之间是完全密封的。一次清洁一个隔仓,因此布袋除尘器可以除尘和清洁同时进行。收集的粉尘经螺旋送料机和叶轮给料机排出。使用布袋除尘器的过程中,螺旋送料机和叶轮给料机要始终处于工作状态,以避免粉尘堆积在底部。
3、大气反吹
布袋除尘器可划分为多个布袋隔仓。在清灰阶段,除尘器会因为负压的存在迫使空气从布袋的入口进到出口,因而将布袋鼓起,使得沉积在外表面的灰尘落入集料斗中。位于集料斗底座的螺旋输送机则将灰尘排放到外面。
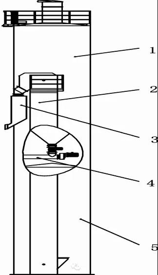
4、粉料系统
粉料系统是沥青混合料搅拌设备的主要部件之一,其主要功能是用于矿粉的储备及回收粉的回收利用,共有两个粉罐,一个用于添加矿粉,另一个回收除尘器过滤粉尘。两个粉罐均由罐体、粉料提升机、过渡粉斗及加粉螺旋输送机等组成。两种粉可按照一定的比例由螺旋输送机送至搅拌楼上称量搅拌, 可分别完成矿粉和回收粉的提升、储存及输送等功能。
粉料系统主体为长圆柱型的筒体结构(如图2-14所示)。矿粉(利用散装水泥车)通过气力输送送入上粉罐,再由螺旋输送机送至搅拌楼上称量搅拌;回收粉由螺旋输 ,送机送入斗式提升机,再由斗式提升机送入过渡粉斗,
1.上粉罐 2. 斗式提升机 3. 过渡粉斗4. 螺旋输送机 5. 下粉罐构
过渡粉斗出口有二条通道,若回收粉不能再利用,则走第 图2-14 粉料系统总
体结构一通道直接回下粉罐;若回收粉能再利用,则走第二通道由螺旋输送机送至搅拌楼上称量搅拌。
五、热骨料提升机
热骨料提升机作用是把从干燥滚筒里出来的烘干的热骨料提升输送到位于搅拌主楼最上部的振动筛里。
热骨料提升机主要由以下几部分组成:
1.上部区段:由上部机壳、上罩和传动链轮组组成。
2.下部区段:由下部机壳和拉紧链轮组成。提升链条采用螺杆加弹簧调节方式张紧,能
自动调整因链条磨损而产生的转动松弛现象,且可缓冲由突发冲击负荷而引起的附加应力。链轮为可拆卸轮缘的组装式结构,使用寿命长,便于维修更换。
3.中部区段:由起支承、防护和密封作用的中部机壳组成。中部机壳为标准节式结构。
4.驱动装置:轴装式斜齿轮减速电机(带制动)整体式驱动装置。 5.运行部分:由料斗、圆还链、链环钩等组成。牵引件采用高强度圆环链,其材质为优质低炭合金结构钢,经热处理后具有很高的抗拉强度和耐磨性,因而性能可靠,寿命长。链条上等距安装提升斗。
6、振动筛
振动筛是将热骨料提升机输送来的热骨料进行分级,送到热骨料仓的装置。热骨料进入筛分机后被筛分成五种规格,分别进入热骨料储仓的五个仓内。振动筛顶部设有分配阀,热骨料也可以不经过筛分,直接进入旁通仓。


1-振动器;2-筛箱;3-减振支撑装置;4-电机传动装置;5-防尘罩;6-分配阀图2-15 振动筛整体结构图1-防护罩I;2-偏心块组I;3-偏心块组II;4-传动轴I;5-万向眹轴器;6-万向节护罩;7-短联轴节;8-防护罩II;9-振动座;10-滚动轴承;11-传动轴II;12-从动轮图2-16 振动器结构图振动筛结构形式为自同步双轴直线式,由1—振动器 2—筛箱 3—减振支撑装置 4—电机传动装置 5—防尘罩五部分组成(见图2-15)。作为振源的两套(四组)振动器分别安装在筛箱的侧板上,当物料进入筛面后同筛箱一起形成参振质量,在减振弹簧支撑下构成整个振动系统(见图2-16,图2-18)。两组振动器之间用万向联轴节连接,每组振动器上分别装有对称相等的偏心质量,在轴承支撑下,电机传动装置传过来的动力,使两套振动器上的偏心质量作自同步异向旋转,离心力呈时而叠加、时而抵消的周期交变状态,使整
个参振系统沿直线轨迹做往复振动。
筛网全部为编织筛网,前后张紧形式(见图2-17)。采用五层五规格筛结构,筛网纵向拉紧,振动筛内部装有4.5层筛网。出厂配置的标准筛网孔径为3、6、11 、22、35 mm,用户可按生产需要配置相应的筛网,图4-20为LB3000型沥青搅拌设备的筛网长宽度尺寸。
1-筛网拉杆;2-拉网弹簧;3-弹簧座;4-螺母 1-减振弹簧
图2-17 筛箱内筛网拉撑结构图 图2-18 减振支撑装置

图4-19 LB3000型沥青搅拌设备筛网尺寸
筛网是振动筛的重要组成部分,正确选择、采用高质量的耐磨筛网,可保证混合料的精确级配,


耐磨筛网是由高碳高锰钢丝编织
而成,耐磨性能好,但抗疲劳性能相对较差,使用中张紧筛网是避免早期异常损坏和保证筛网使用寿命的关键。
合理选择搭配筛网规格对保证产量和筛分质量特别重要。通常的配筛原则为:最大筛孔尺寸根据规范对最大粒径的要求确定;最小和次小筛孔的尺寸从达到容易控制级配线右段走向的要求进行确定;其余筛孔的尺寸应满足各个料仓分配尽量均衡的原则来确定。等效筛孔的选择,请参照国家标准JTG40-2004《沥青路面施工及验收规范》。
7、计量系统
计量系统是根据沥青混合料的配比,对骨料、粉料和沥青进行计量并从卸料门或阀卸入搅拌器的装置。
计量系统包括骨料秤、沥青秤和粉料秤,卸料门或阀是由气缸驱动实现开启与关闭。其结构如图2-20

所示
1.沥青秤 2.沥青秤气动蝶阀 3.机架 4.骨料秤驱动气缸 5.搅拌器 6.骨料秤门装置 7.骨料秤 8.称
量传感器模块 9.粉料秤 10.粉料秤气动蝶阀
图2-20 计量装置总体结构

图2-21 托利多称重传感器模块
8、搅拌系统
搅拌器是将按生产配合比计量完毕后依设定顺序分别投入的骨料、粉料及沥青混合搅拌均匀并排出的装置。搅拌器结构为双卧轴式,两根搅拌轴凭借一对相互啮合的相同的齿轮构成强制同步,转速相等,旋向相反。轴上装有多根搅拌臂,臂端用螺栓连接耐磨叶片。搅拌好的沥青混合料从底部的卸料门排出。搅拌器的结构如图2-22

所示。1-减速电机 2-搅拌臂 3-搅拌叶片 4-搅拌臂 5-搅拌器下箱 6-同步齿轮装置 7-搅拌器门装置 8-门上驱动气缸 9-搅拌器架 10-安装座 11-搅拌器上箱 A-搅拌轴转动方向图2-22 沥青搅拌设备搅拌器结构图9、成品料储存系统成品料从搅拌器卸料门卸出,由运料小车送到成品料仓里暂存。由于是间歇
式设备,即称量与搅拌是分批进行的,约45秒是一个生产循环,运料小车的运行节奏与之一致,所以采用成品料提升与储存系统将搅拌好的料快速及时地存储起来是设备提高高生产率的保证。
在特殊情况下,运输车辆可能直接进入拌缸底部接料。在车辆进入接料前,应先将小车手动操纵移开到搅拌楼外定位,用电动葫芦将前段运行轨道抬高到水平位置。
成品料系统结构见图2-23

1.环链电动葫芦 2.活动轨道 3.运料小车 4.钢丝绳 5.轨道支架 6.提升轨道7.废品仓 8.一号成品仓 9运料自卸车 10.二号成品仓11.卷扬机图2-23 成品料系统总体结构10、沥青导热油加温系统沥青导热油加温系统的工作原理是:传热介质导热油在一个密闭的循环系统中, 从燃烧器吸收柴油燃烧时释放的热量, 使温度升高, 高温的导热油通过循环管道加热沥青以及沥青管道, 降温后的导热油经过再次加温, 周而复始, 直至沥青和管道达到所需的温度。由于现在多数系统的燃烧器采用可编程控制器(PLC) 控制, 性能稳定, 所以沥青导热油加温系统也可称为"无人职守自动加温
系统"。要使其安全可靠地发挥最大的效益, 正确使用与维护是关键。
本装置利用自动燃烧器将导热油加热至180—210℃,并通过循环泵,对沥青罐、搅拌缸、重油加热器、重油罐及沥青和重油管道等进行加热保温,将沥青、重油等加热到所需的温度。
沥青导热油系统结构见图2-24

气路控制系统主要由气源、控制元件、执行元件和辅助元件四部分组成。 气源:是获得压缩空气的能源装置。其主体部分是空气压缩机、冷干机、储气罐、过滤器等。控制元件:用以改变压缩空气流向、压力、流量来实现执行元件所规定动作的元件。如:电磁阀、快排阀等。执行元件:是以压缩空气为工作介质产生机械运动,并将气体的压力能转变为机械能的能量转换装置。在本设备中,执行元件主要为气缸,且为双作用气缸。辅助元件:是使压缩空气净化、润滑、消声以及用于元件间连接等所需要的一些装置。辅助元件包括气源处理元件、气路管道、接头等。2.3电气控制系统的基本构造 2.3.1 计量系统电子计量系统主要由重量传感器、模拟量输入模块组成。传感器采集的重 量信号直接送入到可编程控制器的模块中,通过软件编程对传感器实时采集的重量信号进行处理,并在上位机主流程画面中显示 。传感器又称为重量变送器,其功能是将重量的拉力或者压力的信号,转换成电信号,传感器的工作原理如图4-26。其工作的中心部件是电阻应变片,当重力使应变片受力变形,其电阻发生变化,如果在电阻桥的两个激励端子EX+ 、EX-加上一定的激励电压,则因为桥电阻平衡的打破,会在电阻桥的两个信号输出端 图2-25传感器工作原理图子SG+、SG-产生电位差,于是重力信号被转换成电信号(一般为电压信号)从信号端输出出来。图2-26是几种常用的传感器中,普通的S型和圆柱型的传感器可以以拉和压的方式安装,悬臂和剪切梁式的传感器只能以图示第三方式安装。不管用什么方式安装,称重传感器都应尽量避免
受到非重力方向的作用力。在沥青搅拌站中,骨料秤、粉料秤和沥青秤均采用 图2-26
的是压式的连接方法。传感器连接电缆为六线制信号,分别为激励+(绿)、激励-(黑)、反馈+(黄)、反馈-(蓝)、信号+(白)、信号-(红)和屏蔽电缆。在实际应用中,激励+(绿)与反馈+(黄)应连接在一起,激励-(黑)与反馈-(蓝)连接在一起,屏蔽电缆电缆进行接地。并且传感器自带的连接电缆长度不能把它截断,否则会影响它的匹配电阻。
在沥青搅拌站系统中,传感器采用了串联的连接形式,第一个传感器的输出信号的负极和下一个传感器的信号正极进行相连,每一路秤信号只需第一个传感器的正极信号和最后一个传感器的负极信号反馈到PLC的模拟量输入模块即可。为了增强抗干扰能力,传感器的输入信号需用屏蔽电缆连接,并在传感器的输入信号前加装滤波器,所输出的电压是几个传感器所输出信号电压的之和,需要注意的是,串联的几个传感器的型号和参数必须一致。
(二)室内动力柜
沥青搅拌站控制系统操作房由三个动力柜和一个弱电控制柜组成,动力柜内的电气元器件采用国际知名品牌,经过精心制作,安全、规范。主要有总电源开关、断路器、接触器、电流互感器、隔离变压器、稳压电源、变频器、直流开关电源等。柜内布局见图4-28。
断路器、接触器构成了电机控制的主回路,断路器又称作空气开关,其作用主要是保护电机的短路、过载等现象,接触器用来远距离接通和分断电路及频繁地起动和控制交流电动机。
动力柜中有1个2000VA的隔离变压器,用来对控制回路提供隔离电源,减小动力电源对PLC的影响。
稳压电源用来给控制回路的电源提供一个正常的工作电压范围,保证器件的正常工作。
变频器主要用来完成对冷骨料级配的控制,矿粉及沥青的精确计量。变频器的工作原理为:通过调整电动机的频率来改变电动机的转速,在保证电机恒转矩的情况下,调整电机的工作电压,从而达到节能的目的。
24V的直流开关电源为所有24V驱动的PLC开关量输入、模拟量输入和24V
(三)户外控制柜:户外控制柜包含沥青变频柜和小车变频柜及引风机变频控制柜。沥青变频柜和小车变频柜均由断路器+接触器+变频器所组成,并为变频器连接制动电阻,制动电阻用来消耗在电动机由高速运转急剧转为低速运转时产生的能量,降低对变频器的冲击,延长变频器的使用寿命。引风机变频柜由断路器+接触器+变频器+电抗器组成,电抗器用来降低变频器在工作过程中产生的谐波干扰,保证系统的稳定可靠的运行。(四)燃烧器采用进口一体式燃烧器,是根据沥青拌和站对燃烧器的特殊要求而设计的专业燃烧器,该燃烧器采用燃烧本体,鼓风机合二为一的整体机箱设计,保证了不同工作环境的可靠性和安全性,可根据用户需要采用机械比例或电动比例调
节,进行空气/燃料比例精确调整,以保证最佳的燃烧效率,从而保证沥青产品质量和拌合站的经济性。
燃烧器的控制通过程序控制器+温度控制仪表来控制点火过程及根据设定的温度自动调节油门的开启度。
(五)温度控制器
UDC3300温度控制器的调试方法和步骤:
1.按动温控表SETUP键出现SETUP TUNING,然后按FUNCTON键依次出现下列参数:
A.PROPBD: 15 自调范围
B.RATE MIN 0.02 变化分度/分钟(0.00为无效) C.REST PRM 1 重置分钟数
D.SECURITY 0 此项为设置密码(110)
2. 按动温度控制器SETUP键直到出现SETUP INPUT 1,然后按FUNCTION键进入,调整下列参数
a:IN 1 TYPE J TC L 测温仪选择,为原装J分度号热电偶, ;4-20MA,为红外输入
b:按温度控制器LOWER DISPLAY键退出。
3. 按动温度控制器SETUP键直到出现SETUP ALARMS,然后按FUNCTION键进入,调整下列参数
a:A1S1 VALUE 160 报警温度设置,此项设置应根据除尘器布袋的耐温要求自行设置,一般160 ºC——200 ºC。 b:按温度控制器LOWER DISPLAY键退出。
4. 按动温度控制器SETUP键直到出现SETUP DISPLAY,然后按FUNCTION键进入,调整下列参数
a:TEMPUNIT: DEG C 华氏转摄氏,F改变为 ºC b:PWR FREQ 50HZ 电源频率,60Hz改变为50Hz c:按温度控制器LOWER DISPLAY键退出。
5.自动校准油风门伺服马达。
A. 不启动燃烧器。
B. 将程控器LEC111号脚供电,按温度控制器SETUP键直到CALIB POSITION出现。
C. 按FUNCTION键两次,显示DISABL POS PROP后按上键,直到出现DO AUTO。 D. 按FUNCTION键,显示ZEROVAL和数字,数值从大往小变化,数值不动后既零
位置完成。如此时马达就处于零位,则数值不变。完成后数字应在660左右。 E. 按FUNCTION键,显示SPANVAL和数字,数值从小往大变化,数值不动后既最
大火位置完成。此时数字大约应在3300左右。
F. 按FUNCTION键完成校准程序,按温度控制器LOWER DISPLAY键退出。 G. 重复上述过程中的步骤,多进行几次,完成温度控制器的伺服马达校准程序。
注意:上述过程中请务必派人现场检查伺服马达连杆在转动过程中是否灵活,否则立即关闭控制器电源,防止伺服马达卡死后烧毁。
(六)有机热载体炉
有机热载体炉是一种以轻油、重油、渣油可燃气或煤为燃料,以导热油为载体,对重油储存罐、沥青储存罐进行闭路循环加热并保温的特种工业炉。在使用中能根据仪表设定的
阅读 1927
11






