城建北方设备安装公司喜获《一种暖通施工管道连接结构》及《一种建筑电气施工固定结构》两项发明专利,顺利通过国家知识产权局严格审查,在科技创新领域取得新进展。
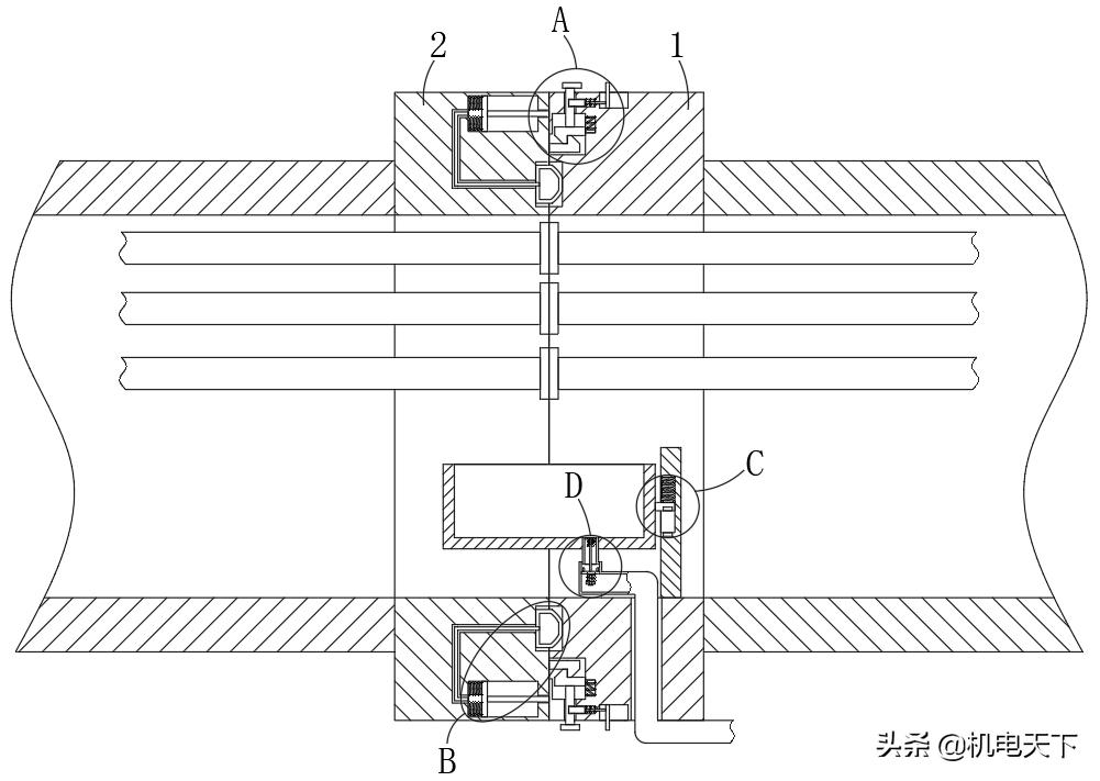
该公司技术团队结合暖通施工管道在进行焊接时可能存在的连接漏焊、管道内的密封性较差及连接处可能被氧化腐蚀的问题,应用《一种暖通施工管道连接结构》这一新技术巧解难题。管道连接结构设计合理,包括连接环、阻挡机构及密封机构,当连接管道处发生漏水时,能够及时排出并使其稳定密封,保证管道内空间干燥,避免管道连接处被外部潮湿的空气氧化腐蚀,提高管道使用年限。通过卡紧机构、阻挡机构和密封机构的设置,当需要实现管道的连接时,操作者拉动第二拉杆,第二拉杆带动挡杆滑入第二安装槽内,挡杆脱离对第一拉杆的阻挡,将第二连接环上的第一卡块插入第一安装槽内,第一卡块挤压第二卡块向上滑动,最终,在第一弹簧弹力的作用下,第二卡块与第一卡块相互卡紧,松开第二拉杆,挡杆在第二弹簧弹力的作用下滑入卡槽内并与其内侧壁相抵紧,实现了两个管道之间的连接,在第一卡块插入第一安装槽内的同时,第一连接环的侧壁挤压推杆,推杆带动活塞滑动,活塞将密封腔内的空气通过连通管压入环形密封气囊内,环形密封气囊膨胀并与第一连接环的侧壁相抵紧,实现了两个管道之间密封,连接方便,并且避免了管道内部的连接管道的连接处被外部潮湿的空气氧化腐蚀。

结构示意图
1第一连接环、2第二连接环
综上所述,本发明结构设计合理,其能够对管道内部空间进行稳定的密封,避免管道内部的连接管道的连接处被外部潮湿的空气氧化腐蚀,且在连接管道发生漏水时,能够及时将漏出的水排出,保证管道内部的干燥。
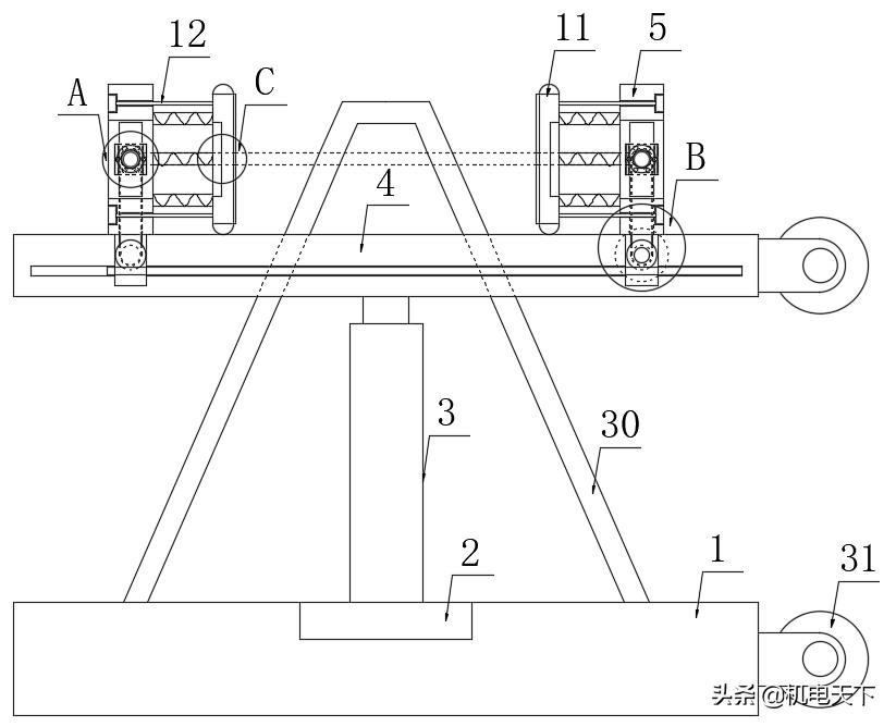
为解决传统建筑电气工程施工时,经常需要在墙体上安装各种电气设备,托举较重的设备时存在较大安全隐患的问题。技术团队开发《一种建筑电气施工固定结构》这一新技术,在升降机构上安装固定座、固定板、夹紧机构、同步机构,快速完成对设备的抵紧固定操作,巧妙避免了在安装过程中需要始终对设备提供托力、拿取及安装操作,实现了安全、高效施工。具体原理为:利用磁板一与磁板二之间的磁性配合便于快速完成对设备的抵紧固定操作,使得后期的安装操作无需用手对设备施加一个托力。弹簧一的设置使得抵紧板相对固定板在磁板一与磁板二不变的情况下也可发生一定距离的移动,从而使得抵紧板对设备施加的抵紧为柔性抵紧,提高抵紧过程中对设备的保护。磁板一的转动操作简便,只用手对旋钮施加一个转动力即可使得两个磁板一同步发生转动。夹紧机构的设置用于在磁板一转动后对磁板一施加一个限位作用,从而使得磁板一在在使用过程中不会发生转动,确保整体对设备的抵紧固定效果。滚轮以及脚手架的设置便于整体的使用以及移动,且滚轮的设置不会对整体使用时的稳定性产生影响。

结构示意图
1底座、2气缸、3伸缩杆、4固定座、5固定板、11抵紧板、12限位杆、30脚手架、31滚轮