
在成员被邀请进协商后,如果成员迟迟没有进行该合同的协商,可对本轮还未协商的成员进行催办,催办后,所有本轮未协商的成员都会收到消息中心的通知。
主要有两种方式可对成员进行催办
第一种: 在协商页面,【协商】选项卡的成员列表中,点击【立即催办】

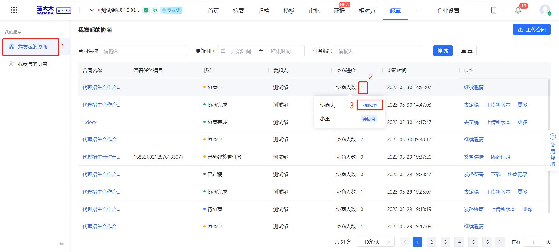
第二种: 在【我发起的协商】列表,鼠标放在协商人数上后,在弹出的协商人列表浮窗中,点击【立即催办】

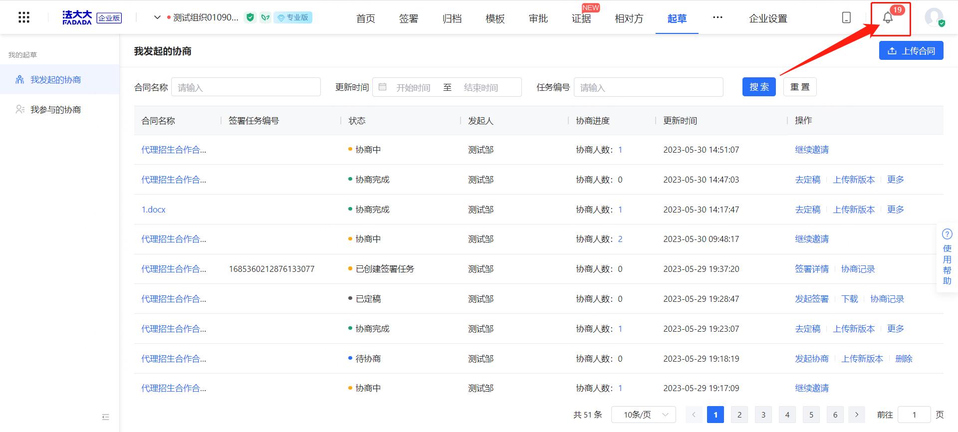
催办后,未协商的人员会看到消息中心的红点提醒

进入消息中心,可看到催办的消息,点击该消息成员可直接进入协商页面进行协商


在成员被邀请进协商后,如果成员迟迟没有进行该合同的协商,可对本轮还未协商的成员进行催办,催办后,所有本轮未协商的成员都会收到消息中心的通知。
主要有两种方式可对成员进行催办
第一种: 在协商页面,【协商】选项卡的成员列表中,点击【立即催办】

第二种: 在【我发起的协商】列表,鼠标放在协商人数上后,在弹出的协商人列表浮窗中,点击【立即催办】

催办后,未协商的人员会看到消息中心的红点提醒

进入消息中心,可看到催办的消息,点击该消息成员可直接进入协商页面进行协商
