9月18日,大公评级公告称,截至2021年6月末,松原城开短期有息债务规模很大,非受限货币资金规模很小,短期偿债压力很大;松原城开因未能按时偿还租金本息被列为被执行人,同时由于被担保企业未能按时偿还租金本息而面临很大的代偿风险。
因此,大公决定维持松原城开主体信用等级AA,维持“14松原城开债/PR松原债”的信用等级AA+,同时将其主体及“14松原城开债/PR松原债”列入信用观察名单。

松原城开公司成立于2003年,属于松原城投集团核心子公司。据最新信息显示,综合城投实力排在吉林省城投前十。

图源 | 企业预警通网页版
松原市是吉林省下辖的地级市,位于吉林省中西部,地处哈尔滨、长春、大庆三角地带,松嫩平原南端。
松原城开主要经营范围为城市基础设施项目开发、投资等。截至2020年末,公司注册资本和实收资本均为9.60亿元,松发集团为公司控股股东,松发集团出资人为松原市财政投资管理中心,实际控制人为松原市财政投资管理中心。


图源 | 企业预警通网页版
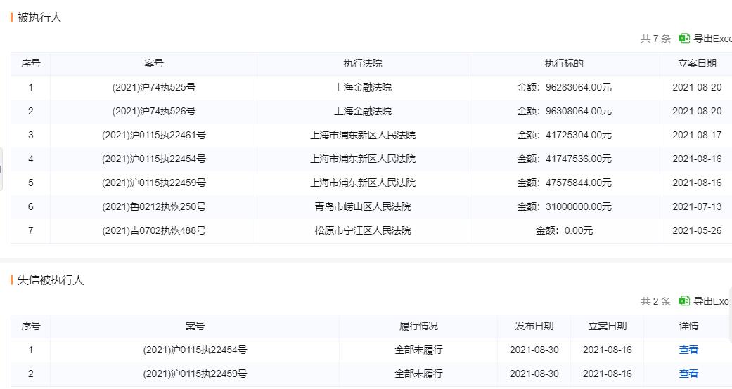
据最新汇总,今年以来松原城开因为债务问题被法院多次列为被执行人,执行金额接近亿元,其中7条被执行人信息,2条失信被执行人。

图源 | 企业预警通网页版
大公国际在报告中称,松原城开与国药控股(中国)融资租赁有限公司于2017年签订了《融资租赁合同》,由于松原城开未能依据合同约定按时偿还租金本息,2021 年8月16日,国药租赁向上海市浦东新区人民法院申请执行,松原城开被列为被执行人,涉及金额4757.58万元。根据松原城开反馈,其正与国药租赁就和解事项进行持续沟通。
此外,松原城开作为连带责任担保人陷入一笔医院的融资租赁违约中。松原市中心医院(松原市儿童医院)与国药租赁在2018年、2019年共签订4项《融资租赁合同》,合同约定松原城市发展投资控股集团有限公司、松发控股集团松原经济技术开发区土地开发建设投资有限公司及松原城开对上述借款事项承担连带保证责任,2021年8月,松原市中心医院未能按照合同约定按时偿还租金本息,国药租赁向上海金融法院及上海市浦东新区人民法院申请执行,松原市中心医院被列为被执行人,松原城开作为连带责任担保人同时被列为被执行人,涉及金额合计27606.40万元。
而以上究其原因,还是松原城开公司本身负债压力大。

图源 | 企业预警通网页版
从企业预警通专业版城投分析来看,松原城开受地方政府支持力度较大,目前市场爆出的负面较少,但平台本身经营实力相较弱些,问题主要出在债务承压偿债能力有限。
2021年中期报告显示,松原城开货币资金为1.77亿元,其中受限货币资金1.40亿元,短期有息债务为53.18亿元,松原城开受限货币资金较多,且货币资金无法覆盖短期债务。
另外目前松原城开债券存量规模80.20亿元,债券11只。其中,1年内到期债券规模达42.2亿元,占比超一半,综合来看其短期债务压力很大。



图源 | 企业预警通网页版
今年以来,吉林对本地城投支持较给力,截止目前今年债市业务任何企业爆雷,公开市场披露的非标风险金额也相较低。从城投来看,今年被下调信用评级的城投公司仅1家,调整为负面2家(含下调),另外松原城开也是该地区今年唯一家信用列入观察城投。