欢迎点击右上角 关注 ,解锁更多内容
#创作能手挑战赛##挑战30天在头条写日记##微头条创作计划#

从本期开始给大家科普信托公司,主要从股东背景,注册地点,注册资金以及违约记录来简单分析信托公司的简单的情况( 小编有68家信托公司评测,如有需求请私信,更多内容不便多讲,请多担待 )
信托作为中国金融行业的四大支柱(信托 保险 证券 银行)之一,信托行业一直备受关注,和银行一样由银保监会监管(国家层面直接监管)。从1979年第一家信托公司(中国国际信托投资公司,现中信信托)至2013民生信托成立期间,最多近千家,历经历史上的数次波动与整顿,信托机构也从曾经上千家减至现在的 68 家,且银保监会明确表明不会颁发信托牌照,对比银行而言,信托牌照更加的价值连城。信托的本质是 获人之信、受人之托、遵人之嘱、代人理财,我们来了解一下信托究竟是什么,能为我们带来什么益处
我国的信托制度最早诞生于20世纪初,但真正发展开始于改革开放。依据《中华人民共和国信托法》的定义,信托是指委托人基于对受托人的信任,将其财产权委托给受托人,由受托人按委托人的意愿以自己的名义,为受益人的利益或者特定目的,进行管理或者处分的行为。我们通常可以从新闻上看到某个明星或者商人为自己设立了 家族信托,其目的很单纯——想自己的财富世世代代传承下去 。但是在 国内信托 通常是 被包装成理财产品和大家见面,即客户认购了信托项目(把钱通过信托借给融资人)从而获取收益 。那么一家信托公司的好坏就直接影响着本金和利息是否可以如期而至。今天我们要分析的是
紫金信托


紫金信托有限责任公司(以下简称“紫金信托”或“公司”)前身 为南京市信托投资公司,成立于 1992 年。
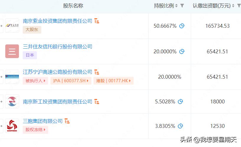
在历经股权变更后,2010 年,经原中国银行业监督管理委员会批准,公司实施增资重组,并重 新登记,更名为“紫金信托有限责任公司”。公司控股股东为国资全 资设立的南京紫金投资集团有限责任公司,并引入国际著名信托金融 机构日本三井住友信托银行(Sumitomo Mitsui Trust Bank, Limited)以 及多家国内知名企业作为战略投资者,形成了国有控股、中外合资的 混合所有制股权架构。
现在公司注册资本金 32.71 亿元人民币,净资产超 过 80 亿元。
注册地址:江苏省南京市鼓楼区中山北路 2 号紫峰大厦 30 层
公司选定的信息披露报纸名称:《证券时报》

控股股东为南京紫金投资集团公司,第二大股东为三井住友信托银行/江苏宁沪高速公路股份有限公司
控股股东南京紫金投资集团为南京市国资委控股企业


在公开信息查询公布的对外20例投资中
江苏省共有18例,占了90%
广东省共有2例,占了10%
从投资的行业来看,租赁和商务服务业占比最高达到了50%
建筑业占比达到了15%
金融业占比达到了15%
科学研究和技术服务业占比达到了10%
批发和零售业占比达到了5%

从上表我们可以看到,该信托资产第一大投向为其他类,占比64.7%,工商业、证券业、金融机构、房地产业、基础产业分别占比 17.81%、8.77%、4.86%、2.06%和 1.79%。
关于其他 年报中并无介绍资金用途。但参考其他公司的年报,其他类”资产主要包括货币资金、收益权类资产等。
占比第二的为工商企业,考虑到该信托公司地处南京有很多的国企地方政府企业,此类不失是一种好标的。自营*款贷**企业是泰州华诚医药投资集团有限公司,地方政府下面的公司

至于证券行业则是当下比较符合监管要求的资金投向 ,基建以及房地产完全看的是该信托项目所处的地段。

从该信托公司的涉案地区,最多的区域在四川这让我有点惊讶

公开信息查询该信托公司可得:恒居99号集合资金信托计划、恒居105号集合资金信托计划、恒居111号集合资金信托计 交易对手为南京旭和房地产开发有限公司、南京金基房地产开发(集团)有限公司
诉讼记录也有佳兆业 世茂




截至 2022 年末,紫金信托净资本 703,138.81 万元,符合该 项指标需大于等于 2 亿元的监管要求。固有业务风险资本 128,903.79 万元,信托业务风险资本 115,304.20 万元,各项业 务风险资本之和 244,207.99 万元。净资本/各项业务风险资本之 42 和为 287.93%,符合该项指标需大于等于 100%的监管要求,净资本/ 净资产为 84.21%,符合该项指标需大于等于 40%的监管要求。

2022 年度公司 实现净利润83,846.13万元。按规定计提法定盈余公积8,384.61万元、 计提信托赔偿准备 4,192.31 万元、计提一般风险准备金 1,252.68 万 元,2022 年实现可供分配利润为 70,016.53 万元。2023 年度拟分配现 金红利为 2022 年当年实现可供分配利润的 30%,取整后即 21,005 万 元。

各类型项目的收益情况
信托公司业务规模排行业中后位,但是有逐年增长的趋势,盈利能力尚可,违约案例少,风险管控能力良好,显示这是一家成长中的信托公司, 后面具备一定发展潜力。
本评测的所有数据来源于公开信息 官网等,以上,目的在于传播 。是否投资该信托公司的产品还要结合很多其他方面综合判断。上述评测不对您构成任何投资建议,据此操作,风险自担。