组成笔记本电脑的各种硬件、电路、功能模块,以及它们之间的相互关系,称为笔记本电脑的系统架构。
笔记本电脑的系统架构中,CPU不仅是系统的运算核心,而且随着制造工艺的提升和核心架构的革新,CPU还担负着越来越多的功能模块的控制工作。笔记本电脑的产品更新和性能提升,从本质上来说是由CPU的革新来驱动的,如早期的CPU性能单一,各种功能模块的通信和控制,主要由主板上南桥芯片和北桥芯片组成的芯片组完成。而随着CPU制造工艺的提升和核心架构的革新,CPU内部集成了内存控制器、PCI-E控制器及显示核心等,从而使内存、独立显卡等设备直接与CPU连接和通信。而此时,主板上的芯片组也由北桥芯片和南桥芯片的双芯片架构更新为单芯片架构。目前,笔记本电脑上使用的CPU主要由Intel公司和AMD公司两家公司提供。而与CPU搭配使用的芯片组也由这两家公司提供。
从2003年到2009年,Intel公司在笔记本电脑上主推迅驰品牌。迅驰移动计算技术代表的是一整套的移动计算解决方案,主要包括Intel的CPU、相关芯片组以及Intel的无线解决方案等。2003年,Intel公司发布了第一代迅驰平台,其开发括了核心代号为Dothan的Pentium-M处理器、915系列移动芯片组以及Intel Pro/Wireless 2200BG/2915ABG无线网卡等组成。平台中的CPU采用更为先进的制造工艺,二级缓存和前端总线频率都得到了明显的提升,使性能有了大幅度的进步。Intel 915系列移动芯片组包括915GM、915PM和915GML等型号,用于针对不同定位的笔记本电脑。其可支持双通道的DDR2400/533MHz内存、支持HD Audio音频、支持SATA接口。其中,915GM集成了显示芯片,支持DX9.0显卡的同时支持PCIExpress x16总线。915PM不内置显示芯片,须搭配独立显卡使用。

第一代迅驰平台的笔记本电脑系统架构图

第二代迅驰平台的笔记本电脑系统架构图
2006年,Intel公司推出开发代号为Napa的第三代迅驰平台。Napa平台包括Yonah核心的酷睿处理器、Intel 945系列移动芯片组和Intel Pro/Wireless 3945ABG无线网卡。Napa平台采用双核心CPU,并且CPU采用65nm制造工艺,其前端总线最高可达667MHz。与之搭配的945系列移动芯片组支持DDR2400/533/667MHz规格的内存、支持SATA和PCI-E总线、集成Intel GMA950显卡。Intel Pro/Wireless 3945ABG无线网卡支持802.11a/b/g标准,采用PCI-E 1x高效接口。

第三代迅驰平台的笔记本电脑系统架构图
2007年,Intel公司发布代号为Santa Rosa的*四代第**迅驰平台。Santa Rosa平台包括了Core 2 Duo处理器、965系列移动芯片组、Intel无线网卡和可选组件Intel迅盘。Core 2 Duo处理器二级缓存最高可达4MB,前端总线频率最高可达800MHz,支持64位运算和多媒体指令集。965系列移动芯片组支持DDR2400/533/667/800MHz规格内存。其中,GM965集成GMA X3100显示核心,使采用集成显卡的笔记本电脑的显示性能有了很大提升。而作为可选组件的Intel迅盘,是一块采用PCI-E接口的扩展卡,能够大幅度提升笔记本电脑在启动、休眠以及其他常规操作方面的速度。

*四代第**迅驰平台的笔记本电脑系统架构图
2008年,Intel公司发布了代号为Montevina的第五代迅驰平台。Montevina平台包括代号为Penryn的CPU、4系列移动芯片组、WiFi Link 5100/5300无线网络模块和第二代Intel迅盘。Penryn处理器采用45nm级制造工艺,引入多项革新技术,其前端总线频率最高可达1066MHz,CPU性能较上一代平台有明显提升。4系列移动芯片组主要包括了GM45、GM47和PM45三个型号,比上一代平台所使用的芯片组在速度上有所提升,而且支持的外部设备更多。

第五代迅驰平台的笔记本电脑系统架构图
2009年,Intel公司发布代号为Calpella的第六代迅驰平台,也是最后一代迅驰平台。自此之后,Intel公司在笔记本电脑领域放弃了对迅驰品牌的推广。2009年,不仅是Intel公司在品牌战略上革新的一年,也是其在笔记本电脑系统架构上革新的一年。沿用多年的CPU、南桥芯片、北桥芯片的三芯片架构,被CPU和PCH的双芯片架构所取代。

采用Intel公司两芯片架构的笔记本电脑系统架构图
2010年,Intel公司开始主推第一代酷睿i系列处理器,酷睿i品牌逐渐成为Intel公司新的品牌策略,迅驰品牌逐渐淡出市场。 2011年,Intel公司在市场上主推以第二代酷睿i系列处理器为核心的笔记本电脑。

基于Intel第二代酷睿i处理器笔记本电脑系统构架图
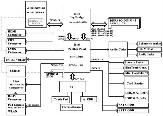
2012年,Intel公司在市场上主推以第三代酷睿i系列处理器为核心的笔记本电脑。第二代酷睿i系列处理器基于32nm制造工艺,采用全新的Sandy Bridge微架构。第三代酷睿i系列处理器采用更为先进的22nm制造工艺,其微架构称为Ivy Bridge。第三代酷睿i系列处理器采用全新的3D晶体管制造技术,使CPU在性能稳步提升的同时其功耗更低。而与第三代酷睿i系列处理器搭配使用的则是Intel公司的7系列移动芯片组,其主要包括HM77、HM76、HM75、QM77和UM77等几个不同的型号。

基于Intel第三代酷睿i处理器笔记本电脑系统构架图