早上世纪90年代末,日本四大摩托厂商都在极力争夺极速之王的名号。在1997年本田推出了全新车型CBR1100XX superblackbird 超级黑鸟,最高时速超过300公里/小时。

随后,其它厂商争相效仿纷纷推出了对应车型来应对。比如:川崎的ZX-12R、铃木的GSX1300隼。因为推出的最早,所以无论是排量,最大马力,还是极速,本田黑鸟都是最小的。随着时代的变迁这些一代神车逐渐淹没在历史长河当中。近日,外媒再度将CBR1100XX提起,还和本田的CBR1000RR-R FireBlade有关,我们一起来看下。

在今年的米兰车展上,本田带来了CBR1000RR-R FireBlade,这台全新火刃不只在动力上大有变化,更是在车头两旁使用了定风翼空力套件。这也是本田首次在民用摩托车上采用空气力学设计套件,在此之前已经有多家品牌将空力套件应用到民用摩托车上。

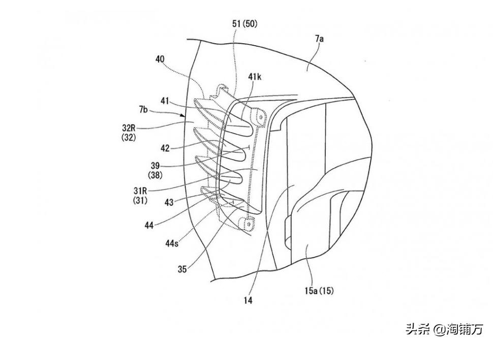
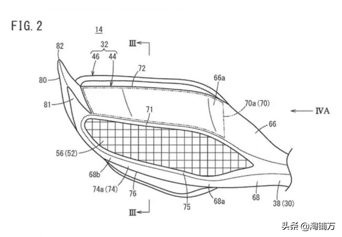
根据外国媒体所提供的消息,本田摩托研发部门似乎准备将空力套件技术继续推进,且准备搭载在全新的Sports Tourer车款上。并且从曝出的专利图来看,本田欲将传奇车型CBR1100XX Super BlackBird 超级黑鸟复活!


从曝光的设计图上看,与CBR1000RR-R的空力套件有所不同,这组最新曝光的专利图上,可以看到露出四支的小翅膀,两边总共八支的小翅膀比起CBR1000RR-R发设计更加夸张。


另外之前也曝光过的后视镜空力套件设计,也同步出现在这次的专利图当中,要知道空力套件的主要目的就是提供,高速行驶下的下压力。让人不解的是究竟是多高的极速,才需要用到如此多的空力套件。

根据目前报导来看,未来最有可能搭载上这些空力套件的车款,将会是一台Sports Tourer跑旅车型,也因此让人联想到本田在90年代末期推出的CBR1100XX Super BlackBird 超级黑鸟,当时本田为了和KAWASAKI ZZ-R1100竞争最快量产摩托车头衔,而推出了这台CBR1100XX,在当时CBR1100XX 也是首款突破时速300km/h的量产摩托。

空力套件是从MotoGP赛场上开始流行的,从去年开始就能看到杜卡迪、Aprilia以及本田和川崎都陆续将空气动力学设计应用到民用车上,未来或许会有越来越多车型,获得空气动力学套件。如果本田真的在将来让Super BlackBird 超级黑鸟复活的话,相信又会引发一场各大品牌的厮杀!

本田 CBR1100XX Super BlackBird 参数:
发动机形式:直列4缸 DOHC 每缸4气门
排量:1137cc
缸径x行程:79X58mm
压缩比:11.0:1
燃油供给方式:MPG-FI多点电喷
最大功率:164hp/10000rpm
最大扭矩:124Nm/7250rpm
变速箱:6速
前制动:2X310mm双碟;6活塞对置式卡钳
后制动:256mm单碟制动;6活塞对置式卡钳
整备质量:223kg
0-100km/h:3.2秒
0-200km/h:9.6秒
实测急速:320km/h
生产年限:1997年——2007年