12月15日,许昌市区繁华路段3块住宅用地网上拍卖,全部溢价成交,其中原魏都区政府大院地块被许昌恒房地产集团竞得,另外两个地块均被许昌市国企竞得。

23号地块成交信息

23号地块在地图上的大致位置
魏都区老城区23号地块:位于榆柳街以东、人民路以北,出让面积为14852平方米(22.28亩),土地用途为城镇住宅用地,规划容积率大于1小于1.7,土地使用权出让年限为70年。拍卖起始价为7969万元。
23号地块以8049万元成交,每亩地价为361.27万元,楼面地价为3188元/㎡,被许昌恒达房地产集团有限公司竞得。
从地图上看,23号地块为原魏都区政府大院,周边已经成熟,有许昌市第八中学、许昌市古槐街小学、榆柳小区等。

43号地块成交信息

43号地块在地图上的大致位置
建安区东南片区43号地块:位于恒通路以北、瑞园路以东,出让面积79110平方米(118.67亩),土地用途为城镇住宅用地,规划容积率大于1小于2.5,土地使用权出让年限为70年。拍卖起始价为26043万元。
43号地块以26565万元成交,每亩地价为223.86万元,楼面地价为1343元/㎡,被许昌建安投资集团有限公司竞得。
从地图上看,43号地块周边有和院兰亭、建安区魏风路初级中学、魏风路小学等。

1501号地块成交信息

1501号地块在地图上的大致位置
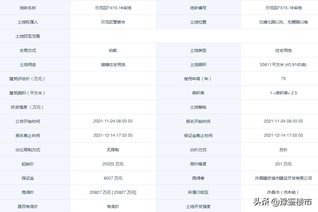
示范区FX15-1号地块:位于文峰北路以东、宏腾路以南,出让面积30611平方米(45.92亩),土地用途为城镇住宅用地,规划容积率大于1小于2.5,土地使用权出让年限为70年。拍卖起始价为20023万元。
1501号地块以20827万元成交,每亩地价为453.55万元,楼面地价为2722元/㎡,被许昌建投城市建设开发有限公司竞得。
从地图上看,1501号地块周边有鼎鑫·蓉尚府、许昌恒大悦府、金科·东原·正荣芙蓉阅府、中央公园等。