虽然目前国内在售的丰田车型跟国际上流通的型号仍相差甚远,但常见的拥有四轮驱动系统的型号也很是能见,所以,今天便借此文盘点一下丰田曾经出现的几款恒时四轮驱动。
C.Diff Visc四驱驱动系统(1987年)
这是一套使用于前轮驱动、手动变速箱车型的粘性离合器作为中央差速器的恒时四驱系统。

这套四驱系统的结构原理都较为简单,扭力从前差速器(蓝色)出来后,接入一个分动箱(黄色),通过分动箱内部的离合器片工作与否及多寡,对扭力进行分配,属于前轮部分的交给粉红色的前轮传动轴,分配给后轮的则有灰色部分传递给后轮传动轴。离合器内部的油液有80%的自由体积,当前轮出现左右速度差就会令硅基油膨胀并硬化、从而令离合器片接合。
该系统从1987年开始服役,使用在Corolla、Corona、Camry、RAV4、Lexus RX等很多车型上,直至2005年退役。
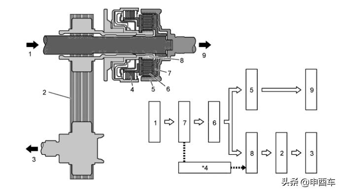
V-Flex系统(1989年)
V-Flex系统是丰田最朴实无华的四轮驱动系统,其原理相对而言也较为简单,就是通过在一个Rotary Tri-blade Coupling(旋转三叶联轴器)链接后轮,或者也可以将此装置理解为传统意义上的“粘性离合器”。该离合器分为“工作室”和“控制室”两大部分,两者之间使用活塞隔开,工作室内包括了一组湿式离合器盘。

图:离合器位于主传动轴中部,并经过两次进化,第一次是液压离合器、第二次换成了ATC电子控制后差速器。

图:V-Flex第一次改进后的离合器(4)。

图:这是V-Flex第二代上使用的离合器式后轮差速器。
正常行驶时,传动轴各部分也同步旋转,离合器部件相对静止;转弯时,通过以最小的阻力缓慢转动离合器来补偿车轮速度差;当前轮打滑时,速度差变大,活塞后面产生的压力增压,从而压缩离合器片,扭力分配到后轮。该系统最早使用在1989年的Starlet小福星(P80)上,之后的Tercel、Corsa、包括一直到第一代Vitz威姿、Will、bB等均有使用,直至2007年退役。
Fulltime-Visc四驱系统(1990年)
该系统是一套适用于后轮驱动车型使用的四驱系统,但前后轮扭力分配比例仅有50:50一种,所以使用这套系统全部为商用车或Minivan一类的车型。这套系统也较为简单,使用一个行星式中央差速器,分动箱的输入轴与行星齿轮的行星齿轮有花键连接,粘性离合器壳体也连接到行星齿轮,中央差速器内使用六对卫星齿外与定子啮合,内与太阳轮(后输出轴)啮合,链轮衬套通过花键连接到托架的后部,粘性离合器的内轴和前驱动链轮与链轮衬套相连,链条用于将动力转向从中央差速器传递到前传动轴。

图:1、从变速器输出轴;2、分动箱输入轴;3、定子;4、卫星齿;5、托架;6、驱动链条齿轮;7、套筒;8、到后传动轴;9、轮毂;10、链轮衬套;11、链条;12、前输出轴;13、到前传动轴;14、粘性离合器;15、后输出轴。
这套系统应用在Hiace、Granvia、Grand Hiace、Estima、Townace、Noah等车型上。
i-Four四轮驱动系统(1992年)
这套四轮驱动属于后轮驱动车型专用,主要搭载车型是Crown、Mark II、后来Lexus GS和IS所使用四驱系统均为此套装置,它适配于A750H、A760H、A761H自动变速箱,其分动器的型号为UF1AE。

从上面的剖视图便可知道,其机械结构并不复杂,就是通过变速箱后部的一个电控多片式离合器作为分动器,接合时将动力分配到前轮,以达到3:7或者5:5的扭力分配。

图:1、来自变速箱;2、链条;3、通向前轮;4、离合器;5、飞轮;6、卫星齿轮;7、托架;8、太阳轮;9、通往后轮。
该系统从1992年应用于Mark II、Chaser等车型上,于2009的Mark X 120一代停产后退役。
E-Four电子四驱系统(2001年)
在2001年推出的Estima(AHR10)及后来2003年推出的第一代Alphard(ATH10)上出现了一套名为E-Four并适用于Hybrid车型的电子化四轮驱动系统。它的工作原理非常简单,它其实就是一个MGR电动机,通过一个两个档位的变速箱后将电机动力传递给后轮。

这台后轮电机在不断发展过程*共中**推出过四代,从最早的Q210(25匹、108牛米)、到2005年推出的Q211(68匹、139牛米)、再到2015年的Q510(6.8匹、55牛米)、而最新一代则是2018年出现的Q610(54匹、120牛米)。但无奈地,虽然装备这套系统的车型仍叫AWD,但它远达不到机械传动四驱系统的效果,经常被诟病后轮牵引力不足的问题。看来此系统仍需不断改进。
Torsen四驱(2002年)
虽然每当提起Torsen机械式差速器时,绝大部分人都会想起AUDI的Quattro四轮驱动系统,但“Torsen”这个品牌由JTEKT公司(捷泰格)拥有,而这家公司则属于丰田!JTEKT则是由Koyo精机和丰田机械在2006年合并而成。2002年开始投入使用的Torsen四驱系统最早出现在SUV上,2006年配备Lexus LS车系,2010年后则陆续应用到皇冠上,该分动箱型号为LF1A,可搭配丰田8AT或10AT的自动变速箱使用,当然混合动力变速箱也适用。

这款四驱系统的工作原理跟之前介绍的后轮驱动车型所使用的Fulltime-Visc系统基本一直,只不过分动部分从离合器是变成了Torsen机械式差速器,力量分配得更为细腻,能在50:50至30:70之间变化,而且力量传递也更为直接,对于提高车辆操控有要求的车型,帮助非常大。
DTV四轮驱动系统(2018年)
DTV的全称是Dynamic Torque Vectoring AWD,是丰田在2018年才推出的电子控制多片式离合器系统,它属于前轮驱动为主,无中央差速器和后差速器,只通过安装在后变速箱内的两个多片式离合器单独链接后轮。

图:最早使用这套系统的是第五代RAV4,它由GF2A分动箱和FD15EF后变速器组成,

图:这就是后离合器体的内部结构。1、电控离合器、2、离合器控制单元、3、后凸轮离合器控制器、4、滚珠轴承、5、从动齿轮。
该系统通过方向盘角度传感器、车轮转速传感器、加速度传感器、制动踏板、驻车制动器、节气门位置、曲轴位置、档位信号等等各种车辆状态传感器进行运算,能自动保持传递到后轮的扭力,并校正后分配给左右后轮。如果车辆在稳定的行驶状态下一段时间,系统甚至断开动力衔接以节省动力。
与这台DTV系统协同工作是A25A-FKS和M20A-FKS引擎及K120F变速箱。
结语:
上述的仅仅是系统形式的介绍,当中还有很多变种形式,例如是用ATC离合器的四驱系统等等,还有很多不同时期的修改型号也没有在本文列出。毕竟不单丰田、还有其他品牌的四驱系统都是在不断的进化和修改中的。但文章最后还是那句关于用车方面的忠告:恒时四轮驱动系统仅适合于铺装路面使用、用于有效地分配引擎扭力,让抓地力发挥得更好而已,切勿拿它去翻山越岭,那不叫勇气,那叫无知!
#awd##汽车设计#