一直以来,房屋买卖过程中最容易产生纠纷。一则是房屋金额过大,稍微一不小心就是一大笔钱。二则普通人一辈子只买一套房子,没有经验,很容易被坑。
这种纠纷可以说年年有,一点都不稀奇。可是前不久长安君注意到了,西安市住建部门新上线了一个平台——商品房销售行为诚信信息平台,据说这个平台和淘宝京东一样,可以给房企差评或者好评,还能投诉。
这种脱胎自电商口碑模式的评价机制,到底是个啥样子。长安君今天就和大家一起去看看!

界面干净整洁,类目也很清楚。基本上一眼就能看明白。
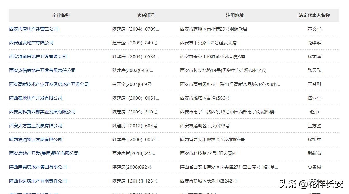
据了解,这个平台适用的对象为:2018年1月1日以来,在我市新城区、碑林区、莲湖区、雁塔区、未央区、灞桥区行政管理区域及高新区、经开区、曲江新区、浐灞生态区、航天基地、国际港务区规划区域取得“商品房预售许可证”的项目经营主体。
也就是说,基本上以后你在西安买房,每个项目都会在这个平台有登记。如果看房的时候遇到可疑没有预售许可证的项目,上这个平台上查查真伪。妈妈再也不用担心我遇到“房跑跑”了!

长安君随便试了一下,确实登记的企业挺全的。

以后看房遇到售楼大厅排队买房的时候,记得上去查查看,是不是企业自己搞的热销假象。长安君看到曝光台里就有一家因为这个原因被曝光的。

这个就是前面说过的差评评价机制。据长安君了解,购房评价时,购房人须凭商品房买卖合同备案登记号、身份证号、手机号等信息实名评价;咨询投诉时,反映人应当署明真实姓名及联系方式。
所以,基本上不会有水军来刷好评。而且按照一般人心理来看,肯定是投诉了才上这个网站,所以会反映比较客观的情况。这对今后买房人而言绝得是一个非常好的参考网站。通过这个参考来了解一个项目的好坏,会更加客观到位!

以前有些鱼目混珠的企业,即使没有三证,也敢明目张胆的买房子,甚至一房多卖,最后卷钱跑路。现在有了这个曝光台,一旦停止网签,就会有显示。这样那个企业再敢耍流氓,只要查查就知道了。
长安君觉得这样挺好的!
其他几项功能都与行政处罚有关,对大多数普通人而言都不在关注范围内,长安君就不一一说明了。
总之,这个网站信息对于即将在西安市区购房的人而言,是一个很好的参考,希望能更多人知道!
