这两天没更新,主要不怨iN,更多问题在于天气和师傅时间。
本来约了师傅过来焊接光纤的,怎奈好事多磨,一连拖了三天光纤才焊接好。
今天就来说说我是怎么把两万兆的带宽怼到弱电箱里的。

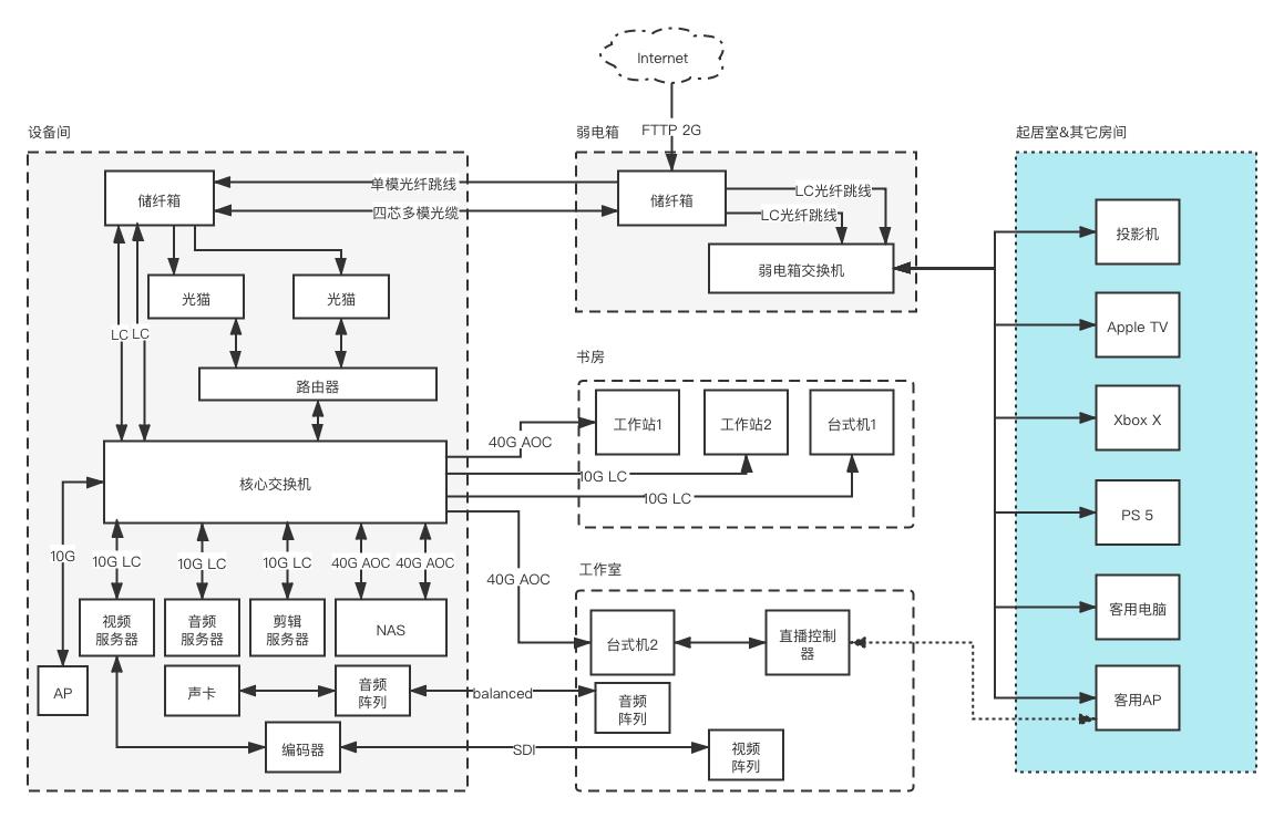
在说这个问题之前咱们先聊聊iN的工作室网络架构:这是一个大平层,iN在做设计的时候就利用Solidworks给这个房子建立了一个3D模型,反正iN是有的是时间,于是房间内预计要安装的所有物料和设施都被数字化了。大到各种设备,小到一个开关阀门在3D模型上都能找到相应的位置。

好处是通过3D化在做各种设备的安置和摆放的时候都能做到有据可查,并且设备设施的的干涉和空间调度也可以做到一目了然。

甚至灯具的摆放照明也可以依靠软件来计算出一个最好的位置和亮度。
当然了,要做到这一点还是需要付出很多的时间和精力的。但绝对比现在很多装修公司弄的效果图要强得多。
说说网络,iN的网络系统其实要比一般家里要复杂一点点。

主要是可以隔离出来一个设备间,这样大量的设备就可以统统地放到设备间的机柜内部。前期做的桥架、拖链其实都是为了设备件的机柜准备的。机柜内有大量的机架式服务器,每个性能基本上都够用。和很多人不一样的地方是iN是拒绝虚拟机的,家用网络环境和电力环境是比不了专业的IDC机房的,虽然这个工作室的案例也尽量的贴近专业机房的设计,但出于资金的考虑大多数的设备都是单点设备,并不能提供热备份功能。因此指望在一台机器上做所有的事情,弄虚拟机在iN看来就不是穷就是傻了。家用环境还是要把不同的功能分离到不同的服务器上。这样即便是某台服务器出现的故障,iN也可以在等待修理的时候干一点别的工作,总体上的各种预设进度影响就很低了。
这次做的是弱电箱里面的网络。很多的人认为房子预留了一个弱电箱,这个箱子内就已经有网络通到各个房间里。就没有必要再折腾弱电箱了,放一个电信、联通的光猫+无线路由器就完全可以满足家里上网的要求了。
但是要知道三点:
第一、是电信也好联通也罢,他们在装宽带的时候给大家配的无线路由器光猫就是招标来的货色。在通常的运营商招标光猫终端设备的时候往往都会设置一个最高限定价格,高出这个价格的光猫就直接出局了。所以几乎全部厂商都对运营商招标项目的光猫产品做得最多的事情就是——降低成本。

可想而知,最终用户拿到手里的光猫是什么样子,所以还是换掉的好。
第二、弱电箱的空间有限,性能更高的设备往往有更高的发热量,直接放在狭小的弱电箱里面这个设备工作得并不能很好,往往会因为过热而导致降低速度或者故障。虽然有各种方式降低弱电箱的温度,但对于高性能设备还是移出弱电箱的好。

当然了,预报一下吧,对于弱电箱发热的问题,iN还是有解决办法,下个文章来展开说。
第三、就是弱电箱只有一个开口,剩下的四周就是墙面了,如果将无线路由器放到弱电箱里面,无线路由器的信号会受到极大的影响,导致家里的手机、pad或者其它Wi-Fi设备都有接受不到信号的问题。

这种问题是弱电箱的硬伤。
弱电箱有各种不好,但也有自己的优势所在,就是弱电箱内的管道四通八达,可以在最低的成本范畴内将网络线路联通到家里的各个房间这是弱电箱的优势。
最好的方式就是将弱电箱的信号引出来再把设备信号送回去。这也就是iN说的把两万兆带宽怼进弱电箱了。
先上完成的照片:

现在还很乱而且还差一个重要步骤,但整体上就是这样了。
要用到的物料就只有三种
1.交换机一个
2.光缆若干
3.储存纤盒两个
这个过程除了自己买个交换机和储纤盒之外就不需要自己动手了,直接联系装宽带的师傅让他在装宽带的时候将所有的事情弄好。毕竟焊接几条光缆咱们也没有必要弄一个大几千的熔接设备。
iN的方案是这样的,在装修的时候让装修工人将一根16mm线管埋到弱电箱内,然后直接引入到吊顶里面,从吊顶内部转移到设备间。
于是在设备间的天花板里面就可以放置一个储纤盒。

这种小型储纤盒市面的价格真心不贵,十几块钱而已。一个放在弱电箱,另外一个放在预计的网络设备出口的位置,就可以转换入户宽带网络接口的位置了。
储纤盒子里面接入的是4芯的OM4多模光缆,这是一种经常在工程上用的光缆,内部的光纤和咱们常见的OM4光纤跳线是一样的,让宽带师傅帮你焊接到储纤盒里面也就是几分钟的事情。

这时你就可以通过光模块来连接设备间的交换机和弱电箱里面的交换机了。
已经到这一步了,室内的带宽其实就不会受到限制了,直接就可以上10G也就是一万兆的光模块了。一般家庭室内使用选择传输距离300米的模块就足以。
iN所选的光纤以太网交换机上门有两个光模块接口,这两个接口是可以聚合的。也就是可以同时使用两个光模块从一台交换机上传输数据。

接入后弱电箱就获得了两万兆的带宽。当然了这个带宽是iN的核心交换机到弱电箱的带宽。
这时候就有人要问了现在宽带提供商带的带宽最高也就是1000兆,你搞一个两万兆的带宽有什么用?
容俺说说:现在在家里的很多设备是需要互联互通的,例如我们的电视和投影机都可能从NAS或者手机投屏等功能来*放播**视频。这就是一个纯家庭内网带宽的需求了。和运营商所提供的家庭出口带宽是不一样的。
如果家里有多台电脑,电脑和电脑之间的文件传输也不会用到运营商的出口带宽,还是内网带宽。经过这样的交换机设置,就可以让我们家里的设备中的互通互联达到最高的速度。从而节约大量的等待时间(貌似目前时间还是最贵的东西)。
还有一个问题也很好玩,虽然为这个小交换机提供了2万兆的上行带宽,但交换机本身的电口其实都是千兆的,一共只需要耗费8000兆的上下行带宽,这真的需要两个万兆电口做支持吗?
说下iN的环境,iN其实就只有一个人在家折腾,如果玩游戏很难同时玩Xbox和PS5,更多的一个使用场景就是一台游戏机在*载下**游戏,iN在玩另外一台游戏机。或者更极端的是iN的两台游戏机在同时*载下**游戏,iN在投影机看NAS上的视频;再极端的情况就是游戏机在同时*载下**,视频也在*放播**,iN的朋友还在用客用电脑,这时候万兆的带宽其实是不够的。虽然一个交换机总体耗费的出口流量只有几千兆,但是数据打包hit命中等等操作如果通过两个端口转移到上游的核心交换机上来做则是销量更高的一种选择。这也就是2万兆的意义了。
那么运营商的出口带宽最高只有1000兆怎么解决呢?很简单——再拉一条,现在iN的宽带入户线是两条1G的。当然了,其中有一条1G带宽的线路目前计划只做直播使用,这个就是在路由器上的设置问题了。