说起耳机,德奥三强一定是大家最为熟知的,作为世界上最知名的三大耳机生产品牌,森海塞尔、拜雅、AKG在近百年的耳机历史中占据了无可撼动的地位。但其实在德国,还有一家音频品牌论历史、技术乃至业界知名度不低于它们,甚至在专业音频领域更是碾压其他品牌,他就是成立于1928年的Neumann。
Neumann在国内一直被称为纽曼,不过它可不是国人所熟知的那个生产MP3的纽曼,德国纽曼Neumann是广泛应用于音响行业的知名制片厂,广播,舞台上的高品质麦克风。纽曼Neumann也是一个拥有80年以上历史的世界资历深厚的品牌,是音响行业的先驱。

Neumann 拥有将近百年历史(1928 年创立),在 1991 年被同样来自德国的音频巨头【森海塞尔】集团收购。2005 年森海又收购了知名的 Klein + Hummel (简称 K + H) 监听音箱,并归入 Neumann 品牌之下进行管理。
很多国内知名的歌手都很钟爱Neumann的产品。
不过近日Neumann遇到难题了。虽然他们在国内很知名,也早早就注册了“NEUMANN”商标,但是他们竟然没有注册“纽曼”中文商标,而中文商标“纽曼”是属于一家来自湖南的公司,叫做“Newman 纽曼”。如今Neumann或将面临禁用“纽曼”标识的尴尬境地。

据了解,拥有中文“纽曼”商标的企业是湖南纽曼数码科技有限公司,他们在2004年08月23日就提交了第9类“纽曼”商标注册申请,并于2007年01月28日注册成功,核准使用在 移动硬盘; 闪盘; MP3*放播**器; 以电子、磁性或光学方式纪录并具有可读形式的电子书; 数码相机; 娱乐场电视游戏机; 电子电路(录有带液晶显示器的手持游戏机用程序); 液晶显示装置; 图形加速卡; 电子书包; 大电池; 质子交换膜叠层燃料电池; (基于或关于SIP的利用)计算机软件(已录制); 计算机存储器; 计算机; 已录制的计算机程序(程序); 磁性识别卡等产品上。

目前这件第4233505号“纽曼”商标通过商标续展,有效期延期至 2027年01月27日。
既然Neumann在国内知名度这么高,那么这家湖南企业就没有可能是抢注商标呢?
通过查询发现,这个说法完全不成立。
这家湖南企业创立于1996年,现有员工2000余人,是一家集研发、制造、销售、服务为一体的中国高新技术企业,纽曼经过十余年的发展,已经成为中国IT行业品牌之一,纽曼品牌:NewPad平板电脑、纽曼车Pad、纽曼点读笔、纽曼移动存储、MP3/MP4*放播**器、GPS,纽曼品牌U盘、录音笔等数码产品的市场占有率逐渐提升。
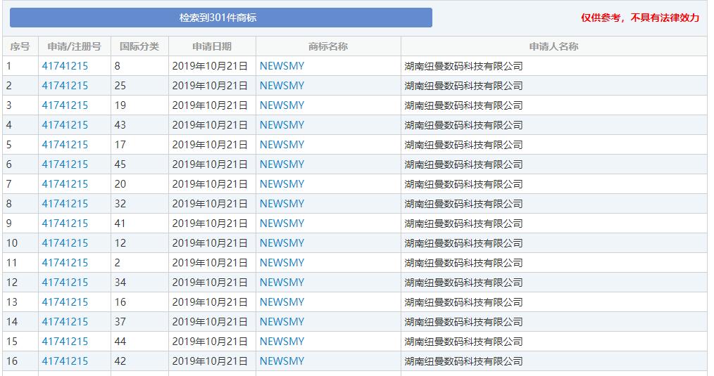
人家确实是在认认真真做品牌,通过商标查询,从2002年至今,湖南纽曼数码科技有限公司已经提交了301件商标注册申请,其中,光是与“纽曼”有关的商标申请就有24件。


这样看来,这只能怪 Neumann 不够重视中国,或者说森海集团动作太晚了,在 1991 年收购的 Neumann , 居然 30 年都没有注册中文商标。
商标对于企业的重要性不不多说,而企业由于不重视商标引发一系列连锁反应的案例也不在少数。我们经常说“项目未动,商标先行”,做企业和做品牌都是如此,可是总有人怀着侥幸的心理,想着先开拓市场,商标问题可以先拖一拖,殊不知商标问题是最拖不起的,我国商标注册实行“申请在先”原则,谁先提交申请谁就优先具有商标注册权,晚一天申请,搞不好这件商标就被他人注册了,那才真是追悔莫及。(来源:赛贝)
----
关注「权查查」,后台回复关键字“知产”,送一份知产独家资料电子版给你~
----