
2020年12月7日,郴州市永兴县便江街道龙山路昌兴花园西侧的[2020G026]地块挂牌交易,最终由永兴县永桂房地产开发有限责任公司以1206.96万元竞得。


附加条件:
该宗地竞得人需缴纳教育设施配套建设费276.26万元。


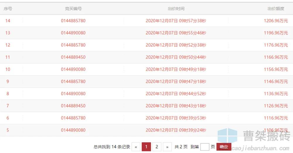
地块先后共有0144885780、0144889450、0144890080等共3组竞拍人参与竞拍,历经30分钟、14轮竞拍,最终由最早出价的0144885780号竞拍人(永兴县永桂房地产开发有限责任公司)以1206.96万元竞得。


地块位于龙山路东侧、西邻昌兴花园小区,东邻人民公园。地块整体呈长条形,边缘较为规整。



由南向北
地块范围内已完成*迁拆**,现状东侧为附近居民菜地,西侧为荒地,有少量树木。地块整体位于谷地,东、南、北三侧都靠山,且三面都属于人民公园,植被茂盛。地块西南侧有一较宽通道,可作为工程通道。

东侧近景

西侧近景

西南侧通道



本宗地块基本处于人民公园怀抱之中,环境优美、生态优良,且与城市道路有一定距离,较为安静,十分宜居。地块已完成*迁拆**,拿地后即可开发,地块内部地势整体较为平缓,开发难度低。虽然体量较小,规划建面仅1.8万㎡,但仍然吸引了3家房企参与竞拍,可见地块价值十分被看好。地块限高54米,或将开发17-18层的小高层。绿树环绕中的项目,能否成为又一个永兴红盘呢?
我是@曹桀搬砖 不说房事,只说房地产的事!