文 | 青 争
NO. 1| 壹
富阳教育,将再上一层楼!
2月11日,杭二中蔡小雄校长在接受都市快报采访中表示, 目前杭二中在富阳高教园区的新学校,正在招标、设计中,如果建设顺利的话,明年就会投入使用。

图源:都市快报微信公众号
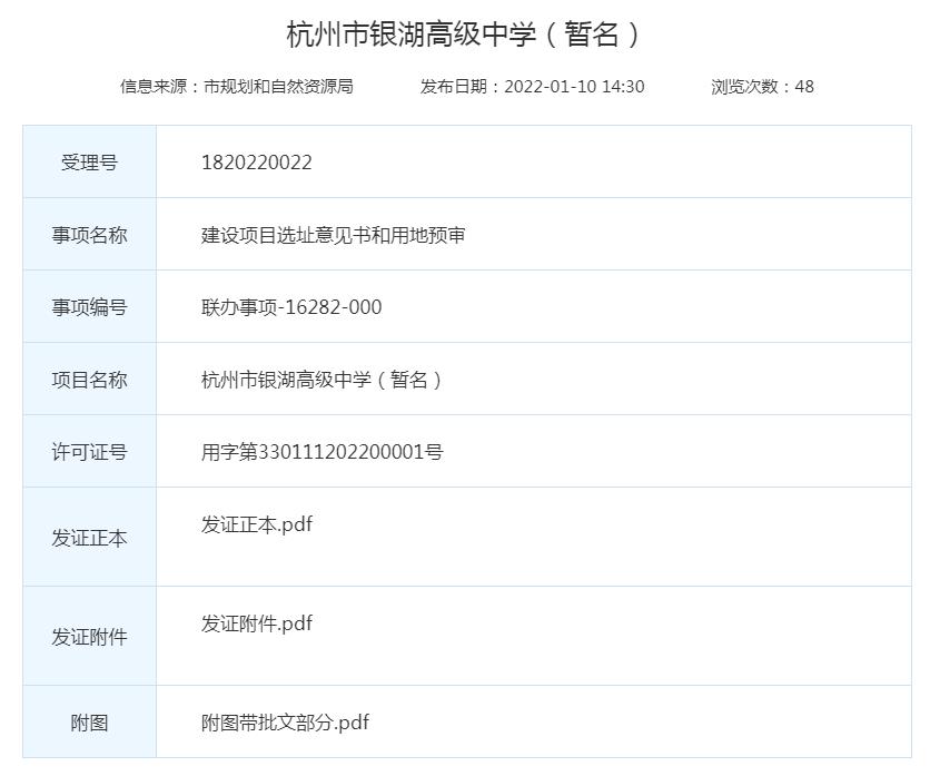
早在1月10日,杭州市规划和自然资源局就发布《杭州市银湖高级中学(暂名)的选址意见书》时,就引发了大家对于 银湖高级中学是否就是“杭二中富阳分校”的讨论。

图源:杭州市规划和自然资源局
1月21日,杭州市银湖高级中学(暂名)紧接着发布了设计的招投标信息。

图源:都市快报
设计、投标信息都对得上,那杭州银湖高级中学(暂名),就是杭二中富阳分校的事,岂不就是板上钉钉,只差官宣了?
NO. 2| 贰
那么,建在何处?
据杭州银湖高级中学(暂名)选址意见书及批示图显示,银湖高级中学(暂名)将建在 富阳高教园区内 , 北临学院路,南临石状坞水库 ,东西两侧为山体、茶园,总用地面积为9.0039公顷。
在建设内容与配套要求方面,新建 48班 寄宿制普通高级中学(这与蔡校长的采访时说的48班制的内容也刚好对上了)。

图源:杭州市规划和自然资源局
这时候,就有人疑惑了, 银湖高级中学(暂名),怎么不在银湖?
图纸中学校所在的三联村,明明就是富春街道啊?
别忘了,银湖高级中学,本就是暂用名,具体名称也没有最终确定。
以此为暂用名,或许是因为地理位置上,部分靠近高桥,若以富阳、富春命名会更为混淆?
定位在高教园区,或许是因为配套设施更为完善,学术氛围更加浓厚?
NO. 3| 叁
不过,杭二中的分校能够落址富阳,对于富阳来说,确实是大利好。
富阳教育一直还算不错,尤其是以富阳中学为代表的高中,早在1995年被确认为浙江省一级重点中学。
而杭二中是一所由 杭州市教育局主管 的公立全日制普通高级中学,1978年被定为浙江省重点中学,1980年被列为浙江省首批办好的18所重点中学之一, 也同在1995年被认定为浙江省一级重点中学 ,2014年被评为首批浙江省一级普通高*特中**色示范学校。
而杭二中的前身就是1899年创办的蕙兰中学,办学历史已超120年,也被 称为百年名校。

图源:百度百科
一直以来,杭二中代表着一流的教育水平,拥有顶尖师资、优质教育资源,在学生、家长心目中的教育地位,居高不下。
相信未来,杭二中的加入,也定能助力富阳教育,更上一层楼。
并且,蔡校长说了,建设顺利的话,明年就能投入使用。
明年,那是不是代表,现在的初二学子还有机会?
NO. 4| 肆
再来看看富阳三所重点高中,近几年录取分数线,仅供参考,关于录取人数,因部分数据缺失,在此不做统计:

制图:富阳楼市
而杭二中2021年的录取分数线如下:
滨江校区—585,东河校区—549。
不同校区的不同录取分数线,也让我们对未来富阳校区的招生有所期待。
不过,杭二中如果真的入驻,或许对于富阳中学或者富阳全区高中,也将是一次大挑战。
关于杭二中富阳分校
你有什么看法?
欢迎评论区留言讨论
- End -