欢迎 点赞/关注

从本期开始给大家科普信托公司,主要从股东背景,注册地点,注册资金以及违约记录来简单分析信托公司的简单的情况( 小编有68家信托公司评测,如有需求请私信,更多内容不便多讲,请多担待 )
信托作为中国金融行业的四大支柱(信托保险证券银行)之一,信托业一直备受关注,和银行一样由银保监会监管(国家直接监管)。 从1979年第一家信托公司(中国国际信托投资公司,现中信信托)至2013民生信托成立期间,最多近千家,历经历史上的数次波动与整顿,信托机构也从曾经上千家减至现在的 68 家,且银保监会明确表明不会颁发信托牌照,对比银行而言,信托牌照更加的价值连城。信托的本质就是 获人之信、受人之托、遵人之嘱、代人理财
我国的信托制度最早诞生于20世纪初,但真正发展开始于改革开放。依据《中华人民共和国信托法》的定义,信托是指委托人基于对受托人的信任,将其财产权委托给受托人,由受托人按委托人的意愿以自己的名义,为受益人的利益或者特定目的,进行管理或者处分的行为。其中,委托人是指信托投资者,受托人通常指发行信托的信托公司,受益人是指享有信托受益权的人。
光大信托

基本信息

光大兴陇信托有限责任公司是在原甘肃省信托有限责任公司(简称原甘肃信托)基础上重组后成立的。
- 原甘肃信托是 1980 年 2 月份经甘肃省政府批准成立、1981 年 6 月经中国人民银行和财政部批准续办的甘肃省第一家具有金融业务资格的省属金融机构。
- 2014 年 5 月,经中国银行业监督管理委员会批准,甘肃省国有资产投资集团有限公司将其持有的 51%股权转让至中国光大(集团)总公司。
- 2014 年 7 月 1 日,经中国银监会甘肃监管局核准,公司名称变更为“光大兴陇信托有限责任公司”。
- 2015 年 12 月 28 日,经中国银监会甘肃监管局批准,公司采取原股东等比例一次性增资方式,公司注册资本金从 101819.05 万元增加至 341819.05 万元,并于 2016 年 2 月 26 日在甘肃省工商行政管理局完成了工商变更登记的法律手续。
- 2018 年 9 月,经公司股东会审议通过、中国银监会甘肃监管局批准,白银市财政局将其持有的我司 1.02%股权无偿划转至甘肃金融控股集团有限公司。
- 2018 年 12 月 28 日,经中国银保监会甘肃监管局批准,公司将注册资本金增加至 641819.05 万元(相关工商变更手续正在办理当中)。

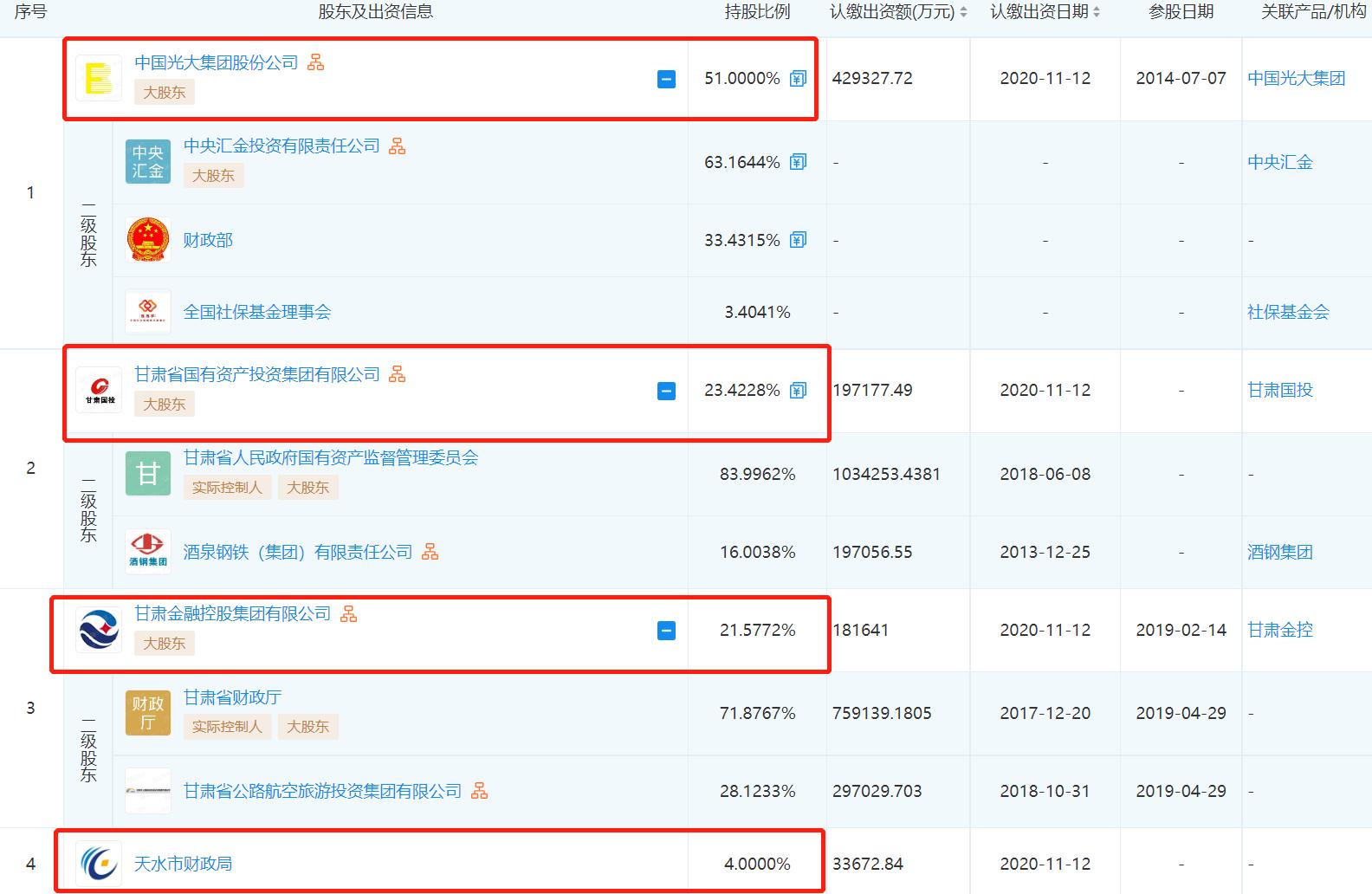
光大兴陇信托的股东包括 中国光大集团股份公司 (持股 51%)、 甘肃省国有资产投资集团有限公司 (持股 22.4%)、 天水市财政局 (持股 4%)和 甘肃金融控股集团有限公司 (持股 21.5%)。
- 其中中国光大集团股份有限公司注册资本780 亿元,由财政部和汇金公司发起设立。该公司现以经营银行、证券、保险、投资管理等金融业务为主的特大型国有企业集团。目前,该公司在境内拥有全资企业 6 家,控股企业 2 家,参股企业 7 家,合资企业 1 家,其中包括中国光大银行、光大证券股份有限公司、光大永明人寿保险公司和中国光大投资管理公司等金融机构和企业。在香港拥有光大控股、光大国际 2 家上市公司,全资公司 37 家,合资及联营公司 12 家。
- 甘肃省国有资产投资集团有限公司的实控人为甘肃省人民政府国有资产监督管理委员会。
- 甘肃金融控股集团有限公司的实控人为甘肃省财政厅,持股 21.57%,股东甘肃省公路航空旅游投资集团有限公司、甘肃省人民政府国有资产监督管理委员会分别持股 28.12%、71.87%。

对外投资

从公布的投资区域来看,共有276例
广东共有67例,占了24.2%
浙江共有32例,占了11.5%
上海共有23例,占了8.3%
山东共有18例,占了6.5%
天津共有17例,占了6.1%

从公布的对外投资行业来看
租赁和商务服务业占比最高,达到了44.04%
金融业占比达到了28.88%
房地产占比达到了10.11%
批发零售业达到了3.97%
制造业,建筑业,其他各占比2.89%

违约记录
作为信托界的“后起之秀”,光大信托从2014年底资产管理规模不足600亿,到如今已突破万亿,短短几年时间,增长近16倍。这个过程中,房地产一直是它发展的重要支撑点,但眼下却反遭拖累。
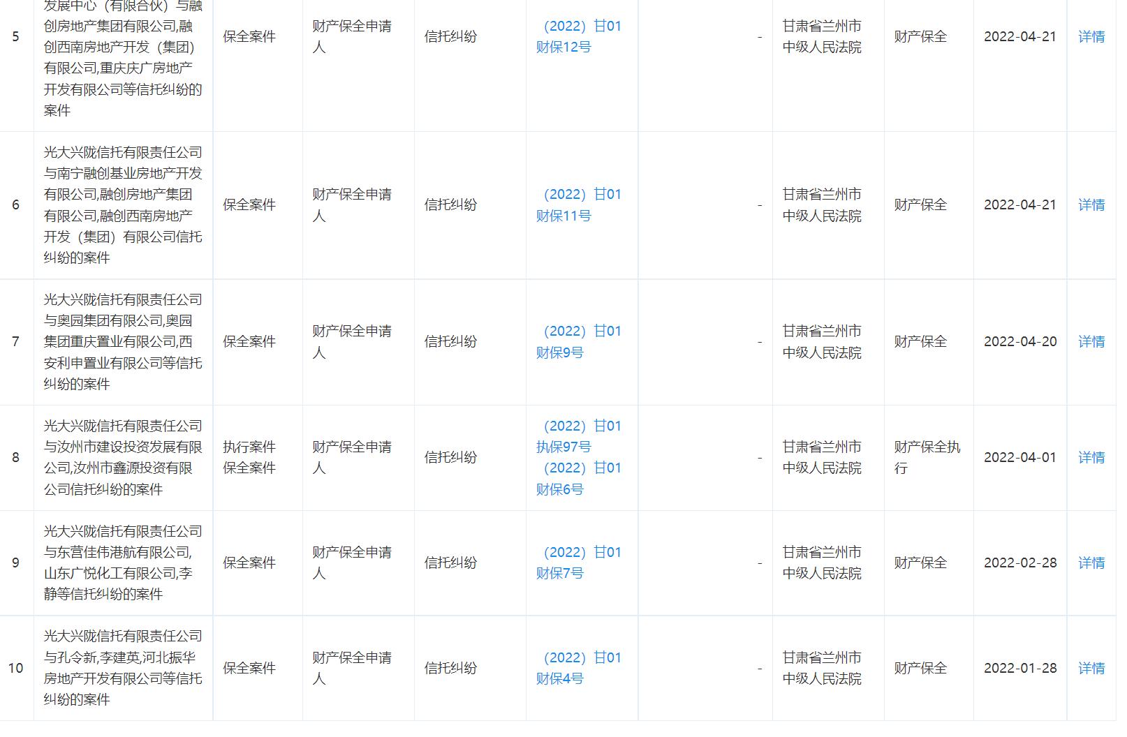
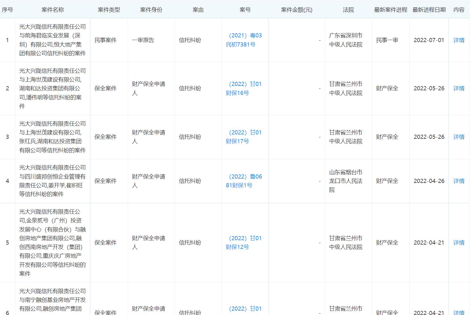
相关公开数据显示,光大信托在2021年投向房地产信托资产已达916.79亿元,占总信托比重的8.37%。光大信托对外投资公司中直接或间接持股,包含“地产”“置业”字眼的公司,超过了100个。正荣、卓越、鸿坤、恒大、融创、佳兆业、阳光城等等多家房企,都在其信托投资范围之内。但如今随着房地产行业萧条的原因,也出现了诸多暴雷。公开信息搜索光大信托违约出现诸多的案例再不多言


除了公开信息之外,企查查的诉讼记录也可以从侧面分析出信托公司的风控能力

涉案地区
从涉案地区来看,最多的项目是甘肃地区,这个和信托公司注册地点&股东有关。
其次为北京,广东,上海,浙江江苏等地。
随着这两年土地财政的日渐紧张,光大的违约记录也出现了一些地方城投的一些违约项目
有消息称,光大智兴5贵州遵义红花岗区,光大贵州兴义,也可能延期。大多数信托都在贵州踩雷了

总结
当甘肃信托重组委光大兴陇信托后,该信托公司似乎也迎来了重生。但是,在营收和净利暴增的背后,尤其是结合基础产业类产品、实业类产品占比均在 30%以上的情况下,该信托公司存在一些“冒进”的风险。比如:对地方、借款企业的风控不是那么严,要求不是那么高。而这些正是我们在投资该信托公司产品需要重点关注的。当然,消费金融类产品更是要慎之又慎。总的来说,光大信托作为央企控股信托公司背景是强大的, 实力也不错,但是与其他银行系央企控股信托公司相比,还是稍微弱一些。