"年份原浆"商标做为白酒行业长久以来争夺的香饽饽,其在江湖引发的商标战争从来没有中断。
"年份原浆"纠纷依然在上演
近日,从商评委公布的裁判文书中看到,关于第20334992号"舟上原桨"、第20238068号"唐世原浆"商标无效宣告请求裁定书,裁定争议商标第20334992号"舟上原桨"、第20238068号"唐世原浆"商标:予以无效宣告。
公告显示,该申请人为安徽古井贡酒股份有限公司(以下简称古井贡),被申请人为亳州市真情酒业有限责任公司。本案争议商标由被申请人于2016年6月16日提出注册申请,初步审定并公告后,经异议程序准予注册,核定使用在第33类"开胃酒;利口酒;烈酒(饮料);白兰地;酒精饮料(啤酒除外);米酒;白酒;清酒;黄酒;葡萄酒"商品上,现为有效注册商标。

引证商标为申请人第7079302号"年份原浆"商标、第7888693号"年份原浆"商标、第7079282号"古井贡原浆"商标、第13060869号"古井酒原浆"商标、第7079287号"古井年份原浆"商标。
古井贡"年份原浆"商标阻击战
一直关注酒业"年份原浆"商标的行业人士一定发现了,争议商标的裁定又遇到上了酒企关于"原浆"商标注册的顽石——古井贡注册的"年份原浆"商标。
说起"年份原浆",不得不回顾下古井贡关于"年份原浆"的阻击战及被反击战。

此前,古井贡以自己2008年及2009年申请注册的第7079302号及第7888693号"年份原浆"商标为引证商标,"拦下"了多家酒企有关"年份原浆"商标的成功注册申请,比如此前五粮液对第12957116号"五粮液年份原浆"的申请、江苏洋河酒厂股份有限公司第18347430号"洋河年份原浆"商标、陕西西凤酒股份有限公司申请的16445324号"西凤酒年份原浆"商标……

而古井贡此举也引起了五粮液、剑南春等其他酒企的反击:五粮液、剑南春、青海互助金泉青稞酒酿造有限公司、曲阜金孔酒业有限公司都曾对古井贡的"年份原浆"商标提出无效宣告申请,并且针对"年份原浆"商标无效宣告裁定起诉至法庭,北京知识产权法庭一审宣判驳回五粮液、剑南春的诉讼请求,北京高院二审判决维持原判。结果是,虽然两枚商标经历了近十年的争议与起伏,但古井贡截至目前还是保住了这两枚商标。



而此次争议商标"舟上原桨""唐世原浆"被无效宣告似乎是可以提前预料到的,毕竟此前无论是剑南春、五粮液等多家酒企的联合"反击",还是古井贡对其他酒企相关"年份原浆"商标的无效宣告申请,可以说古井贡为常胜一方。
"年份原浆"商标争议
系列商标纠纷围绕"年份原浆"展开,从此前商评委及法院的相关裁定和判决,可以看出,在对待"年份原浆"究竟能不能注册为商标,以及是否具有显著性上等,是持赞同意见。
如北高在四川绵竹剑南春酒厂有限公司诉国家知识产权局无效宣告(专利)二审行政判决书(案号:(2019)京行终758号)中,"现有证据表明"原浆"不是酿酒专业术语,也不是"原酒"的概念,更不是白酒等级,其仅是一个营销概念的创新。"年份原浆"并非国家标准"白酒工业术语"中确定的基本术语及定义。同时,古井贡公司提交的"年份原浆"商标所获荣誉……等可以证明,通过古井贡公司的较长时期的实际使用,"年份原浆"已具备了区分商品来源的识别作用,获得了商标的显著特征。"""年份原浆"本身无特殊含义,其作为商标使用在指定酒类商品上,一般不会导致公众对相关商品的质量等特点或者产地产生误认。"
而五粮液酒企则不这样认为,从其此前对"年份原浆"的无效宣告申请和上诉至北知的诉称可知,观点:"年份原浆"直接体现了商品的窖藏时间、质量等特点,属于对商品特点具有直接描述性的词汇,属于酒类商品的通用名称,或会导致相关公众对商品的质量等特点产生误认,且被申请人对争议商标的使用存在虚假宣传的事实。
而在五粮液上诉至北知的诉称也提到,存在众多仅有"年份"、"原浆"、"年份原浆"文字的商标均已被驳回成为无效商标,其中包括第三人古井贡酒公司申请注册的一系列"年份原浆"商标,这足以说明"年份"、"原浆"这两个常用词语不论是单独使用还是组合使用,在酒类商品上均不具有显著特征。
赢得了商标,却引来诸多麻烦
有关"年份原浆"商标能不能注册的争议,从法院的裁判文书中可见一斑。然而,判决似乎并没有完全说服大众,赢得了"年份原浆"商标的古井贡也引来颇多争议。
争议一:"原浆"仅是一个营销概念,不是真正的原浆酒。
曾有白酒协会专业人士表示,年份原浆,用在其他领域或许没有什么意义,但用作酒类商标,则直接体现了酒的功能、效果和工艺特点,是对消费者的一种误导。
而在此前诸如五粮液、剑南春等,也在对"年份原浆"的无效宣告申请中诉称,"年份"在酒类商品上仅表示"年份酒就是指窖藏的时间"。"原浆"在酒类商标里一般指"原浆酒指粮食通过曲发酵成酒,完全是不勾兑的原始酒液"。"年份原浆"易被理解为"储存长时间的原浆酒"。
截至目前,真正意义上的原浆酒并不多,一些白酒专家表示,市面上大多数的原浆酒,均是披着"原浆酒"外衣的名酒厂家的贴牌产品。
争议二:既然只是一个营销概念,那么《商标法》第十条第一款第(七)项 ——有关诚实信用原则,请关注一下。
《商标法》第十条第一款第(七)项明确规定:带有欺骗性,容易使公众对商品的质量等特点或者产地产生误认的,不得做为商标使用。
由此可见,网友的评论是在以古井贡的矛攻击古井贡的遁。
争议三:别争了,古井贡假酒太多。
果然群众的眼光是最雪亮的,赢得了"年份原浆"的古井贡,关于商标的纠纷日子也并不好过。

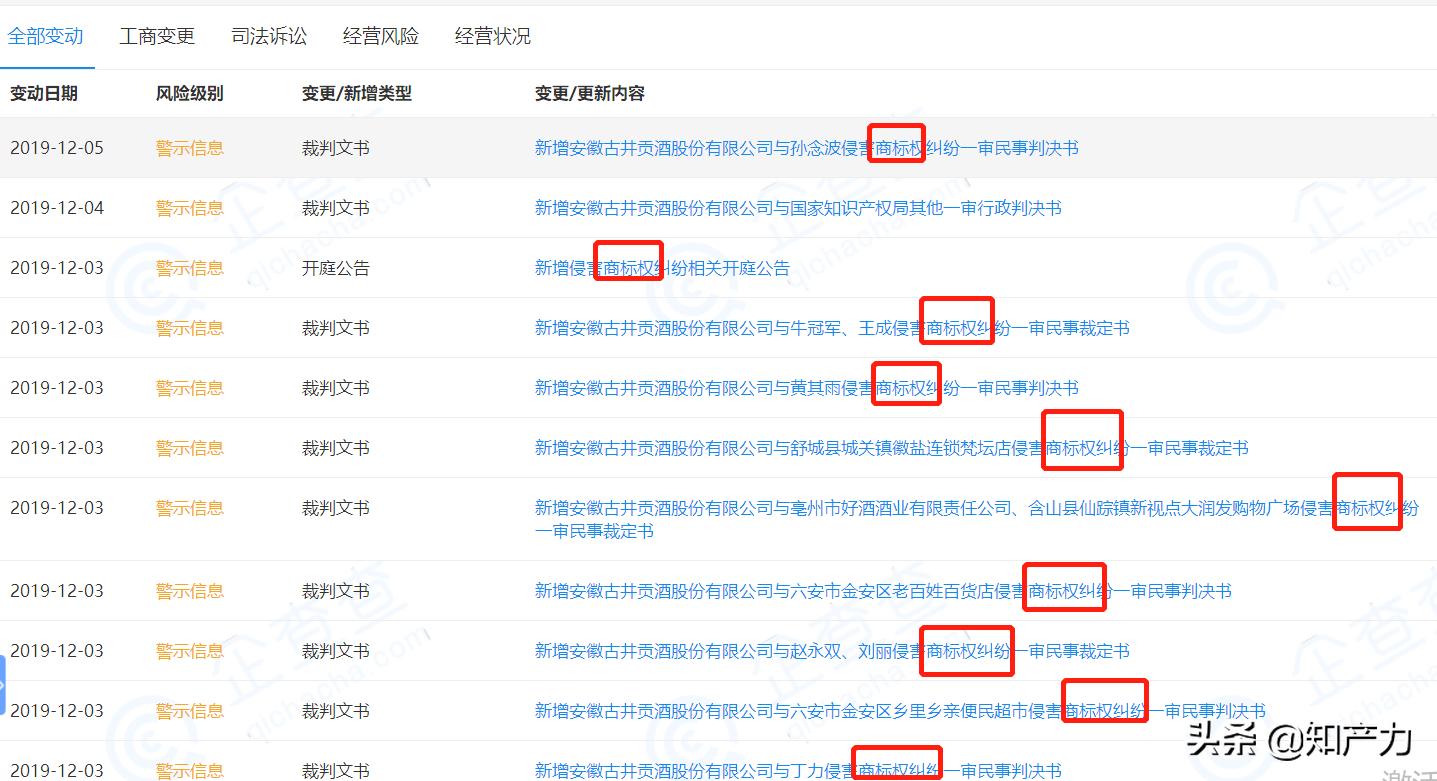
从企查查上搜到,以"侵害商标专用权纠纷"为案由,涉及裁判文书2009份,占据全部文书的80%以上。

涉案地区多位安徽本地,在白酒行业激烈的市场竞争下,假冒伪劣古井酒似乎确实是太多了。可见,除了应对其他酒企的竞争外,还要花费大量精力去打击相关假冒

企查查统计数据显示,至2018年底,古井贡的纠纷依然是在逐年增加的。

而在2019年,古井贡的商标纠纷也并没有减少,最近信息显示12月3日至5日的商标纠纷进展就多达十余起。

可见,虽然古井贡暂时赢得了"年份原浆"商标,自己依然处于水深火热的商标之战中,而其他酒企依然未放弃有关"原浆"商标的注册。未来,一切都没有定数。