通信知识第14篇;在上一篇中介绍了一文轻松了解网络通信之镜像,端口镜像是什么,程序员通信原理13
本节内容主要对接口环回原理认识,接下来的章节会对二层通信知识点进行系统讲解。
环回接口概念:
环回接口习惯上被称为Loopback接口,是路由器上的一个逻辑、虚拟接口。
环回接口特性:
除非设备瘫痪,否则其状态一直是up。

环回接口作用:
- 用来建立路由邻居;
- 用来作为Router-ID;
- 用于虚拟隧道连接;
- 用于网络连通性测试;
用来作为Router-ID:
因为环回接口的稳定性,我们常使用一个环回接口地址来作为Router-ID,使整个设备的标识稳定可靠。
用于虚拟隧道连接:
在建立IPSec或GRE之类的虚拟隧道时,使用loopback接口可以保证整个隧道的稳定性。
用于网络连通性测试:
创建并配置好环回接口之后,它的地址是能被ping或telnet的,这就可以被用来测试网络的连通性。
环回功能:基于端口、MAC、VLAN、IP环回;
环回的应用场景:

环回的应用场景
端口环路检测:
一种简单的检测环路的方式,私有协议 ;设备通过发送环路监测报文、并监测其是否返回本设备(不要求收、发端口为同一端口)以确认是否存在环路,若某端口收到了由本设备发出的环路监测报文,就认定该端口存在环路。
端口环路检测适用于简单的拓扑。

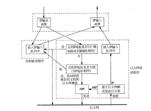
环回接口处理IP数据包流程图
#程序员#,#软件#,#协议#,#互联网#,#通信#
上一章:一文轻松了解网络通信之镜像,端口镜像是什么,程序员通信原理13
下一章:透传,中继的基本概念(通信知识15)感谢其他人一路给我带来的知识,很惭愧自己一直潜水,于是下定决心,分享自己总结的知识,虽然写得不好,万一有人会用到,有错误的和需要改进的地方欢迎指正,怕误导他人。总结一篇看似简短的文章也非常不容易,随手点个关注支持一下吧,你的点赞是我持续创作的动力!谢谢啦!(创作不易,搬运请注明出处,“野人谷”)