
3月27日,为贯彻落实《国务院办公厅关于推动药品集中带量采购工作常态化制度化开展的意见》(国办发〔2021〕2号)精神,进一步推进#中成药#联盟采购工作,全国中成药联合采购办公室在国家医保局的指导下,结合中成药联盟采购工作实践,研究起草并发布了 《全国中成药采购联盟集中采购文件(征求意见稿)》 。

截图来源:湖北省医药价格和招标采购管理服务网
本次全国中成药#集采#联盟地区共涉及16个品种,分别为 复方*蝥斑**、复方血栓通、冠心宁、华蟾素、接骨七厘、乐脉、脉管复康、脑安、藤黄健骨、香丹、心可舒、醒脑静、鸦胆子油、银杏达莫、银杏叶提取物、振源。采购周期为2年,视情况可延长1年。


截图来源:湖北省医药价格和招标采购管理服务网
据官方文件显示,本次全国中成药集采范围 覆盖30个省级单位 ,包括湖北、北京、天津、河北、山西、内蒙古、辽宁、吉林、黑龙江、上海、江苏、浙江、安徽、江西、山东、河南、广东、广西壮族自治区、海南、重庆、四川、贵州、云南、*藏西**自治区、陕西、甘肃、 青海、宁夏回族自治区、*疆新**维吾尔自治区、*疆新**生产建设兵团等地。
一、银杏叶提取物:二十亿明星品种,市场即将迎来大洗牌
银杏叶提取物是以银杏的叶为原料,采用适当的溶剂,提取有效成分,其中含有银杏黄酮苷、萜类内酯(银杏内酯、白果内酯),是现代科学技术开发出的植物药(属#中药#)最成功的案例之一。银杏叶提取物为抗高血压药,可用于脑部、周边血液循环障碍,还可以提供一系列的健康益处,包括保护和增强认知功能,缓解焦虑、改善青光眼等等。
据药融云数据库显示,银杏叶提取物常用剂型有注射液、片剂、滴剂,其中 银杏叶提取物注射液 获批企业有悦康药业、中豪国际, 银杏叶提取物滴剂 和 银杏叶提取物片 全由德国威玛舒培博士药厂(Dr. Willmar Schwabe GmbH & Co. KG)独家生产销售。
银杏叶提取物在使用批文情况

截图来源:药融云中国药品批文数据库
据药融云全国院内销售数据库统计,银杏叶提取物自2014年以来,销售额就呈现出逐年递增趋势,2016年突破十亿大关,2021年突破二十亿大关,同比增长30.66%,达到了25.96亿人民币。现2022年前三季度的销售额已赶超前一年同期,预计全年将达到28亿以上,其中 悦康药业 占据了超七成的市场份额,其次是 德国威玛舒培博士药厂 。

截图来源:药融云全国医院销售数据库
其中, 银杏叶提取物注射液 为主力销售剂型,八成销售额都由其贡献,此次被纳入全国中成药集采的也是该品种。据药融云药品集中采购数据库显示,此前悦康药业的银杏叶提取物注射液已先后被纳入了《2021年*疆新**等2+N联盟药品带量采购》与《广东联盟双氯芬酸等药品集中带量采购》两次地方集采。其中在2022年12月12日公布的 《广东联盟双氯芬酸等药品集中带量采购》结果中,该药品定价为181.425元/盒,在广东、山西、江西、河南、广西、海南、贵州、青海、宁夏、*疆新**(含兵团)等地供应,采购周期2年。
二、鸦胆子油:突破十亿大关,3家药业可申报
鸦胆子油是从草本药物鸦胆子的干燥成熟果实中,经石油醚提取后所得到的脂肪油,是一种乳状的液体,气味特别,味道苦。鸦胆子油是一种抗肿瘤的中成药,药物中的油酸是具有抗肿瘤的活性成分,能够阻断肿瘤细胞的增殖,延长生存期。临床上常用于肺癌,肺癌脑转移,消化道肿瘤及肝癌的辅助治疗剂。
据药融云统计,鸦胆子油近年来的销售额均在八亿人民币以上浮动,2021年终于突破十亿大关。2022年前三季度的销售额已与去年齐平,其中 九旭药业 占领了近六成的市场,其他占比较高的还有 沈阳药大雷允上药业 (16.33%)与 江苏万高药业 (13.48%)。

截图来源:药融云全国医院销售数据库
经药融云中国药品批文数据库查询显示, 鸦胆子油口服乳液获 批的企业目前还在使用有14家、 鸦胆子油软胶囊 有4家、 鸦胆子油乳注射液 仅有3家药业。后者为获批企业最少剂型,却占有鸦胆子油销售市场的近八成份额,此次被纳入全国中成药集采的也为该品种。
2022年12月12日,《广东联盟清开灵等中成药集中带量采购》结果公布, 广州#白云山#明兴制药 与 沈阳药大雷允上药业 的 鸦胆子油乳注射液 被纳入,中选价格每瓶在23-25元,采购周期2年,在广东、山西、河南、海南、宁夏、青海等省份供应。此次全国中成药集采,除沈阳药大雷允上药业、广州白云山明兴制药可接着申报外,九旭药业也可根据官方发布的企业申报条件的进行申报。
鸦胆子油乳注射液集采中选情况

截图来源:药融云药品集中采购数据库
三、冠心宁:市场规模持续扩张,首次被纳入集采
冠心宁是由丹参、川芎组成的复方制剂,具有活血化瘀,通脉养心之功效,能够防止冠状动脉内血栓的形成,对于降低血液黏稠度也会有一定的作用,主要用于治疗冠心病、心绞痛以及心肌缺血。有研究显示,冠心宁片治疗冠心病心绞痛起效迅速,2周疗效与注射剂相当;大剂量组疗效优于小剂量组。
据药融云全国院内销售数据库,冠心宁近两年来的院内市场十分可观,此前销售额曾常年卡在亿元左右,2021年出现转折,同比暴涨128.3%,达到了5.78亿元。2022年市场还在持续扩张,前三季度已有近7亿,全年或可向十亿发起冲刺。其中, 神威药业 占据半壁江山。

截图来源:药融云全国医院销售数据库
此次被纳入全国中成药集采的为 冠心宁注射液 ,共涉及7家药企,分别为朗致集团万荣药业、亚宝药业集团、山西振东泰盛制药、石药银湖制药、正大青春宝药业、神威药业集团、山西华卫药业,满足官方发布的企业申报条件的可进行申报。
此前冠心宁从未被纳入国家或地方的药品集中采购,此次为第一次。
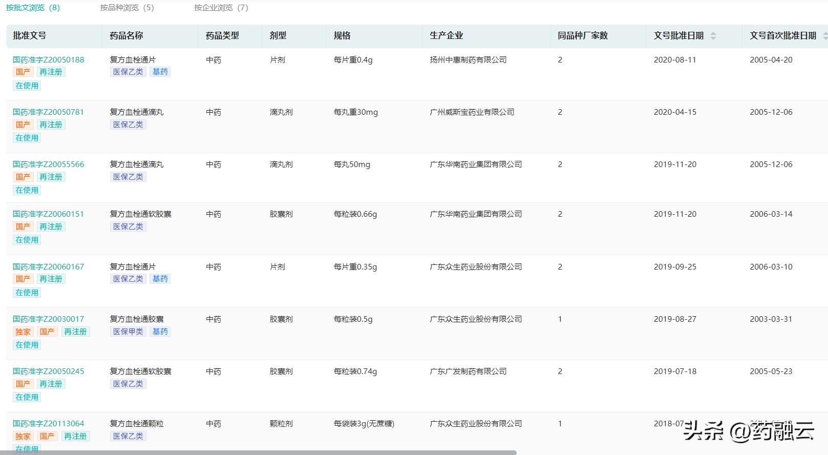
四、复方血栓通:众生药业独领风骚,入集采已是板上钉钉
复方血栓通由三七、黄芪、玄参、丹参四味中药组成,其中,三七、丹参共奏活血化瘀之效,黄芪益气,玄参兼清热凉血。复方血栓通可显著抗血栓,预防抗血栓形成;保护血管内皮细胞、抑制炎症反应、抗氧化作用、抑制平滑肌细胞增殖;可达到心脏保护、肾脏保护、大脑保护、眼底血管保护等。故,复方血栓通主要可以治疗眼底淤血、神疲乏力、口舌干燥,以及劳累性的心绞痛、冠心病,以及高血压的防治。
据《全国中成药采购联盟集中采购文件》显示,复方血栓通本次被纳入的剂型有 复方血栓通滴丸 (威斯宝药业、华南药业)、 复方血栓通胶囊 (#众生药业#)、 复方血栓通颗粒 (众生药业)、 复方血栓通片 (众生药业、扬州中惠制药)、 复方血栓通软胶囊 (广发制药、华南药业),覆盖复方血栓通全剂型,共涉及5家企业。其中,众生药业同时拥有3种剂型的药品批文,更是胶囊与颗粒剂型的独家生产商,可见,众生药业被纳入此次全国中成药集采已是板上钉钉。
复方血栓通在使用批文情况

截图来源:药融云中国药品批文数据库
据药融云统计,复方血栓通近年的院内市场已趋于稳定,每年销售额基本稳定在5亿以上,2021年达到5.93亿元,突破仅剩一步之遥。现2022年前三季度的销售额已稍高于去年同期,或许能冲破”魔咒”。其中复方血栓通胶囊占据了85%的市场,作为其独家生产商, 众生药业 可谓是赢很大。

截图来源:药融云全国医院销售数据库
2022年12月21日,《广东联盟清开灵等中成药集中带量采购》、《山东省第三批药品(中成药专项)集中带量采购》中选结果同日公布,复方血栓通胶囊、复方血栓通片、复方血栓通软胶囊均中标。其中,众生药业的复方血栓通胶囊(500mg/盒)平均降价54%,最高降价90%,价格统一定为0.6097/单位制剂。
五、中成药集采持续开展,千亿市场风起云涌
为了深入推进药品集中带量采购改革,进一步促进中成药集采工作,湖北省可谓是“尽职尽责”。据悉,湖北省此前已经牵头了2次大规模的中成药联盟集采,分别在2021年11月与2022年9月启动,涉及品种和企业广泛而众多,覆盖骨科、眼科、肿瘤、心脑血管等治疗领域,采购规模累计几百亿,持续搅动千亿中成药市场。
<END>