近日,微商电商调研发现市面上有一款名为“阿敏生物牌硫酸软骨素胶原蛋*粉白**”的产品,宣传可以补软骨、增加骨密度,还能预防和改善许多疾病。
据了解,阿敏生物(amincol)是上海阿敏生物技术有限公司旗下子品牌,该品牌的产品在“ amincol”微信小程序中进行销售,成为阿敏生物的代理就可以拥有自己专属的小程序商品链接,推广代理和销售产品都可以获得收益。
在代理的宣传中,阿敏生物的硫酸软骨素胶原蛋*粉白**可以预防骨质疏松、修复关节细胞,有效改善骨质疏松、骨关节炎、骨质增生、关节软骨退化、风湿等多种骨关节病变。但微商电商调研调查了解发现,阿敏生物的代理有夸大、虚假宣传产品功效的迹象,且阿敏生物的代理模式也存在“拉人头”、“入门费”等情况。

“劣迹斑斑”,公司和董事多次被法院强制执行





图片来源:企查查
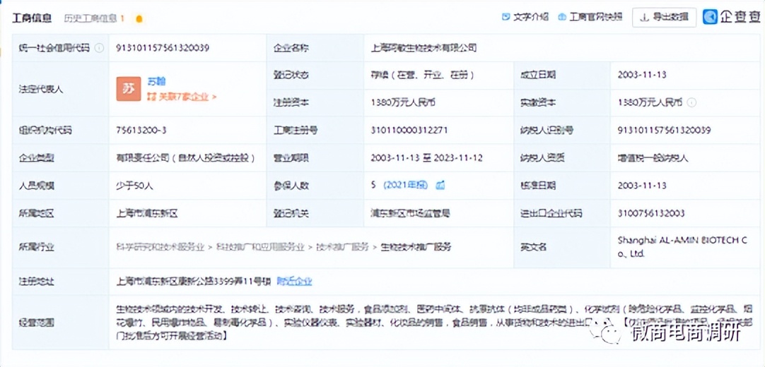
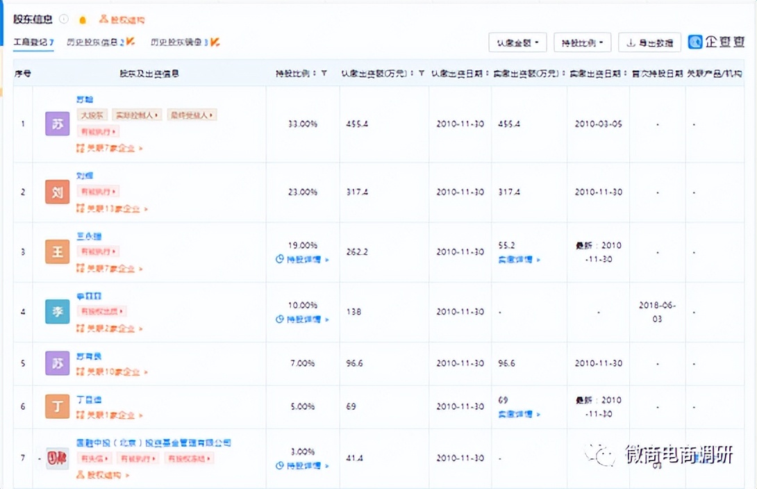
企查查APP显示上海阿敏生物技术有限公司成立于2003年11月13日,注册地位于上海市浦东新区康新公路3399弄11号楼,注册资本为1380万元,法定代表人为苏翰。公司的人员规模少于50人,2021年的参保人数仅有5人。该公司共有7位股东,苏翰持有33.00%的股份,刘辉持有23.00% 的股份,王永强持有 19.00%的股份,李菲菲持有10.00%的股份,苏有录持有7.00% 的股份,丁目迪持有5.00% 的股份,国融中投(北京)投资基金管理有限公司持有3.00%的股份,苏翰是该公司的实际控制人和最终受益人,也是公司的执行董事。


图片来源:企查查
经调查发现,上海阿敏生物技术有限公司曾被多次起诉并被法院强制执行。该公司曾因买卖合同纠纷案由被起诉 2次,因合同纠纷案由被起诉 1次,因金融借款合同纠纷案由被起诉 1次,因未按时履行法律义务被法院强制执行 2 次,并且公司的股东苏翰、刘辉、王永强均有被执行记录,这是怎么回事呢?

图片来源:裁判文书网
2021年8月2日,浙商银行股份有限公司兰州分行将甘肃阿敏生物清真明胶有限公司、上海阿敏生物技术有限公司、王永强、苏有录、刘辉、苏翰告上了法庭。2019年5月17日,甘肃阿敏生物公司向浙商银行股份有限公司兰州分行借款壹仟伍佰伍拾万元整,借款期限自2019年5月17日起至2020年5月16日止,借款利率为固定利率,即年利率8.5%。浙商银行股份有限公司兰州分行与甘肃阿敏生物清真明胶有限公司签订《最高额抵押合同》,约定甘肃阿敏生物公司以其所有的机器设备,为其债务提供最高额人民币壹仟柒佰零伍万元整的抵押担保。上海阿敏生物技术有限公司、苏翰分别与浙商银行股份有限公司兰州分行签订《最高额保证合同》,约定为甘肃阿敏生物公司的债务分别提供最高额人民币壹仟柒佰零伍万元整的连带责任保证担保。
2020年5月18日,因甘肃阿敏生物公司无力偿还到期借款,浙商银行股份有限公司兰州分行与甘肃阿敏生物公司、保证人上海阿敏生物技术有限公司、苏翰,抵押人甘肃阿敏生物公司签订《展期协议》。协议约定将上述借款分别展期至2021年1月27日、2020年11月18日,展期期间借款利率仍按照年利率8.5%执行。借款展期到期后,甘肃阿敏生物公司仍无力偿还借款。2020年1月10日,浙商银行股份有限公司兰州分行与甘肃阿敏生物公司签订《最高额抵押合同》,约定甘肃阿敏生物公司以其所有的机器设备,为其自2020年1月10日起至2023年1月9日期间形成的债务,提供最高额人民币伍拾玖万陆仟玖佰伍拾元整的抵押担保。刘辉、苏有录和王永强先后与浙商银行股份有限公司兰州分行签订《最高额保证合同》约定甘肃阿敏生物公司的债务,提供最高额人民币壹仟柒佰零伍万元整的连带责任保证担保。现甘肃阿敏生物公司违反合同约定,拒不偿还借款本息,故浙商银行股份有限公司兰州分行向法院提起了诉讼。
最终,法院判决甘肃阿敏生物清真明胶有限公司于十日内偿还浙商银行股份有限公司兰州分行借款本金13740250.95元,利息920511.55元,并自2021年7月21日起支付利息、复利至借款本息全部清偿完毕之日止;甘肃阿敏生物清真明胶有限公司若未按期履行债务,浙商银行股份有限公司兰州分行有权以甘肃阿敏生物清真明胶有限公司提供抵押的生产设备等折价或者以拍卖、变卖该财产的价款优先受偿;上海阿敏生物技术有限公司、王永强、苏有录、刘辉、苏翰对确认的债务承担连带清偿责任;案件受理费118067.38元,由甘肃阿敏生物清真明胶有限公司、上海阿敏生物技术有限公司、王永强、苏有录、刘辉、苏翰共同负担。

图片来源:裁判文书网
而该公司的借贷案件并不止这一个,中信银行兰州分行向甘肃阿敏公司发放借款叁仟万元,*款贷**期限自2017年1月19日至2018年1月18日;2018年、2019年经甘肃阿敏公司申请,中信银行兰州分行中信银行兰州分行与甘肃阿敏公司签订了*款贷**展期合同,对该笔*款贷**进行了展期。2020年1月10日,双方再次签订了(2020)信银兰贷展字第001号*款贷**展期合同,约定将*款贷**余额贰仟陆佰柒拾万元展期323天,即到期日延长至2020年12月24日;按季付息2020年12月24日一次性偿还本金2670万元整,保证人上海阿敏公司、刘辉及其配偶马亚梅、王永强及其配偶马芳芳、苏翰及其配偶蔚艳分别与中信银行兰州分行签订了2020信银兰最保字第4号、5号、6号、7号最高额保证合同,约定对甘肃阿敏公司的*款贷**提供连带责任担保。抵押人李宏铭、余书康与中信银行兰州分行于2019年签订最高额抵押合同,约定以其名下房产为甘肃阿敏公司*款贷**提供抵押担保,并办理了抵押登记。
甘肃阿敏公司与中信银行兰州分行签订2020信银兰最动质字第1号最高额动产质押合同,将其1000吨骨粒及1100吨明胶质押给中信银行兰州分行。但展期期限届满后,甘肃阿敏公司并没有按照约定偿还本金及利息,担保人也未承担责任,中信银行兰州分行多次催要未果,为维护其合法权益诉至法院。法院判决法甘肃阿敏生物清真明胶有限公司于判决生效之日起十日内向中信银行股份有限公司兰州分行偿还借款本金26459338.6元,
截至2021年4月18日的利息983390.39元,并自2021年4月19日起以未偿还借款本金为基数按年利率11.205%支付利息至借款清偿完毕之日止;甘肃阿敏生物清真明胶有限公司自判决生效之日起十日内向中信银行股份有限公司兰州分行支付律师代理费10000元;若甘肃阿敏生物清真明胶有限公司不能按期履行确定的债务,中信银行股份有限公司兰州分行有权对甘肃阿敏生物清真明胶有限公司名下位于兰州市红古区薛家村面积6106.6平方米的工业用地和所有的质押财产1000吨明胶、1100吨骨粒折价或者拍卖、变卖所得价款享有优先受偿权(以本金273.58万元及相应利息为限);上海阿敏生物技术有限公司、刘辉、王永强、苏翰对判决书确认的债务承担连带清偿责任;案件受理费178877.02元,保全费5000元,合计183877.02元,由甘肃阿敏生物清真明胶有限公司、上海阿敏生物技术有限公司、刘辉、王永强、苏翰、李宏铭、余书康共同负担,并于判决生效之日起十日内支付给中信银行股份有限公司兰州分行。



最终,上海阿敏生物技术有限公司、甘肃阿敏生物清真明胶有限公司和苏翰、刘辉、王永强等人拒不履行判决文书确定的法律义务,均被法院强制执行。
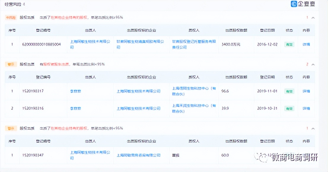
甘肃阿敏生物清真明胶有限公司是上海阿敏生物技术有限公司旗下的全资子公司,也是阿敏生物多种产品的生产企业,却屡次向银行借贷,在展期期限届满后拒不偿还本金和利息,其担保人苏翰、刘辉、王永强等上海阿敏生物技术有限公司股东也未承担责任,甚至在法院判决后因未履行文书确定的法律义务被强制执行。此外,上海阿敏生物技术有限公司曾在2016年12月2日出质了在甘肃阿敏生物清真明胶有限公司的股权,出质数额达3400万元;2019年12月6日又出质了在上海阿敏商务咨询有限公司的股权,公司股东李菲菲也曾两次出质在上海阿敏生物技术有限公司的股权,上海阿敏生物技术有限公司本身还有8次公司股东股权被冻结记录。
宣传功效,涉嫌虚假宣传
通过微商代理分享的二维码可进入amincol小程序,在amincol商城中,有AMINCOL罗伊氏乳杆菌、AMINCOL胶原蛋白液态饮、硫酸软骨素胶原蛋*粉白**、AMINCOL维生素C含片、AMINCOL鱼油、AMINCOL蓝莓叶黄素酯凝胶糖等多种商品。


图片来源:阿敏生物代理
阿敏生物牌硫酸软骨素胶原蛋*粉白**是代理们的主推产品,资料宣传该产品是第三代骨骼保健食品,具有补充胶原蛋白、坚固骨骼、黏附钙质、防止钙质流、调补关节滑液、保护软骨和关节锁补双效、增加骨密度、提高骨骼健康水平增加骨量,防止骨质疏松等多种效果。微商代理更是每天在朋友圈大肆宣传,称该产品可有效补充关节润滑液、平衡关节免疫力、修复受损关节细胞、减少关节摩擦、恢复软骨功能,每天喝两袋就能有效提高免疫力,抵抗病毒,还可以调膝盖疼、肿胀积液、半月板损伤、软骨磨损、骨密度低下、骨量减少、骨质疏松等膝关节问题,预防骨质疏松、骨折,有效改善骨质疏松、骨关节炎、骨质增生、关节软骨退化、风湿等多种骨关节病变。那么该产品真的有这么多功效吗?

图片来源:市场监督管理局
通过查询阿敏生物牌硫酸软骨素胶原蛋*粉白**的备案信息可知,该产品属于保健食品,批准文号为国食健字G20150734,产品基本信息标明仅具有增加骨密度这一项保健功能,并不具备代理所宣传的抗病毒、改善和调理各种膝关节疾病的功效,还写明了不能代替药物,适宜人群外的人群不推荐食用。
《广告法》第十八条明确规定:保健食品广告不得含有表示功效、安全性的断言或者保证;不得涉及疾病预防、治疗功能;不得声称或者暗示广告商品为保障健康所必需等。而阿敏生物代理的代理将保健品宣传具有抗病毒、预防骨质疏松、骨折、调理改善骨关节炎、骨质增生等多种功效,欺骗消费者,已经涉嫌虚假广告。对此,《广告法》第五十五条规定:“违反本法规定,发布虚假广告的,由工商行政管理部门责令停止发布广告,责令广告主在相应范围内消除影响,处广告费用三倍以上五倍以下的罚款,广告费用无法计算或者明显偏低的,处二十万元以上一百万元以下的罚款;两年内有三次以上违法行为或者有其他严重情节的,处广告费用五倍以上十倍以下的罚款,广告费用无法计算或者明显偏低的,处一百万元以上二百万元以下的罚款,可以吊销营业执照,并由广告审查机关撤销广告审查批准文件、一年内不受理其广告审查申请”。
阿敏生物“入门费”、“拉人头”模式涉嫌违法违规
阿敏生物又是采用怎样的代理模式呢?微商电商调研特地添加了几名阿敏生物的微商代理进行采访调查。
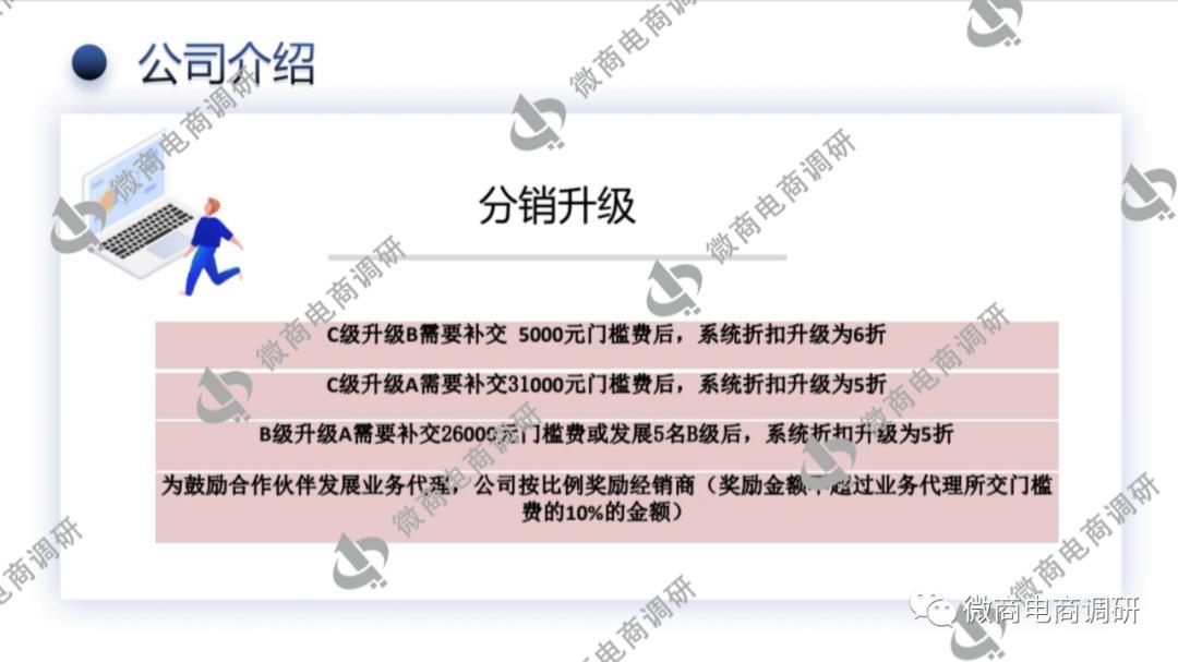
据代理透露,阿敏生物的代理分为*级A**、B级、C级三个等级,代理享受专属折扣,可升级,推荐代理商还有推荐奖励。


图片来源:阿敏生物代理
交纳1000元押金可成为C级代理,C级代理享受商城8折优惠,分享给顾客下单可获得订单金额20%的佣金;交纳6000元押金可成为B级代理,C级代理补交5000元押金也可升级为B级代理,B级代理享受商城6折优惠,分享给顾客下单可获得订单金额40%的佣金;交纳32000元押金可成为*级A**代理,C级代理升级*级A**需要补交31000元押金,B级代理升级*级A**需要补交26000元押金或推荐5名B级代理,*级A**代理享受商城5折优惠,分享给顾客下单可获得订单金额50%的佣金。


图片来源:阿敏生物代理
所有代理推荐新的代理都可以获得推荐奖励。假如一个*级A**代理推荐了一个B级代理,则B级代理所销售的每一单*级A**代理都可以获得订单金额10%的线下现金奖励;若B级代理又推荐一个C级代理,则C级代理每销售一单,B级代理都可以获得订单金额10%的线上邀请费奖励和订单金额3%的线下现金奖励,*级A**代理可以获得C级代理月销售总额10%+3%的线下现金奖励;若*级A**代理直接推荐一个C级代理,C级销售的每一单,*级A**代理线上都可以获得订单金额10%的邀请费奖励,线下还可以获得10%+8%的现金奖励。如果*级A**代理旗下的代理升级为同级,*级A**代理可获得旗下同级代理月销售总额2.5%的定向扶持奖励,每月结算。
*级A**代理,年销售额达5万且邀请两名*级A**代理或五名B级代理可立返14000元押金,满足这两个条件且加入代理满两年后可退还剩余押金,并成为amincol公司合伙人,享受更多权益。若想要退出团队,需加入代理后满一年才可以申请,申请后15-30天返还押金。
以上就是阿敏生物的具体代理模式。不难看出,想要做代理,就需要交纳押金,代理等级越高,押金也越多。高级代理的进货价格和佣金都远高于低级代理,而想要赚更多收益,就要交纳更多的押金,再不断推广新代理,扩大团队,获取推荐奖励和下级的差价收益。《禁止传销条例》第二条规定:“本条例所称传销,是指组织者或者经营者发展人员,通过对被发展人员以其直接或者间接发展的人员数量或者销售业绩为依据计算和给付报酬,或者要求被发展人员以交纳一定费用为条件取得加入资格等方式牟取非法利益,扰乱经济秩序,影响社会稳定的行为。”
该条例第七条将上述定义分解为如下三种类型:
第一,拉人头,即组织者或者经营者通过发展人员,要求被发展人员发展其他人员加入,对发展的人员以其直接或者间接滚动发展的人员数量为依据计算和给付报酬,牟取非法利益的;
第二,入门费,即组织者或者经营者通过发展人员,要求被发展人员交纳费用或者以认购商品等方式变相交纳费用,取得加入或者发展其他人员加入的资格,牟取非法利益的;
第三,团队计酬,即组织者或者经营者通过发展人员,要求被发展人员发展其他人员加入,形成上下线关系,并以下线的销售业绩为依据计算和给付上线报酬,牟取非法利益的。
阿敏生物要求加入者交纳不同金额的押金获取不同级别的代理资格,实为变相收取入门费;设置推荐奖励引诱代理们通过推荐新代理发展人员来获取邀请费和极差利益,涉嫌拉人头;阿敏这种“入门费”、“拉人头”、多层分润模式或涉嫌违法违规。
后 记
阿敏生物的代理们为了销售产品获取利益,将保健品宣传具有抗病毒、改善和调理关节炎、骨质疏松、骨质增生等各种疾病的功效,欺骗消费者,其“入门费”、“拉人头”、多层分润的代理模式也明显与现行的法律法规相违背。事实上,有类似情况的并不止阿敏生物这一家,虽然有部分商家和经销商被举报后遭受了处罚,但这种类似的“虚假宣传”、“多层级分销”的情况仍然比比皆是。微商电商调研也在此提醒大家,不要相信商家的虚假宣传,投资更需要谨慎,如果遇到,可以通过投诉举报维权。
来源:微商电商调研