1. 主轴部件应满足那些基本要求?
主轴部件应满足的基本要求有旋转精度、刚度、抗振性、温升热变形和精度保持性等。主轴的旋转精度是指装配后,在无载荷、低速转动条件下,在安装工件或刀具的主轴部位的径向和轴向跳动。旋转精度取决于主轴、轴承、箱体孔等的制造、装配和调整精度。主轴部件的刚度是指其在外加载荷作用下抵抗变形的能力,通常以主轴前端产生单位位移的弹性变形时,在位移方向上所施加的作用力来定义,主轴部件的刚度是综合刚度,它是主轴、轴承等刚度的综合反映。主轴部件的抗振性是指抵抗受迫振动和自激振动的能力。主轴部件的振动会直接影响工件的表面加工质量,刀具的使用寿命,产生噪声。主轴部件的精度保持性是指长期地保持其原始制造精度的能力,必须提高其耐磨性。
2.主轴轴向定位方式有那几种?各有什么特点?适用场合
(1)前端配置
两个方向的推力轴承都分布在前支撑处;特点:在前支撑处轴承较多,发热大,升温高;但主轴承受热后向后伸,不影响轴向精度;适用场合:用于轴向精度和刚度要求较高的高精度机床或数控机床。
(2)后端配置
两个方向的推力轴承都布置在后支撑处;特点:发热小、温度低,主轴受热后向前伸长,影响轴向精度;适用范围:用于普通精度机床、立铣、多刀车床。
(3)两端配置
两个方向的推力轴承分别布置在前后两个支撑处;特点:这类配置方案当主轴受热伸长后,影响轴承的轴向间隙,为避免松动,可用弹簧消除间隙和补偿热膨胀;适用范围:用于短主轴,如组合机床。
(4)中间配置
两个方向的推力轴承配置在前支撑后侧;特点:此方案可减少主轴的悬伸量,使主轴热膨胀后向后伸长,但前支撑结构复杂,温升可能较高。
3.试述主轴静压轴承的工作原理
主轴静压轴承一般都是使用液体静压轴承,液体静压轴承系统由一套专用供油系统、节流器和轴承三部分组成。静压轴承由供油系统供给一定压力油,输进轴和轴承间隙中,利用油的静压压力支撑载荷、轴颈始终浮在压力油中。所以,轴承油膜压强与主轴转速无关,承载能力不随转速而变化。静压轴承与动压轴承相比有如下优点:承载能力高;旋转精度高;油膜有均化误差的作用,可提高加工精度;抗振性好;运转平稳;既能在极低转速下工作,也能在极高转速下工作;摩擦小,轴承寿命长。
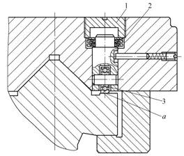
定压式静压轴承的工作原理如下图所示,在轴承的内圆柱孔上,开有四个对称的油腔1~4。油腔之间由轴向回油槽隔开,油腔四周有封油面,封油面的轴向宽度为a,轴向宽度为b。液压泵输出的油压为定值P的油液,分别流经节流器T1、T2、T3和T4进入各个油腔。节流器的作用是使各个油腔的压力随外载荷的变化自动调节,从而平衡外载荷。当无外载荷作用(不考虑自重)时,各油腔的油压相等,即p1=p2=p3=p4,保持平衡,轴在正中央,各油腔封面与轴颈的间隙相等,即h=h1=h2=h3=h4,间隙液阻也相等。

当有外载荷F向下作用时,轴颈失去平衡,沿载荷方向偏移一个微小位移e,油腔3间隙减小,即h3=h-e,间隙液阻增大,流量减小,分流器T3的压力降减小,因供油压力P是定值,故油腔压力P3随之增大。同理,上油腔1间隙增大,即h1=h+e,间隙液阻减小,流量增大。节流器T1的压力降增大,油腔压力P1随之减小。两者的压力差Δp=p3-p1,压力差将主轴推回中心以平衡外载荷F。
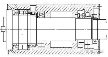
4.试分析图中所示三种主轴轴承的配置型式的特点和适用场合。
(1)46000为圆锥滚子轴承,圆锥滚子轴承承受轴向负荷的能力取决于接触角,即外圈滚道角度,角度越大,轴向负荷能力也越大;3182100是双列向心圆柱滚子轴承,这种轴承承载能力大,摩擦系数小,温升低,但不能承受轴向力。这种配置方式主要在后面的轴承承受轴向力,因此相当于后端配置,这种配置的特点是发热小、温度低,主轴受热后向前伸长,影响轴向精度;适用范围是用于普通精度机床、立铣、多刀车床。
(2)这种配置方式主要在前段的轴承承受轴向力,因此这种轴承配置相当于前端配置;这种配置的特点是在前支撑处轴承较多,发热大,升温高;但主轴承受热后向后伸,不影响轴向精度;适用场合是用于轴向精度和刚度要求较高的高精度机床或数控机床。
(3)2268000是双向推力向心球轴承,因此这种配置相当于中间配置,这种配置的特点是两个方向的推力轴承配置在前支撑后侧,此方案可减少主轴的悬伸量,使主轴热膨胀后向后伸长,但前支撑结构复杂,温升可能较高。
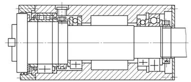
5.按图中的主轴部件,分析轴向力如何传递?间隙如何调整?
答:轴向力传递如下图所示
调整主轴上的后螺母可消除后止推轴承的轴向间隙和角接触球轴承的径向和轴向间隙;调整主轴上的前螺母可消除前部双列向心圆柱滚子轴承的径向间隙,继续调整主轴上的后螺母,将主轴向后拉可消除前部止推轴承的轴向间隙。
6.试检查图所示主轴部件中有否错误;如有,请指出错在那里?应怎样改正?用另画的正确简图表 示出来。
答: 有多处错误,主轴前端的双列向心圆柱滚子轴承间隙不能调整;大齿轮应靠主轴前支承,主轴上有轴向力不能用弹性档圈定位,应改为螺母定位锁紧;中间支承应用向心球轴承或圆柱滚子轴承;主轴后支承两个圆锥滚子轴承应大口朝外;没有考虑密封和润滑。
7.试设计一主轴部件,前支承用两个圆锥滚子轴承承受径向力和双向轴向力,后支承用一个双列圆柱滚子轴承,画出前后支承部分的结构简图。
8.在支承件设计中,支承件应满足那哪些基本要求?
答: 支撑件应满足的下列要求:
1)应具有足够的刚度和较高的刚度-质量比。
2)应具有较好的动态特性,包括较大的位移阻抗(动刚度)和阻尼;整机的低阶频率较高,各阶频率不致引起结构共振;不会因薄壁振动而产生噪声。
3)热稳定性好,热变形对机床加工精度的影响较小。
4)排屑畅通、吊运安全,并具有良好的结构工艺性。
9.支承件常用的材料有哪些?有什麽特点?
答:支承件常用的材料有铸铁、钢板和型钢、大然花岗岩、预应力钢筋混凝土、树脂混凝土等。
(1)铸铁
铸铁铸造性能好、容易获得复杂结构的支承件,同时铸铁的内摩擦力人,阻尼系数大,使振动衰减的件能好,成本低。但铸件需要木模芯盒,制造周期长,有时产生缩孔、气泡等缺陷,成本高,适于成批生产。铸造支承件要进行时效处理,以消除内应力。
(2)钢板焊接结构
用钢板和型钢等焊接支承件,其特点是制造周期短,省去制作木模和铸造工艺:支承件可制成封闭结构,刚性好;便于产品更新和结构改进;钢板焊接支承件固有频率比铸铁高,在刚度要求相同情况下,采用钢焊接支承件可比铸铁支承件壁厚减少一半,重量减轻20%〜30%。钢板焊唼结构的缺点是钢板材料内摩檫阻尼约为铸铁的1/3,抗振性较铸铁差,为提高机床抗振性能,可采用提高阻尼的方法来改善动态性能。
(3)预应力钢筋混凝土
预应力钢筋混凝土主要用于制作不常移动的大型机械的机身、底座、立注等支承件,预应力钢筋混凝土支承件的刚度和阻尼比铸铁大几倍,抗振性好,成本较低。用钢筋混凝土制成支承件时,钢筋的配置对支承件影响较大。一般三个方向都要配置钢筋、总预拉力为120〜150KN。缺点是脆性大,耐腐蚀性差,油渗入导致材质疏松,所以表面芘进行喷漆或喷涂塑料。
(4)天然花岗岩
天然花岗岩性能稳定,精度保持性好,抗振性好、阻尼系数比钢大15倍,耐磨性比铸铁高5〜6倍,导热系数和线胀系数小,热稳定性好,抗氧化性强,不导电,抗磁,与金属不粘合,加工方便,通过研磨和抛光容易得到很高的靖度和表面粗糙度。
(5)树脂混凝土
树脂混凝土特点是:刚度高;具有良好的阻尼性能,阻尼比为灰铸铁的8〜10倍,抗振 性好;热容量大,热传导率低,导热系数只为铸铁的1/25〜1/40,热稳定性高,其构件热变形小;比重为铸铁的1/3,质量轻;可获得良好的几何形状精度,表面精糙度也较低;对切削油、润滑剂、冷却液有极好的耐腐蚀性;与金属粘接力强,可根据不同的结构要求,预埋金属件,使机械加工量减少,降低成本;浇注时无大气污染;生产周期短,工艺流程短;浇注出的床身静刚度比铸铁床身提高16%〜40%。总之它具有刚度高、抗振性好、耐水、耐化学腐蚀和耐热特性。缺点是某些力学性能低,但可以预埋金属或添加加强纤维。对于高速、高效、髙精度加工机床具有广泛的应用前景。
10.根据什么原则选择支承件的截面形状,如何布置支承件上的筋板和筋条?
答:支承件的截面形状的选择原则主要有以下几个方面:
1)无论是方形、圆形或矩形,空心截面的刚度都比实心的大,而且同样的断面形状和相同大小的面积,外形尺寸大而壁薄的截面,比外形尺寸小而壁厚的截面的抗弯刚度和抗扭刚度都高。所以为提高支承件刚度,支承件的截面应是中空形状,尽可能加大截面尺寸,在工艺可能的前提下壁厚尽量薄一些。当然壁厚不能太薄,以免出现薄壁振动。
2〕圆(环)形截面的抗扭刚度比方形好,面抗弯刚度比方形低。因此,以承受弯矩为主的支承件的截面形状应取矩形,并以其髙度方向为受弯方向;以承受扭矩为主的支承件的截面形状应取圆(环)形。
3)封闭截面的刚度远远大于开口截面的刚度,特别是抗扭刚度。设计时应尽可能把支承件的截面作成封闭形状。但是为了排屑和在床身内安装一些机构的需要,有时不能作成全封闭形状。
筋板是指联接支承件四周外壁的内板,它能使支承件外壁的局部载荷传递给其它壁板,从而使整个支承件承受载荷,加强支承件的自身和整体刚度筋板的布置取决于支承件的受力变形方向,其中,水平市置的筋板有助于提高支承件水平面内弯曲刚度;垂直放置的筋板有助 于提高支承件垂直面内的弯曲刚度;而斜向筋板能 同时提高支承件的抗弯和抗扭刚度。
筋条配置于支承件某一内壁上,主要为了减小局部变形和薄壁振动,用来提高支承件的局部刚度。筋条可以纵向、横向和斜向,常常布置成交叉排列,如井字形、米字形等。必须使肋条位于壁板的弯曲平面内,才能有效地烕少壁板的弯曲变形。筋条厚度一般是床身壁厚的3.7〜0.8倍。
11提高支承件结构刚度和动态性能有哪些措施?
(1)提高支承件的静刚度的主要方法有根据支承件受力情况合理地选择支承件的材料、截面形状和尺寸、壁厚,合理地布置肋板和筋条,以提髙结构整体和局部的弯曲刚度和扭转刚度。
(2)提高动态特性的方法主要有改善阻尼特性,对于铸铁支承件,铸件内砂芯不清除,或在支承件中填充型砂或混凝土等阻尼树料,可以起到减振作用。对于焊接支承件、除了可以在内腔中填充混凝土 减振外,还可以充分利用接合面间的摩擦阻尼来减小振动。即两焊接件之间留有贴合而未焊死的表面,在振动过程中,两贴合面之间产生的相对摩擦起阻尼作用,使振动减小。间断焊缝虽使静刚度有所下降,但阻尼比大为增加,使动刚度大幅度增大。在支承件表面采用阻尼涂层,能获得较卨的阻尼比,既提高了抗振性,又提髙了机床对噪声辐射的吸收能力。采用新材料制造支承件如树脂混凝土材料它具有刚性高、抗振性好、热变形小、耐化学腐浊的特点,可以使动刚度提高几倍。
12.导轨设计中应满足那些要求?
答: 异轨应满足精度高、承载能力大、刚度好、摩擦阻力小、运动平稳、精度保持性好、寿命长、结构简单、工艺性好、便于加工、装配、调整和维修、成本低等要求。下面的五个要求允为突出:
(1)导向精度 导向精度是导轨副在空载荷或切削条件下运动时,实际运动轨迹与给定运动轨迹之间的偏差。影响导向精度的因素很多,如导轨的几何精度和接触精度,导轨的结构型式,导轨和支承件的刚度,导轨的油膜厚度和油膜刚度,导轨和支承件的热变形等等。
(2)承载能力大、刚度好 根据导轨承受载荷的性质、方向和大小,合理地选择导轨的截面形状和尺寸,使导轨具有足够的刚度,保证机床的加工精度。
(3)精度保持性好 精度保持性主要是由导轨的耐磨性决定的,常见的磨损形式有磨料(或磨粒)磨损、粘着磨损或咬焊、接触疲劳磨损等。影响耐磨性的因素有导轨材料、载荷状况、摩擦性质、工艺方法、润滑和防护条件等。
(4)低速运动平稳 当动导轨作低速运动或微量进给时,应保证运动始终平稳,不出现爬行现象。影响低速运动平稳性的因素有导轨的结构形式、润滑情况、导轨摩擦面的静、动摩擦系数的差值,以及传动导轨运动的传动系刚度,
(5)结构简单、工艺性好,导轨要求结构简单,易于加工。
13.镶条和压板有什麽作用?
答:导轨间隙常用压板、镶条来调整。压板用来调整辅助导轨面的间隙和承受颠覆力矩。压板用螺钉固定在运动部件上,用配刮、垫片来调整间隙。镶条用来调整矩形导轨和燕尾形导轨的侧向间隙,镶条应放在导轨受力较小侧,常用的镶条有平镶条和斜镶条两种。
14.导轨的卸荷方式有那几种?各有什麽特点?
答: 卸荷导轨用来降低导轨面的压力,减少摩擦阻力,从而提高导轨的耐磨性和低速运动的平稳性,尤其是对大型、重型机床来说,工作台和工件的质鸶很大,导轨面上的摩擦阻力很大,常采用卸荷导轨.
导轨的卸荷方式有机械卸荷、液压卸荷和气压卸荷。
1.机械卸荷
下图是常用的机械卸荷装置.导轨上的一部分载荷由支承在辅助导轨面a上的滚动轴承3承受。卸荷力的大小通过螺钉1和碟形弹簧2调节。卸荷点的数目由动导轨上的载荷和卸荷系数决定。特点:机械卸荷方式的卸荷力不能随外载荷的变化而调节。

2.液压卸荷导轨
将高压油压入工作台导轨上的一串纵向油槽,产生向上的浮力,分担工作台的部分外载, 起到卸荷的作用。如果工作台上工件的质量变化较大,可采用类似静压导轨的节流器调整卸荷压力,如工作台全长上受载不均匀,可用节流器调整各段导轨的卸荷压力,以保证导轨全长保持均匀的接触压力。带节流器的液压卸荷导轨与静压导轨不同之处是后者的上浮力足以 将工作台全部浮起,形成纯流体摩擦;而前者的上浮力不足以将工作台全部浮起,但由于介质的粘度较高,由动压效应产生的干扰较大,难以保持摩擦力基本恒定。
3.自动调节气压卸荷导轨
气压卸荷导轨的基本原理如图所示。

压缩空气进入工作台的气嚢,经导轨面间由表而粗糙度而形成的微小沟槽流人大气,导轨间的气压呈悌形分布,形成一个气垫,产生的上浮力对导轨进行卸荷。气垫的数量根据工作台的长度和刚度而定,长度较短或刚度较高时,气垫数暈可取少些,每个导轨面至少应有两个气垫。
气压卸荷导轨以压缩空气作为介质,无污染,无回收问题;且粘度低,动压效应影响小,但由于气体的可压缩性,气体静压导轨的刚度不如液体静压导轨。为了兼顾精度和阻尼的要求应使摩擦力基本保持恒定,即卸荷应力应随外载荷变化能自动调节出现了自动调节气压卸荷导轨,也称半气浮导轨。自动调节气压卸荷导轨具有自动调节卸荷导轨系统的刚度K1,比无卸荷时的接触刚度K提高了。当外载荷有较大变化时,导轨间的接触力和摩擦力只有微小变化,保证运动平稳、不爬行。
15.提高导轨耐磨性有那些措施?
答:
1)合理选择导轨的材料和热处理
2)导轨的预紧
3)导轨的良好润滑和可靠防护
4)争取无磨损、少磨损、均匀磨损,磨损后能补偿
16.数控机床的刀架和卧式车床的刀架有什麽不同?为什麽?
答:
刀架是机床的重要组成部分,用于加持切削用的刀具,卧式车床刀架只能装四把刀,加上尾架也最多装五把刀。而有些零件加工表面很多,需要更多的刀具才能完成,因而出现了转塔刀具。总体来说卧式车床刀架自动化程度不高,大部分都需要人工转动刀架进行换刀。
数控机床是一种高度自动化的机床,它的刀架一般都采用自动(电气或液压)转位方式。数控车床刀架大体分为排刀式刀架和转塔式刀架两大类。
数控机床的刀架和卧式车床的刀架的不同是由两者完全不同的自动化程度造成的。
17.机床刀架自动换刀装置应满足什麽要求?
答:
⑴满足工艺过程所提出的要求。机床依靠刀具和工件间相对运动形成工件表面,而工件的表面形状和表面位置的不同,要求刀架和刀库上能够布置足够多的刀具,而且能够方便而正确地加工各工件表面,为了实现在工件的一次安装中完成多工序加工,所以要求刀架、刀库可以方便地转位。
⑵在刀架、刀库上要能牢固地安装刀具,在刀架上安装刀具时还应能精确地调整刀具的位置,采用自动交换刀具时,应能保证刀具交换前后都能处于正:确位置。以保证刀具和工件间准确的相对位置。刀架的运动精度将直接反映到被加工工件的几何形状精度和表而粗糙度上,为此,刀架的运动轨迹必须准确,运动应平稳,刀架运转的终点到垮应准确、并且这种精度保持件要好,以便长期保持刀具的正确位置。
⑶刀架、刀库、换刀机械手都应具有足够的刚度。由于刀具的类型、尺寸各异,重量相差很大,刀具在自动转换过程中方向变换较复杂,而且有些刀架还直接承受切削力,考虑到采用新型刀具材料和先进的切削用量,所以刀架刀库和换刀机械手都必须具有足够的刚度.以使切削过程和换刀过程平稳。
⑷可靠性高。由于刀架和自动换刀装置在机床丁作过程中,使用次数很多,而且使用频率也高,所以必须充分重视它的可靠性。
⑸刀架和自动换刀装置是为了提高机床自动化而出现的,因而它的换刀时间应尽可能缩短,以利于提高生产率。
⑹操作方便和安全。刀架是工人经常操作的机床部件之一,因此它的操作是否方便和安全,往往是评价刀架设计好坏的指标。刀架上应便于工人装刀和调刀,切屑流出方向不能朝向工人,而且操作调整刀架的手柄(或手轮)要省力,应尽暈设置在便于操作的地方。
18.何谓端面齿盘定位?有何特点?
答:端面齿盘定位又称端齿盘定位,端齿盘定位由两个相同的端面齿盘相啮合而成,由于啮合时各个齿的误差相互补偿,起着误差均化的作用,定位精度高。
齿盘的齿形角一般有2α等于90°和60°两种。齿盘的齿数z的选择应根据所要求的分度数以及齿盘外径D的大小来确定。一般齿盘外径均在100~800mm之间,且参数z、齿形角α、外径D、定位基准孔径d、重合度均已标准化。
19.加工中心的自动换刀装置包括些什麽?
答:加工中心的自动换刀装置包括刀库和机械手自动换刀装置。
20.加工中心上刀库的类型有哪些?各有何特点?
答:刀库用于存放刀具,它是自动换刀装置中的主要部件之一。根据刀库存放刀具的数目和取刀方式,刀库可设计成不同类型。刀库类型有鼓轮式、链式、格子箱式、直线刀库等。以下介绍几种常见的刀库形式。
(1)直线刀库,刀具在刀库中直线排列,结构简单,存放刀具数量有限(一般8—12把),较少使用。
(2)圆盘刀库。圆盘刀库少则6—8把,多则50—60把有多种形式。特点是制造成本低。主要部件是刀库体及分度盘,只要这两样零件加工精度得到保证即可,运动部件中刀库的分度使用的是非常经典的“马氏机构”,前后、上下运动主要选用气缸。装配调整比较方便,维护简单。一般机床制造厂家都能自制。
(3)链式刀库。链式刀库是较常使用的形式,常用的有单排式刀库和加长链条的链式刀库。链式刀库由一个主动链轮带动装有刀套的链条。
(4)其他刀库如格子箱式刀库。
21.刀库驱动电动机选择的依据有哪些?
答:刀库驱动电动机的选择应同时满足刀库运转时的负载扭矩TF和起动时的加速扭矩T的要求。考虑到实际情况比计算时设定条件复杂,电动机额定扭矩TS应为负载扭矩TF的1.2~1.5倍,即TS>(1.2~1.5)TF。
22.典型换刀机械手有几种?各有何特点及其使用范围。
答:1)单臂单手机械手:这种机械手又分为机械手只做往复直线运动和机械手往复摆动两种。单臂单手机械手的特点是结构较简单,换刀动作均需顺序进行,时间不能重合,故换刀时间较长。
①机械手只做往复直线运动的机械手一般应用于刀具主轴与刀库刀座的轴线平行的场合。
②机械手作往复摆动的机械手又分为机械手摆动轴线与刀具主轴平行和摆动轴线与刀具主轴垂直两种,其应用场合分别对应于刀库换刀位置的刀座轴线与主轴轴线相平行的场合和刀具换刀位置的刀座的轴线与主轴轴线相垂直的场合。
2)回转式单臂双手机械手:这类机械手可以同时抓住和拔、插位于主轴和刀库见间的刀具,与单臂单手式机械手相比,可以缩短换刀时间,应用最广泛,形式也较多。
3)双手式机械手:这种机械手又分为机械手只作往复直线运动和机械手有回转运动两种。机械手只作往复直线运动的双手式机械手的特点是向刀库还回用过的刀具和选取新刀均可在主轴正在加工时进行,故换刀时间可较短,这种机械手还起到运输装置的作用,适用于容量较大的,距主轴较远的、特别是分置式刀库的换刀。
4)多手式机械手:这类机械手的特点是各个机械手顺次使用,这类机械手适用于单主轴机床或者是带双刀库的双主轴转塔机床。